Teknik Motor Samhälle Spel Popkultur Fritid Tjock Tester Dagens fråga Tipsa! Skaffa Feber+
Hetaste
Senaste
Alla Heta Kalla Öppna i ny flik tisdag 19 juli 2011 fortsättning Svenska Pixlr uppköpta av Autodesk Molnbaserade Photoshop-konkurrenten får ny ägare Bildbehandlingstjänsten Pixlr, som vi har skrivit om en hel del gånger sedan starten 2008, meddelade idag att man har blivit uppköpta av amerikanska Autodesk. Förutom huvudprodukten Pixlr, som även finns som Chrome-app, ligger företaget även bakom tjänsten Pixlr-o-matic som kan retrofiera dina bilder liknande Hipstamatic-appen till iPhone. Köparen Autodesk är antagligen mest kända för sin 3D/CAD-programvara Autocad. Köpesumman är än så länge okänd. Tumnagel
37.8°
0
iOS Fixa animerade giffar med Loopcam För animerade giffar kan man väl aldrig få nog av? Gillade ni iPhone-appen GIF Shop som vi skrev om härom dagen men inte tycker den är värd de 15 kronor den kostar släpptes idag gratis-alternativet Loopcam som verkar minst lika bra. Med Loopcam skapar du mycket enkelt gif-animationer med kameran på iPhonen som sedan kan delas ut till Twitter, Facebook eller via epost samt MMS. Det går även att ladda upp sina kreationer till Loopcams hemsida så att alla kan se dem. Loopcam är utvecklad av svenska Appster och hämtas hem gratis under en begränsad period på länken nedan. Tumnagel
37.4°
0
Google+ för iPhone är här! Nu kan du plussa på iPhonen med Sen Google+ lanserades i slutet av juni har de flesta efterfrågat en app för att "plussa" på iPhonen och nu har Apple godkänt Google+-appen och den finns att ladda ner från AppStore. Förutom att sköta de sakerna som du brukar göra på Google+ kan du nu även starta en så kallad "huddle" för att snabbt kunna chatta med dina kontakter. Google+ är gratis och laddas hem via AppStore på länken nedan. Om ni är sugna på att testa Google+ men saknar inbjudan så kan säkert någon av Feber-läsarna som redan är inne fixa det om ni ber om inbjudan i kommentarerna. Sedan tidigare finns det en Google+-app till Android, den hittar du här. Tumnagel
41.1°
0
Roliga sittpuffar Woouf har en hel massa härlig sittpuffar som jag gärna skulle ligga och slöa på. Eller vad sägs om en elorgel, kamera eller varför inte en gigantisk hamburgare? Jag tackar ja till alla tre! Tumnagel
37.9°
0
Radeon HD 7000 blir kompatibelt med PCIe 3.0 Dock inte säkert om korten behöver så mycket bandbredd Vi har redan sett att några moderkortstillverkare tänker släppa moderkort med PCI Express 3.0 redan nu men det kommer dröja ett tag innan grafikkort som använder gränssnittet kommer släppas på marknaden. Det sägs dock att AMDs nästa generation av grafikkort, Radeon HD 7000-serien, kommer vara kompatibla med PCIe 3.0, men ska också att vara bakåtkompatibla med de tidigare specifikationerna. PCI Express 3.0 fördubblar bandbredden jämfört med den tidigare generationen till 1 GB/s per länk och riktning vilket gör att ett grafikkort kopplat via en PCIe 3.0 x16-port totalt kan få 32 GB/s i bandbredd, vilkwr alltså är 16 GB/s i varje riktning. Om AMDs nästa generation av grafikkort, vilka går under kodnamnet Southern Islands, verkligen behöver den bandbredden eller om AMD bara försöker att hålla sig till de nya standarderna är svårt att säga, men många av dagens grafikkort maxar i alla fall inte ut PCIe 2.0-gränssnittet. Tumnagel
37.2°
0
Arkham City-specialutgåvan officiell nu Massa godis för den sugne Typ igår läckte det ut info om vad specialutgåvan till Batman: Arkham City skulle innehålla, och idag offentliggjorde Warner den med bild och allt. Utgåvan innehåller förutom spelet en Batman-statyett, en bok med konst från spelet, spelets soundtrack och den animerade DC Universe-filmen Batman: Gotham Knight. Köpare av specialutgåvan får också tidigare tillgång till challenge-kartan Iceberg Lounge samt ett skin från Batman: The Dark Knight Returns. Specialutgåvan släpps till samma plattformar som den vanliga (PC/PS3/Xbox 360) på samma dag mot slutet av oktober. Tumnagel
38.5°
0
Trädgårdsvyn från 40mm Extremt närgången film på slemmig snigel Detta må inte vara det vanligaste filmformatet men lite coolt var det. James Miller kom på idén att ta sin Sony NEX-FS100, slänga på ett Sigma 50mm Macro och från 40mm filma vad som pågick på marken i sin trädgård. Resultatet? Jo, en slemmig snigel. Tumnagel
39.2°
0
Producenter bakom "24" och "Arkiv X" gör robotfilm James Wong och Howard Gordon samarbetar på ett nytt projekt "2084" ska utvecklas både till en långfilm och en serie ungdomsböcker och handlingen utspelas på 2100-talet när robotar, som skapats för att hjälpa människor och förhindra krig, tagit över världen och styr samhället. "Final Destination"-regissören Wong, som även var en av producenterna bakom "Arkiv X", och Gordon ("24") ligger bakom idén, kommer vara exekutiva producenter på filmen och även jobba på böckerna, skriver The Hollywood Reporter. Tumnagel
38.7°
0
Posingtips för bröllop- och porträttfotografer 50 gratistips eller 500 stycken för 160 kronor Om du håller på med porträtt- eller bröllopsfoto så finns det massor av böcker som kan lära ut hur du posar personerna i bild. Är du dock lite snål så finns det förstås massor av gratisalternativ, en intressant artikel är denna. På länken nedan kommer ni till en e-bok med 50 stycken bröllopsbilder tillsammans med kommentarer om poseringen i dem. Boken är helt gratis att ladda ned då den är reklam för att du ska köpa den större versionen som innehåller 500 foton för cirka 160 kronor. Tumnagel
37.4°
0
Goldeneye till Playstation 3 och Xbox 360 Uppdaterad klassiker snart i HD I någon månad nu har det gått rykten om att en HD-version av Wii-utgåvan av Goldeneye 007 var på väg till Playstation 3 och Xbox 360. I dag dök det upp ett gäng bilder från spelet som med all sannolikhet kommer heta Goldeneye Reloaded och släppas under hösten. Tumnagel
40.2°
0
EA sluter avtal med Manchester City Vem tar vem? EA Sports meddelar att de slutit avtal med Premier League-klubben Manchester City och lovar nu en rad exklusiva Man City-grejer framöver. Först och främst har hela Citys lag genomgått huvudskanningar, som EA lovar kommer ge de mest realistiska ansiktena som någonsin skådats i FIFA-serien. Nyheten finns med redan i FIFA 12. Vidare ska EA få producera Manchester City-prylar, som sedan ska säljas av både klubben och EA. På Citys hemmaarena, Etihad Stadium, ska också ett antal spelområden installeras, där man kan gissa att det främst kommer att liras EA-spel. Och så har vi det vanliga ryggdunket, först från EA:s Nick Harford: We are delighted to be entering into a dynamic new partnership with Manchester City. Through this agreement, EA Sports will invest in the creation of bespoke content and experiences that bring Manchester City fans across the globe closer to the team they love. Och såhär säger Citys Ian Cafferky: EA Sportsx27 reputation is unparalleled, both within the video game industry and around the world. The fact that a company of EA Sports calibre has joined our stable of valued partners, shows a clear indication of the Club?s growth and appeal to a global audience. Many of our supporters, not to mention first team players are huge fans of FIFA. The deal with EA Sports was therefore a natural fit and the beginning of what I know will be an exciting partnership. Manchester City har ett enormt kapital i ryggen och behöver väl inte några jättesummor från EA direkt, så det lutar väl åt att EA får pengar av klubben för den här dealen. Samtidigt är den "sportsliga" vinsten för EA nog begränsad här, för alla fotbollsfans som spelar FIFA och inte håller på Manchester City, vilket jag skulle säga är en klar majoritet, ser nog på den här nyheten med lagom blida ögon - varför skulle inte deras lag få samma spelmässiga behandling, liksom? FIFA 12 släpps i månadsskiftet september/oktober. Tumnagel
35.9°
0
Roliga grattiskort av Melissa Rachel Black Är du på jakt efter lite hräliga handgjord gratulationskort är det läge att spana in de handgjorda korten av Melissa Rachel Black. De säljs på Etsy och givetvis kan man ju bara låta sig inspireras och klippa och klistra på egen hand. Tumnagel
37.7°
0
Specifikationer för SATA 3.1 ute Ger en del förbättringar för bland annat TRIM Serial ATA International Organization, eller SATA-IO, är den grupp som ligger bakom utvecklingen och specifikationerna av SATA-standarden. Under gårdagen tillkännagav gruppen att specifikationerna för SATA 3.1 nu finns tillgängliga för nedladdning. Specifikationerna för SATA 3.1 innehåller en del nyheter men de två stora är effektivare strömhantering och bättre prestanda för TRIM till SSDs. Nedan följer en lista från SATA-IOs pressmeddelande: mSATA ? SATA for mobile computing devices, now with enhanced auto detection to provide increased interoperability by eliminating the need for a dedicated mSATA connector Zero-Power Optical Disk Drive (ODD) ? eliminates the power consumption of an idle SATA ODD, resulting in increased energy savings Required Link Power Management ? drives energy efficient power management across all SATA devices, reducing overall system power demand Queued Trim Command ? allows SATA SSDs to execute Trim without impacting normal operation, improving SSD performance Hardware Control Features ? enable host identification of device capabilities, allowing hosts to make more effective use of SATA devices Förutom detta så innehåller specifikationerna också de färdiga designkraven för SATA Universal Storage Module, eller USM, vilket är en standard för utbytbara SATA-enheter som passar i till exempel TV-apparater, konsoler och PC-datorer. Seagate har redan en produkt, GoFlex, som har stöd i USM som tillkännagavs under januari månad i år. Thermaltakes V9 BlacX Flex Edition utnyttjar också den nya standarden. Tumnagel
37.2°
0
Simpel ljussättning med snyggt resultat En blixt rakt på Jag gillar enkel ljussättning och tro det eller ej även blixt rakt på, som att placera blixten i hotshoen. Ett tips är att ta en titt på Terry Richardson men annars kan jag rekommendera denna video som visar att man kan göra snygga bilder med en blixt. I princip alla bilder är tagna med en blixt med reflektor strax ovanför kameran. Tumnagel
36.3°
0
Lenovo slänger ut dator ur flygplan Ny reklam ska visa hur snabbt datorn startar Lenovo kanske inte är det hippaste eller coolaste datormärket men den senaste reklamen de gjorde är minst sagt häftig. Deras nya datoror ThinkPad T420s och IdeaPad Y570 har något Lenovo kallar Rapidboot som gör att de startar upp på tio sekunder vilket får anses vara riktigt snabbt. Sedan är ju frågan hur många gånger man faktiskt stänger av sin dator istället för att låta den sova litegrann. För att visa att datorn startar så snabbt valde man att slänga ut den från ett flygplan. Om datorn startar på tio sekunder så öppnades dvd-läsaren och utlöste en fallskärm så att datorn "klarade" sig. De har dessutom gjort en bakomfilm vilket är väldigt populärt just nu, den hittar ni efter hoppet och ja, de slänger ut den på riktigt. Tumnagel
40.6°
0
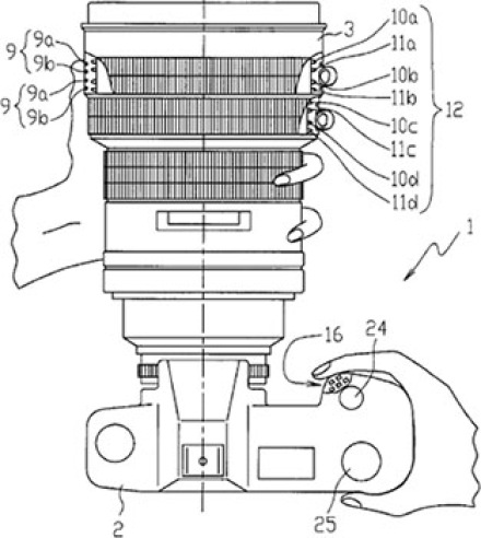
Patent Kameran som känner vad du känner Och sedan tar beslut åt dig Detta må vara ett av de sjukaste kamerapatenten på länge, en kamera som reagerar på din puls med mera. Det är Nikon som fått för sig att det är en bra idé att låta en kamera känna av ditt blodtryck, kroppsvärme och annat galet för att låta kameran ta beslut åt dig. Exempelvis kanske den känner att du är lite nervös och ger dig därför snabbare slutartid för att undvika skak. Om du plåtar sport eller liknande så kanske kameran kan känna av att kroppen reagerar på något och därför ta en bild snabbare än vad dina reflexer kan. Själv har jag hellre den här funktionen i min mobil som då skulle stänga av Facebook, Twitter med mera om den kände att man var onykter. Chansen (eller ska vi säga risken?) att detta patent blir en riktig produkt är nog inte så stor. Tumnagel
36.8°
0
Mercedes nya vindtunnel är riktigt cool Men samtidigt riktigt het I tyska Sindelfingen har Mercedes upprättat en helt ny vindtunnel som ska pina deras modeller. Här kan både kyla och hetta simuleras, och även regn och snöstormar. Allt för att kunna förbereda kärrorna på vad som väntar där ute. Anläggningen ska samsas med riktiga vägtest, eftersom Mercedes inte helt och hållet vill sluta testa bilarna ute på vanliga vägar. Två stycken vindtunnlar står redo att blåsa skiten ur bilarna och dessa har tagit två år att utveckla. I den ena kan det bli så kallt som minus 40 grader, och så varmt som plus 40 grader. Här körs även tropiska regn- och snöstormar. I tunnel nummer två kan det bli ner till tio minus och upp till hela 60 plus. Båda kan ställas in och programmeras för att skapa vindhastigheter på upp till 265 km/h. Mäktigt. Tumnagel
41.3°
0
Den här iPhonen klarade ett fall på 4 100 meter Snacka om hårdvara 37-årige Jarrod McKinney tappade sin iPhone 4 när han hoppade fallskärm. Fallet på över 4 000 meter krossade givetvis glaset på telefonen, men innanmätet klarade sig och telefonen lever. Imponerande. Telefonen hittades ungefär en kilometer från var Jarrod landade med fallskärmen. Den hade landat uppepå ett hus och hittades genom en GPS-spårningsapp. När han visade upp den sönderslagna telefonen för sina hoppkompisar och instruktören började den vibrera, och det enda som behövde bytas var fram och baksidan. Tumnagel
40.0°
0
Minidokumentär om Halo: Anniversary Och mycket Halo på PAX nästa månad I augusti är det inte bara dags för Gamescom, Europas stolthet på spelmässesidan, utan även för amerikanska PAX Prime 2011, med spelutvecklarnas PAX Dev 2011 dagarna före. 343 Industries har nu gett ut en minidokumentär om "utvecklingen" Halo: Anniversary, alltså uppfräschningen av Halo: Combat Evolved, och i den nämner studions boss att det blir mycket Halo på PAX: At PAX this August, we have Halofest, where you?ll hear more about Halo 4 and you?ll get hands-on play with Halo Anniversary, both campaign and multiplayer. Halo: Anniversary-dokumentären ses här ovanför. Tumnagel
37.0°
0
Fiennes regisserar film om Dickens Oscarsnominerade Ralph Fiennes ställer sig bakom kameran för andra gången Filmen bygger på Claire Tomalins verklighetsbaserade bästsäljare och kretsar kring den berömde författarens 13-åriga romans med Ellen Ternan, mer känd som Nelly. På listan över möjliga skådespelerskor finns Imogen Poots, Abbie Cornish och Felicity Jones, rapporterar Daily Mail. Även Carey Mulligan har varit påtänkt men kan ha svårigheter med tillgänglighet då hon ska spela in "The Great Gatsby" i Australien och Finnes planerar att filma nästa vår eller sommar. Rykten har sagt att Fiennes tänkt spela Dickens själv men skådespelaren kommer hålla sig bakom kameran i filmen som blir hans andra som regissör efter årets "Coriolanus". Nu är frågan vem som får äran att porträttera Dickens istället. Vem skulle du gärna se i rollen? Tumnagel
37.1°
0
EmbedPlus ger dig mer kontroll över dina YouTube-klipp Styr till exempel själv vilka delar i ett klipp du vill visa EmbedPlus ger dig total kontroll över dina videoklipp på YouTube. Du styr själv över hur besökare till din sajt eller blogg ska kunna se på videon, och vilka delar de till exempel inte får se. Du klistrar helt enkelt in din videos URL på EmbedPlus hemsida, sen bestämmer du var videon ska starta och stoppa. Du kan även lägga till olika scenmarkeringar, så att den som tittar snabbt kan hoppa till ett specifikt stället i klippet, ungefär som olika kapitel. Du kan även lägga till kommentarer på utvalda ställen. Den som tittar kan även välja att zooma, panorera och titta i slow motion. Tyvärr går det inte att ångra något man gjort när man väl har gjort sina ändringar och bäddat in filmen, då får man börja om igen. Några av dessa grejer kan man redan göra genom YouTube idag, som att lägga till kommentarer och möjligheten att hoppa till andra filmer genom klippet, men EmbedPlus erbjuder alltså lite mer. Och det hela sker direkt i webbläsaren, du behöver inte ladda hem ett skvatt. Tumnagel
37.4°
0
Gremlin är tillbaka Ian Stewart bestämde sig för att återuppliva den klassiska spelutvecklaren Grundaren av den klassiska spelutvecklaren Gremlin Graphics, Ian Stewart, hjälper studenter att återuppliva Gremlin-klassikern Zool som en Playstation Mini. Tydligen hittade Ian tillbaka suget för klassisk spelutveckling då han bestämde sig för att återuppliva Gremlin-namnet för utveckling av diverse iOS-projekt. Stewarts bolag, Urbanscan, kommer framöver att släppa en rad klassiska spel under Gremlin Presents-namnet där det första är Bounderx27s World för iPhone och iPad som beräknas att släppas under årets tredje kvartal. Spelet baseras på C64-klassikern Bounder som gick ut på att man som boll studsade sig fram scrollande banor. Andra klassiska Gremlin-spel från denna tid är Jack The Nipper, Monty Mole, Zool, Bounder, Thing On A Spring, Supercars, Lotus Esprit Turbo Challenge, Switchblade och Trailblazer. Tumnagel
38.4°
0
Ny trailer för Asura's Wrath Med gameplay denna gång Capcom har släppt en ny trailer för sitt kommande actionspel Asura?s Wrath. Trailern är inte lika tokig som föregående trailers men till skillnad från dessa så visar man upp mer gameplay från spelet denna gång. Tumnagel
37.3°
0
Släppmånad för Final Fantasy XIII-2 Januari 2012 Nyligen bekräftade Square Enix att de kommer släppa Final Fantasy XIII-2, i Nordamerika, under januari månad nästa år. "FINAL FANTASY XIII-2 is slated for a January 2012 release for North America. Be excited!" Som vanligt så glömde man nämna Europa i denna diskussion men förhoppningsvis hamnar det här runt samma tidpunkt. Tumnagel
37.4°
0
F1-bilar kan få huvar som skyddar föraren FIA testar för fullt Alla minns vi nog när F1-föraren Felipe Massa undkom döden med en hårsmån förra året när en fjäder kom studsandes och träffade honom i huvudet under ett lopp. Detta inträffade bara en vecka efter att 18-årige Henry Surtees dog efter att ha blivit träffad i huvudet av ett däck som kom farandes. Förarnas skydd måste bli bättre, och det är lösningen på det problemet vi får se tester på i det här klippet. Istället för ingen eller en väldigt liten vindruta som förarna har idag, skulle en huv likt den stridsflygplan kunna fungera. Den ger fortfarande bra sikt runt om, samtidigt som den skyddar föraren grymt bra. FIA testar här huvar som man skulle kunna montera på F1-bilarna, och skillnaden i skydd är mycket stor. Nu måste de bara lösa problemet med att man som förare snabbt ska kunna ta sig ur bilen också, ifall det skulle inträffa en brand eller liknande. Tumnagel
38.8°
0
Salta och peppra med Star Trek-skepp Ja, det är okej att leka med maten När du har laddat hem den här appen till iPad som tar dig in i Star Treks värld och sitter där vid köksbordet kanske du blir hungrig. Som tur är finns då dessa salt- och pepparkar i samma nördstil som du kan krydda din mat med. Karen ser ut som rymdskytteln och det stora moderskeppet Enterprise NCC-1701, kostar 12,99 dollar och hittas efter hoppet. Tumnagel
37.3°
0
Robotband spelar Marilyn Mansons "The Beautiful People" Who needs people anyway? Säga vad man vill om Marilyn Manson, men hans låt "The Beautiful People" rockar fortfarande ganska hårt. Och den rockar nästan lika hårt även när ingen människa spelar den, utan ett robotband. End of Life heter gruppen som består av en cello, en elgitarr, trummor och en flatbäddsscanner. Skön kombo, som faktiskt inte låter helt illa. Jag ser redan fram emot nästa cover. Tumnagel
40.7°
0
Vilken färg har tårta? Det får du reda på på den här sajten Den här sajten försöker definera färgen på allting. Genom att blanda och samla ihop bilddata från Flickr skapar den en bild utav det sökordet du skriver in. Den färgen har alltså det du har sökt efter. Vilken färg har till exempel Feber? Det ser ni här under. Så, testa själva nu. Tumnagel
37.7°
0
Acer släpper Aspire 5755 Kommer med WiDi Acer lanserade nyligen en ny Aspire modell, 5755, som kommer med en intressant ny funktion man inte hittar så ofta i en bärbar dator, nämligen WiDi. Aspire 5755 är en bärbar dator med en skärmstorlek av 15,6" och skärmen har en upplösning av 1366x768 pixlar. Med WiDi i datorn så blir det enkelt att koppla in en extern skärm, till exempel en TV eller en projektor för att titta på film då man inte behöver dra några kablar. Tittar vi på hårdvaran i datorn så sitter det en av Intels senaste Core-processorer, upp till Core i7-2820QM, och upp till 8 GB DDR3 RAM samt en hårddisk på maximalt 1 TB inuti. Aspire 5755 är också utrustad med Nvidias Optimus-teknologi som kopplats samman med GeForce GT 540M. Priset ska ligga på omkring 899 brittiska pund och det verkar också som att Aspire 5755 endast finns tillgängligt i England just nu. Tumnagel
36.8°
0
Fiskar som äter fiskar Fiskar gillar fiskar Några fiskar äter andra fiskar i 1 000 bildrutor per sekund. Fler fiskar som gillar fiskar under "Läs mer". Tumnagel
38.2°
0
"Anger Management" blir TV-serie - med Sheen! Golden Globe-vinnaren Charlie Sheen har hittat nästa sitcom efter skandalbaserade avskedan från "2½ män". Sheen sparkades efter åtta säsonger av den populära TV-serien efter den omtalade skandalfesten med porrskådespelerskor. Nu har han gått vidare med huvudrollen som en man med hett temperament i en ny serie som bygger på succékomedin från 2003 med Adam Sandler och Jack Nicholson, skriver Deadline Hollywood. Tumnagel
39.8°
0
Rebecca Blacks nya singel är här! Kommer även denna att bli en dunderbrakmegahit? Rebecca Black har fått ta mycket skit. När hon gav lite pengar till Arc Music Factory som skulle förverkliga hennes dröm om en egen låt med tillhörande musikvideo kunde hon nog aldrig ana uppståndelsen som skulle bli. Hon har blivit dödshotad, hyllad, sågad, spelad, trakasserad, hånad och allt annat man kan bli för hennes superhit "Friday" som spreds som en löpeld på YouTube. Nu har hon släppt en ny singel, som heter "My Moment". Och här har man tonat ned det överdrivna användandet av autotune som helt och hållet dränkte Rebeccas röst i låten "Friday". Denna låt låter faktiskt helt okej, och hon kan till och med sjunga. Att inte Arc Music Factory är inblandad i denna låt märks tydligt. Kommer säkert bli en sommarhit, men den kommer nog aldrig att nå upp till siffrorna "Friday" kammade hem. Det krävs att en låt är sämre än såhär för det nämligen. Gillar ni inte denna kan ni alltid kolla in den här lite roliga parodin på hennes första låt. Tumnagel
32.9°
0
Väggförvaring Giralot av Stefano Bettio Giralot av Stefano Bettio är en bra väggförvaring för den som vill kunna ändra uttrycket i rummet genom att antingen "stänga" alla lådor eller öppna upp för att exponera vad man förvarar i dem och då kan de ju även funka som en typ av hylla. Giralot finns i flera storlekar och färger så det är bara att välja och vraka och jag antar att man får ljumma på kreditkortet ett smula för att få pryda hemmet med dessa. Tumnagel
37.4°
0
Olympus fortsätter hata din mobil Nytt reklamcitat Jag lade för någon dag sedan upp en bild på vad som är Olympus Australiens senaste reklamkampanj. Den löd så här: "If your camera also sends text messages, that will explain why your photos are rubbish" - getarealcamera.com Olympus fortsätter att spotta på din mobilkamera och en av de andra plakaten ser ni här på bilden. Jag tycker fler borde fotografera med något annat än sin mobil men som man säger, den bästa kameran är den man har med sig. Men jag måste också säga att jag älskar Olympus reklamer, de uppmärksammas ju. Tumnagel
39.7°
0
En miljard människor har besökt Apples butiker Idag finns det 330 butiker, men fler är på gång I maj 2001 öppnade Apple sin första fysiska butik i Washington DC. Sen dess har över en miljard människor vandrat in och ut genom butikernas dörrar världen över. Och det finns stora planer på att öppna fler. Apple själva säger att det är servicen de erbjuder sina kunder som ligger bakom succén. Responsen från kunderna har varit stor, över en miljon skrev upp sig för Apples Personal Setup enbart förra kvartalet. Idag finns det totalt 330 stycken butiker världen över. En siffra som de hoppas ha ökat till 363 innan slutet på räkenskapsåret, vilket är den 25 september. Hurtigt värre, eftersom det innebär att de i så fall måste öppna en ny butik var tredje dag. Tumnagel
37.7°
0
Bentley ska bygga SUV Bekräftat av Bentleychefen själv SUV-rykten går bland de flesta biltillverkare som inte gett sig in på det än, men dagens sanning är faktiskt att Bentley ska bygga en vagn utav just detta slag. Det har nämligen Bentleychefen Wolfgang Dürheimer sagt själv. Modellen ska inte helt oväntat sikta in sig på den europeiska, amerikanska och kinesiska marknaden. Under det typiska Bentley-utseendet kommer det högst troligtvis att finnas mycket prylar från koncernsyskonen Audi Q7, Volkswagen Touareg och Porsche Cayenne. När bilen ska komma är än så länge oklart. Rykten säger att den kan få namnet "Cross Continental". Till höger ser vi faktiskt en Bentley-SUV. Dominator som den heter, specialbyggdes för sultanen av Brunei på 90-talet. Egentligen en förklädd Range Rover. Tumnagel
37.0°
0
Rykte Fler rykten om Retina-iPad Både Samsung och LG testar skärmar för tillfället Det senaste av alla Apple-rykten är att både Samsung och LG för tillfället kvalitetstestar den omtalade retina-skärmen för iPad. Precis som tidigare ryktas det om en skärm med dubbla upplösningen av dagens, det vill säga 2048 x 1536 pixlar. Den senaste källan till ryktet är "The Korea Times" som säger säg ha källor med koll på Apples snack med både Samsung och LG. Nu har detta ryktats sedan Apple släppte iPhone 4, vad tror ni egentligen, kommer vi att få se en retina-iPad vid nästa iPad-lansering? Tumnagel
38.6°
0
Saints Row 3-trailer dissekerad En utvecklare berättar E3-trailern för Saints Row the Third var också den första riktiga trailer vi fick se, även om den saknade gameplay. Nu har THQ lagt upp en video där spelets "lead writer" Steve Jaros kommenterar vad det egentligen är för grejer vi får se i trailern, och vad vi kan tänkas ha missat. Tumnagel
37.4°
0
"Mentalist"-stjärna i "Captain America" Medan premiären av den efterlängtade superhjältefilmen närmar sig så har det kommit fram att Amanda Righetti har en roll. Righetti kommer att liksom Samuel L. Jackson, Jeremy Renner, Scarlett Johansson och Cobie Smulders spela en av agenterna i hemliga organisationen S.H.I.E.L.D., rapporterar The Daily Blam. Även om det är okänt vilken karaktär hon kommer porträttera så ryktas det vara antingen Carol Danvers, mer känd som superhjältinnan Ms. Marvel, eller Sharon Carter, systerdotter till huvudkaraktären Steve Rogers (Chris Evans) kärleksintresse Peggy (Hayley Atwell). Tumnagel
37.0°
0
iOS Skjut ner onda bollar i Ball Invasion for iPad2 Ut ur spelet och in i verkligheten Nystartade svenska 13th Lab har glömt sina onda bollar hemma i mitt vardagsrum. Dom svävar just nu ovanför min dator och jag måste skjuta ner dom med min iPad. Som ni förstår handlar det om ett Augmented Reality-spel och bollarna finns inte. Tror jag. Ball Invasion utnyttjar en teknik som kallas SLAM (Simultaneous Localization and Mapping), en teknik som bygger en modell av världen med hjälp av kameran samt positionerar sig extremt exakt i denna modell. Detta innebär att du kan skapa ett spelfält nästan var som helst hemma. Ganska coolt! Ett spelfält behöver dock lite referenspunkter så att rikta iPadens kamera emot en vit vägg är ingen bra idé. Bättre om det sitter en psykedelisk poster på den eller varför inte, som i mitt fall, ett lite stökigt bord med en uppfälld bärbar dator på. Nu är inte Ball Invasion bara en teknikdemo utan faktiskt ett riktigt spel. Det finns utmaningar i sju nivåer med fyra banor i varje där du på tid och med ett begränsat antal skott skall pricka de onda bollarna i spelfältet. Detta är ganska klurigt och spelet räcker ett bra tag. Lite intryck: - Om SLAM detekterat en yta framför dig kommer bollarna studsa på denna tillbaks in i spelfältet. Du kommer att behöva studsa bollar. - Ge inte upp att skapa ett spelfält för ibland kan det bli helt fel. Gör då bara om tills du får något du blir nöjd med. Spelfältet behålls sedan under sessionen. - Vissa bollar i spelfältets utkanter kan ibland behöva "lobbas" bort. Sikta mao lite ovanför. Kanske mitt spelfält som inte är optimalt. - Spelet har kraschat några gånger i uppstart men egentligen inget jag stört mig på då det funkat bra andra gången jag provat. Ball Invasion är enbart till iPad 2 för det kräver den kräm A5ans kan ge. Det kostar just nu 15kr och kan laddas hem här. Tumnagel
37.3°
0
Gametrailers förhandstittar på Deus Ex Mänsklig revolution Gametrailers har satt ihop ännu en trevlig förhandstitt, den här gången på Deus Ex: Human Revolution, som släpps om en dryg månad till PC, PS3, och Xbox 360. Tumnagel
37.4°
0
Hotell för musikälskare i Berlin Inredning av Karim Rashid Hotellet nhow i Berlin profilerar sig som hotellet för musikälskare då de har inspelningsstudio för de som önskar. Är man en vanlig dödlig som jag kan man bara lätta runt bland inredningen av Karim Rashid och njuta av en massa konserter eller bara gunga till någon kreddad DJ som spelar i baren. Tydligen så har man tillgång till cirka 30 tv-stationer och 50 radio-stationer om man nu bara vill chilla på hotellrummet. Adress: Stralauer Allee 3, 10245 Berlin Tumnagel
38.1°
0
Costner skurk i "Django Unchained" Oscarsvinnaren Kevin Costner kan komma att spela en för honom annorlunda roll i Quentin Tarantinos kommande spaghettivästern. Som vanligt har Tarantino inga problem med att få ihop en intressant ensemble till sin Sergio Leone-inspirerade film som redan har Jamie Foxx, Christoph Waltz, Samuel L. Jackson och Leonardo DiCaprio spikade. Nu förhandlar Costner, vanligtvis rollsatt som hjälte, om rollen som Ace Woody, en sadistisk slavtränare som tvingar de manliga slavarna att slåss mot varandra och de kvinnliga att prostituera sig, rapporterar Deadline New York. Rollen sägs vara av den grymmare sorten, likt Waltz nazist i "Inglourious Basterds", och har inga samvetskval när det gäller att bruka våld och döda de slavar som inte sköter sig. De som tvekar till Costners mörka sida bör kolla in honom som psykotisk seriemördare i "Mr. Brooks". Tumnagel
37.6°
0
Polis som är grym på hoj Grand Prairie Police Motorcycle Rodeo En tävling där man skall köra en bana så fort som möjligt på amerikansk polishoj. I detta åk åker en person som verkar ha riktigt grym kontroll på sin motorcykel. Tumnagel
45.8°
0
Kvinna säljer målarsvamp "Oh my gosh!" Det finns många fina grejer att köpa från TV. Men oftast är själva säljprogrammen mer underhållande än produkten. Här har vi ett sådant exempel där en entusiastisk kvinna försöker sälja målarsvampar till folket. Allt är uppenbarligen ihop-klippt för att öka humorfaktorn en aning. Tumnagel
41.1°
0
iOS I Blobster rensar du Blobtopia och besegrar Blobzilla B L O B! Svenska independentutvecklarna Divine Robot har via Chillingo släppt ett spel som säljer rätt bra just nu - Blobster. Här är du en "Blob" med ett jobb. Blobtopia har nämligen översvämmats av små radioaktiva blobbar och du måste, som den hjälteblob du är, rädda världen. Din elastiska blob styr du igenom att dra den så den hoppar åt ett håll eller så rör du skärmen för vandra höger eller vänster. Banorna är fyllda med skön plattformsunderhållning och du kan med hjälpa av powerups bli osynlig, hoppa sjukt högt eller simma under vatten. Blobster innehåller 40 banor spridda över 4 världar samt ett antal gömda bonusbanor och upplåsningsbara grejor. Blobster kostar 7 kronor för iPhone och iPod, 15 kronor för iPad-version. Tumnagel
37.0°
0
LulzSec hackade The Sun Sa att Rupert Murdoch var död Ingen har väl missat härvan med telefonavlyssnings-skandalen kring den brittiska tidningen News of the World (NOTW) som pågått ett tag och nu verkar hacker-gruppen LulzSec gett sig på en av de andra tidningarna som har samma ägare som NOTW. Det var igår kväll som LulzSec hackade den brittiska tidningen The Sun, som precis som NOTW ägs av mediemagnaten Rupert Murdochs företag News Corp. Efter att ha fått access till The Suns system så publicerade LulzSec nyheten nedan som förklarade att att Rupert Murdoch hade dött. Tumnagel
41.2°
0
Watson blir del Toros Skönhet Oscarsnominerade filmskaparen Guillermo del Toro kan göra klassisk kärleksfilm med Harry Potter-stjärnan Emma Watson. Förväntningarna är stora på den unga, brittiska skådespelerskan efter att hon tårögd sagt farväl till den populära filmserien med "Harry Potter och dödsrelikerna: Del 2". Nu verkar mexikanske del Toro uppmärksammat hennes talang då "Crazy, Stupid, Love"-aktuella producenten Denise Di Novi avslöjade att regissören har en ny version av "Skönheten och Odjuret" på G med Watson i ena titelrollen, skriver ComingSoon. Tumnagel
39.3°
0
Nokias första WP7-lur filmad Seems legit I juni visade Nokias vd Stephen Elop deras första Windows Phone-prototyp, "Sea Ray", på ett internt möte. Nu har det dykt upp en video på vad som borde vara den riktiga telefonen där en person visar lite olika funktioner. Telefonen kör den senaste versionen av Mango (Windows Phone 7.5) och påminner en hel del till utseendet om Nokia N9, som kör Meego. Debuten tros ske i samband med en del andra släpp från Nokia i oktober, på Nokia World. Tumnagel
39.3°
0
BMW drar igång produktionen av eldrivna 1-serie För tre år sedan fanns den bara på papper BMW släpper nu en video som markerar starten på produktionen av den elektrifierade 1-serien, Active E. Det officiella leasingpriset blir 499 dollar i månaden i 24 månader, med en deposition på 2 250 dollar när man skrivet på kontraktet. Nu i sommar ska man kunna börja reservera en bil, men något exakt datum för detta har inte BMW gått ut med än. Elbilen klarar 16 mil på en laddning och tar sig från 0 till 100 km/h på strax under nio sekunder. Tumnagel
39.9°
0
Mega Man Legends 3 läggs ner Där ser man Mega Man-fans jublade när Capcom tillkännagav att de jobbade på ett nytt spel i Mega Man Legends-serien. Projektet verkade lite rörigt då man lät fansen vara med och bestämma saker o ting samt att Mega Man-pappan, Keiji Inafune, lämnade Capcom förra året vilket säkerligen skapade ännu mer förvirring i projektet. En liten försmak av spelet skulle släppas i samband med eShop-lanseringen till Nintendo 3DS men det dök aldrig upp. Nu har Capcom bekräftat att man skrotat spelet helt och hållet vilket är lite tråkigt då jag gärna hade velat se ett nytt spel i just denna Mega Man-serie. Tumnagel
36.9°
0
Systemuppdatering till Xbox 360 idag I väntan på mer spännande grejer Major Nelson rapporterar att en uppdatering till din Xbox 360 rullas ut under dagen. Tyvärr innehåller den här uppdateringen inget nytt för oss användare, utan är förberedande för vad som komma skall. Såhär skriver Nelson: This update is preparation for additional system enhancements coming to Xbox 360 later this year. Ja, sätt fart och ge oss molnsparande nu! Tumnagel
38.2°
0
Speltoppen för juni Sims on top Här är svenska speltoppen för juni. 1.Sims 3: Generations (PC) 2.LA. Noire (PS3) 3.LA. Noire (360) 4.FIFA 11 (PS3) 5.FIFA 11 (360) 6.Legend of Zelda: Ocarina of Time 3D (3DS) 7.Infamous 2 (PS3) 8.Duke Nukem Forever (PC) 9.The Sims 3 (PC) 10.New Super Mario Bros (DS) 11.Duke Nukem Forever (360) 12.Duke Nukem Forever (PS3) 13.Lego Pirates of the Caribbean: The Video Game (Wii) 14.StarCraft 2: Wings of Liberty (PC) 15.World of Warcraft (PC) 16.Dirt 3 (PS3) 17.Lego Pirates of the Caribbean: The Video Game (PS3) 18.World of Warcraft: Cataclysm (PC) 19.Dirt 3 (360) 20.Lego Pirates of the Caribbean: The Video Game (DS) Tumnagel
36.9°
0
Comic Sans slår tillbaka I'm Comic Sans, Asshole Den här kortfilmen av Joe Hollier är en monolog där Comic Sans äntligen får försvara sig efter många år av hånande. Monologen är skriven av Mike Lacher. Tumnagel
39.2°
0
måndag 18 juli 2011 Surdegsbrödsgömma Breadbox Breadbox är en liten finurlig historia som man hänger på väggen och den funkar både som brödbox och skärbräda. Handtaget till brödlådan är givetvis en kniv. Breadbox är designad av Okay i samarbete med Raw Edges. Ja, har man inte råd att kicka in surdegen på ett litet hotell kan man i alla fall förvara brödlimporna på ett tjusigt ställe. Tumnagel
38.8°
0
Smart Cover-kopia för Samsung Galaxy Tab På sätt och vis sanktionerad av Samsung själva Anymode heter ett tillbehörsbolag som har gjort en stenhård kopia på Apples Smart Cover vid namn Smart Case och det är väl kanske inget ovanligt. Problemet den här gången är att Anymode är officiell partner till Samsung. Jag tvivlar i och för sig på att Samsung specifikt har bett Anymode att ta fram fodralet, men officiell partner-texter och Designed for Samsung mob!le-loggor får man nog inte stämpla på saker utan att checka minst en gång med Samsung. Bossen för Anymode är enligt 9to5mac brorson till Samsungs styrelseordförande så han kanske har kört en rövare och hoppas på att bli förlåten. I vilket fall som helst lär det inte lugna de redan arga människorna i Cupertino... Tumnagel
36.0°
0
Årets åtta finalister Electrolux Design Lab 2011 Här är de åtta finalisterna i Electrolux Design Lab 2011. Tumnagel
41.0°
0
Trailertips The Dark Knight Rises Första trailern till Nolans uppföljare Nu har äntligen Warner Bros släppt den officiella teaser-trailern till "The Dark Knight Rises" som återigen regisseras av Christopher Nolan och för tredje gången gestaltar Christian Bale Gotham Citys maskerade hjälte. "The Dark Knight Rises" får svensk biopremiär 20 juli 2012. Tumnagel
42.3°
0
Cykelbygge för en shopaholic På Instructables berättar Zieak hur man bygger en shoppingcykel av en cykel och en varuvagn - något som säkerligen skulle uppskattas i Amsterdam. Varför jag tänker mig Amsterdam är just för att de flesta cyklar där och fraktar det mesta på sina cyklar plus att de är mycket bättre på återvinning och DIY än vi svenskar. Vill man nu bygga denna Shopping Cart Bike så undrar jag var man kan köpa en varuvagn eller ska hela bygget börja med ett brott? Tumnagel
40.2°
0
Jay Leno testar Morgan Threewheeler Ni vet den där trehjulingen Jay Leno styrde kosan mot Morgans fabrik, där de enda sedan 1910 har pulat ihop bilar, för att testköra klassikern i ny tappning, Threewheeler. Den lilla bilen har en direktinsprutad V2:a i nosen som ger 115 hästar. Kopplad till detta är en fempetad låda från Mazda som annars sitter i modellen Miata. Threewheeler väger under 500 kilo och tar sig från 0 till 100 km/h på bara 4,5 sekunder. Jay diggar bilen stenhårt, och har såklart originalet stående hemma i sitt enorma garage. Se för er själva. Tumnagel
38.7°
0
Nästa sida + Per månad 39 kr Betala löpande per månad. Ingen bindningstid. Starta prenumeration Per år 299 kr Enklast och billigast, bara 25 kronor i månaden. Betala löpande per år. Ingen bindningstid. Prova 14 dagar gratis innan du bestämmer dig. Starta gratis provperiod Engångsköp 349 kr Slipp återkommande betalningar, betala ett år i taget. Betala med kort eller Swish. Köp utan prenumeration