Teknik Motor Samhälle Spel Popkultur Fritid Tjock Tester Dagens fråga Tipsa! Skaffa Feber+ Mitt konto
Hetaste
Senaste
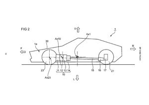
Mazda firar två miljoner tillverkade Wankel-motorer Mazda firar två miljoner tillverkade Wankel-motorer Säger att motortypen inte är på väg bort För Mazda började det här med Wankel-motorer redan 1961 då man började att samarbeta med NSU och Wankel. 1967 lanserades modellen Cosmo Sport och den blev den första från Mazda att ha denna typ av motor under huven. 1970 lanserades den numera legendariska RX-serien och 1978 släpptes den första generationen RX-7 och resten är som man brukar säga historia. 1991 blev Mazda den första japanska tillverkaren att vinna 24-timmars på Le Mans och det gjorde man med den mycket välljudande tävlingsbilen 787B. 2003 lanserades RX-8 men när den lades ner 2012 dog även utvecklingen av Wankel-motorn. Nu är den dock tillbaka igen som räckviddsförlängare i elbilen MX-30 e-Skyactive R-EV. Och samma drivlina fast ännu starkare återfinns i den nya konceptbilen Iconic SP. Nu har tillverkaren nått en milstolpe då två miljoner motorer tillverkats sedan allt började vilket givetvis är värt en liten tut i luren. Tut! newsroom.mazda.com Bil, Mazda, Wankel, motor, Wankel-motor, milstolpe, tillverkning, antal, teknik, rotor Bild till artikel Mazda visar nytt sportbilskoncept Baseras på en elbilsplattform med Wankelmotor Tumnagel 49.6° 0 Det här är Mazda MX-30 med Wankelmotor Fungerar som räckviddsförlängare Tumnagel 42.5° 0 Världens minsta Wankelmotor Varvar 30.000 Tumnagel 45.4° 0 Nya patentritningar visar sportig Mazda med wankelmotor Kan RX-9 kanske äntligen bli av? Tumnagel 42.6° 0 FortNine spanar in en Hercules W-2000 Udda motorcykel med Wankelmotor Tumnagel 40.6° 0 Wankel-motor i Lego Kopia på den som sitter i Mazda RX-8 Tumnagel 48.4° 0 Full spätta med Wankel-försedd Peugeot 205 Hej vad det går, och låter! Tumnagel 45.4° 0 Mazda RX7- fyller 40 år Grattis! Tumnagel 39.8° 0 Wankel i mini-format Jason visar upp sin Mazda RX-2 Tumnagel 106kg 0 Den här snubben älskar verkligen Wankel-motorer Synd att de inte byggs längre Tumnagel 42.5° 0 43.0° 0 Bobby Green Bobby Green
tis. 31 okt 2023, 13:40
+ Per månad 39 kr Betala löpande per månad. Ingen bindningstid. Starta prenumeration Per år 299 kr Enklast och billigast, bara 25 kronor i månaden. Betala löpande per år. Ingen bindningstid. Prova 14 dagar gratis innan du bestämmer dig. Starta gratis provperiod Engångsköp 349 kr Slipp återkommande betalningar, betala ett år i taget. Betala med kort eller Swish. Köp utan prenumeration