Teknik Motor Samhälle Spel Popkultur Fritid Tjock Tester Dagens fråga Tipsa! Skaffa Feber+ Mitt konto
Hetaste
Senaste
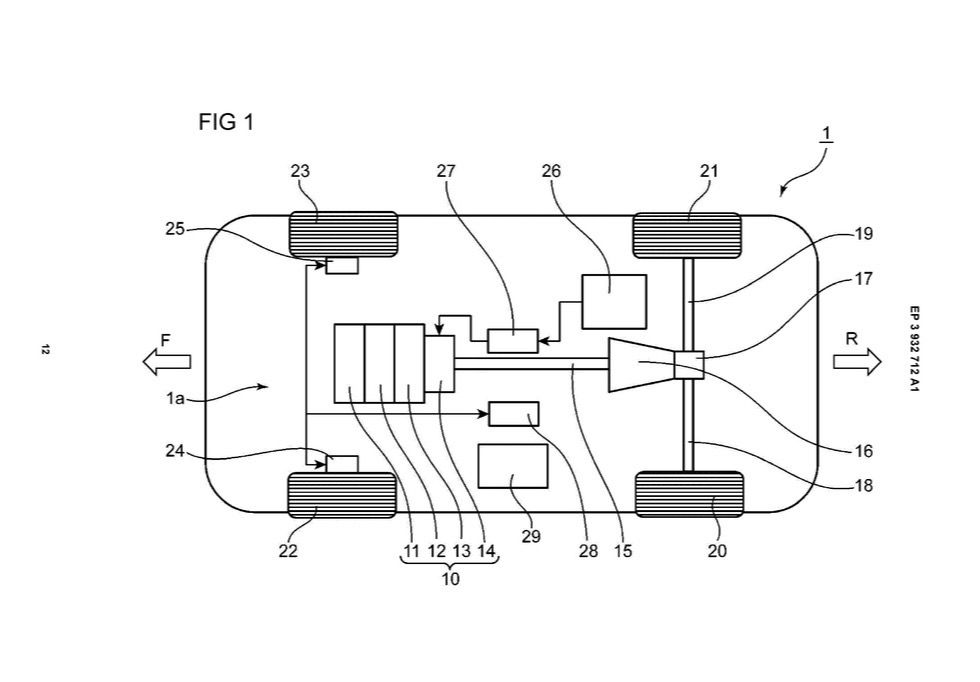
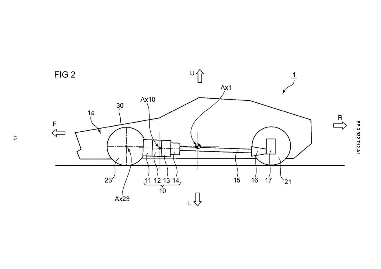
Nya patentritningar visar sportig Mazda med wankelmotor Kan RX-9 kanske äntligen bli av? Nya patentritningar visar sportig Mazda med wankelmotor Nya patentritningar får ryktena kring ny Mazda med wankelmotor att snurra runt igen. 2015 visade man konceptbilen RX-Vision men sen sa man att den inte skulle bli av. Men ska den det nu ändå kanske? En sportbil med hybridprylar och wankelmaskin som kanske får namnet RX-9 - det kanske vore något det. Ritningarna visar en motor med tre stycken rotorskivor och i änden av dessa sitter en liten elmotor. Det finns även en elmotor till varje framhjul, om detta innebär att bilen är fyrhjulsdriven är lite oklart.Om det någonsin kommer att bli verklighet av detta återstår i vanlig ordning att se. jalopnik.com Bil, Mazda, Mazda RX-9, Wankel, patent, rykte, rykten, motor, wankelmotor Bild till bildspel Bild till bildspel Bild till artikel Bild till artikel Konceptbilen RX-Vision från 2015 Mazdas Wankel-motorer återvänder Som räckviddsförlängare Tumnagel 54.9° 0 Mazda visar RX-Vision Concept En modern RX7 Tumnagel 65.4° 0 Mazda firar 50 år med Wankel-motorn Grattis! Tumnagel 45.2° 0 42.6° 0 Bobby Green Bobby Green
ons. 12 jan 2022, 17:00
+ Per månad 39 kr Betala löpande per månad. Ingen bindningstid. Starta prenumeration Per år 299 kr Enklast och billigast, bara 25 kronor i månaden. Betala löpande per år. Ingen bindningstid. Prova 14 dagar gratis innan du bestämmer dig. Starta gratis provperiod Engångsköp 349 kr Slipp återkommande betalningar, betala ett år i taget. Betala med kort eller Swish. Köp utan prenumeration