Teknik Motor Samhälle Spel Popkultur Fritid Tjock Tester Dagens fråga Tipsa! Skaffa Feber+ Mitt konto
Hetaste
Senaste
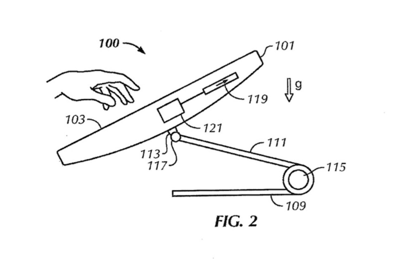
Testar Apple iMac med touch-skärm? Nya rykten säger så Testar Apple iMac med touch-skärm? Enligt de vanliga skvallerkanalerna från Taiwan så har ett bolag som heter Sintek Photronics ha skickat olika skärmar med touch-funktionalitet till Apple för test. Planen verkar vara att bygga in dessa (från 20 tum och uppåt) i nästa generations iMacar. Men en lansering nästa vecka verkar orimlig eftersom de som sagt bara testas just nu.Frågan är om touch-skärm på en stationär dator är något att ha, Mac OS X är ju inte direkt gjort för touch. Coolt hade det varit i vilket fall som helst.Bilden till höger är från ett patent som Apple tidigare har fått godkänt. Mac, iMac
37.4° 0 Roger Åberg Roger Åberg
lör. 2 okt 2010, 08:38
+ Per månad 39 kr Betala löpande per månad. Ingen bindningstid. Starta prenumeration Per år 299 kr Enklast och billigast, bara 25 kronor i månaden. Betala löpande per år. Ingen bindningstid. Prova 14 dagar gratis innan du bestämmer dig. Starta gratis provperiod Engångsköp 349 kr Slipp återkommande betalningar, betala ett år i taget. Betala med kort eller Swish. Köp utan prenumeration