Teknik Motor Samhälle Spel Popkultur Fritid Tjock Tester Dagens fråga Tipsa! Skaffa Feber+
Hetaste
Senaste
Alla Heta Kalla Öppna i ny flik måndag 7 april 2014 fortsättning Windows i bilen Skulle kunna fungera så här Under förra veckans Build-konferens passade Microsoft på att visa en version av Windows Phone som kan användas i bilar. Än så länge är detta endast ett koncept men denna plattform skulle då kunna använda olika Windows Phone-appar och anpassa dessa för användning i bilen. Systemet baseras på MirrorLink och ser ut att vara en kombination av Microsofts mobil samt datorplattform. Microsofts nya virtuella assistent, Cortana, kan också användas så man kan använda systemet utan att släppa ratten. Om eller när detta Windows in the Car-system kommer släppas är fortfarande oklart men då både iOS och Android redan gör starka intåg i dagens bilar känns det inte riktigt som de kan ligga på latsidan med att få ut detta. Ett flertal biltillverkare har redan modeller med MirrorLink-teknik på gång så kanske detta dyker upp någon gång kort efter dessa modeller dyker upp på vägarna. Tumnagel
45.8°
0
lördag 5 april 2014 Säg hej till Android TV Android-system för smartare tv Google lyckades inte riktigt få till det med Google TV men nu verkar det som att man gör ett nytt försök att göra folks tv-apparater lite smartare. Tekniksidan The Verge har nämligen kommit över en rad dokument som avslöjar Googles nya satsning som heter Android TV. Det hela är ett nytt system som man kopplar till tvn, sannolikt som mjukvara direkt i tv-apparaten eller via någon dosa likt Roku, Apple TV eller nya Amazon Fire TV. Enligt artikeln så lägger Google stort fokus på att menyerna i Android TV skall vara enkla och snabba att navigera. Systemet skall också kunna hämta data från flera appar och presentera dessa för användaren så den inte behöver gå in i de olika apparna för att hitta media den gillar. Även systemets sökfunktion letar genom alla appar vilket ju är praktiskt. "Access to content should be simple and magical," reads one Google document, which adds that it should never take more than three clicks or gestures to go from the homescreen to enjoying a new piece of content. Even search appears to be secondary to intuitively understanding what you want and delivering it as soon as possible, though search will be still be one of Android TV’s primary tools. In addition to universal search, pressing the Search button on the controller will let you search from within individual apps as well. Google har inte kommenterat The Verge-rapporten ännu. Tumnagel
65.0°
0
fredag 4 april 2014 Office för iPad nedladdat 12 miljoner gånger Hyfsad vecka! Nu har det gått en vecka sedan Microsoft släppte sitt efterlängtade Office-paket till iPad och det ser ut som om man har haft en hyfsad vecka sedan dess. Enligt ett meddelande från Office officiella twitter-konto har nu Office för iPad laddats ner 12 miljoner gånger från App Store. Det nämns dock inget hur många av dessa 12 miljoner som betalat för en Office 365-licens. Det går att använda appen för att kolla på Office-dokument utan att betala men vill man redigera dokument måste man införskaffa en Office 365-licens som kostar runt 90 kronor i månaden. More than 12 million downloads of Word, Excel, PPT & OneNote for #iPad from the @AppStore #OfficeforiPad pic.twitter.com/iT2egNPDkj— Office (@Office) April 3, 2014 Tumnagel
43.0°
0
Kiss Photo Bomb App för att "kissa" till dina foton Känner du för att liva upp din selfie eller foton av dina vänner, husdjur eller andra släpper nu rockbandet Kiss, tillsammans med Live Nation och Bare Tree Media, appen Kiss Photo Bomb. Med appen kan man i efterhand kiss-sminka sina foton, klippa in bandmedlemmar från Kiss samt lägga en ram liknande den från Kiss album Rockx27n Roll Over runt sina bilder. Kiss Photo Bomb-appen är gratis och hittas till iOS i App Store här och till Android i Google Play här. Tumnagel
30.3°
0
Lite info om Googles modulbaserade telefon Google visar upp vad som sker i labbet Project Ara är ett av de projekt som Google undersöker och försöker ta vidare till en färdig produkt. Projektet är baserat på Phonebloks, det vill säga en modulär telefon där du kan byta processor, kamera med mera själv när det behövs. Nu har de publicerat en ny video som berättar lite hur utvecklingen går och där kan vi se ett par tidiga men coola prototyper av telefonen. Bland annat kan vi se hur de leker med permanenta electromagneter för att montera dit modulerna, något som ser ut att vara en väldigt trevlig lösning. Project Ara var en del av Motorola när Google ägde det men när Google väl sålde Motorola så valde de att behålla deras Advanced Technology & Projects-avdelning då detta var avdelningen som jobbade med Project Ara. Därför så är det alltså nu Google som står bakom det hela och inte Motorola och dess nya ägare Lenovo. Tumnagel
52.6°
0
Microsoft Office för iPad är populärt 12 miljoner nedladdningar på en vecka Microsoft twittrade idag ut en liten tweet med en imponerande siffra. De meddelar nämligen att deras sprillans nya Office-appar för iPad tillsammans har laddats ned 12 miljoner gånger. Den siffran är alltså hur många gånger Word, Excel, PowerPoint samt OneNote tillsammans har laddats ned och min gissning är att OneNote är vad som dragit in flest nedladdningar. Hur som haver så är det väldigt imponerande då apparna lanserades för endast en vecka sedan. Tumnagel
46.7°
0
iOS Facebook Pages Manager uppdateras Äntligen kan du fixa med dina events Facebook har nu släppt en ganska trevlig uppdatering för oss som har sidor på Facebook som vi är administratörer för samt äger en iOS-produkt. De har nu nämligen uppdaterat iOS-appen med ett par trevliga och saknade funktioner. Först och främst så kommer man nu att kunna skapa event direkt i appen, något som konstigt nog alltså inte gått innan. Man kan självklart även ändra redan skapade event också. En annan funktion är att man kan pinna poster till toppen samt ändra profilbild. Nu väntar jag bara på att de ska lägga in stöd för att fixa event i grupper. Tumnagel
36.9°
0
iOS/Android Blizzard har släppt ett iPad-spel Men än så länge bara i ett fåtal länder Blizzard har gjort entré på riktigt i mobilspelsvärlden. Deras nya Hearthstone: Heroes of Warcraft är ett samlarkortspel till iPaden som släppts i tre områden: Australien, Nya Zeeland och Kanada. Spelet finns redan till PC/Mac sedan i mitten av mars. Hearthstone: Heroes of Warcraft är ett så kallat free to play och spelet kräver att man är inloggad på Battle.net för att fungera. Du kan dock fajtas emot både riktiga och virtuella motståndare väl inloggad. Din kortlek, som du bygger upp eller köper ihop, sparas på ditt konto så du kan växla mellan iPad och dator utan problem. Det är även tänkt att Android, iPhones, och Windowsplattor skall få en version av spelet i framtiden. När spelet släpps globalt till iPad vet vi ännu inte. Vi gissar dock på ganska snart. Tumnagel
49.7°
0
torsdag 3 april 2014 HoverChat är Chat Heads fast för SMS Där ser man Om man verkligen gillar Facebooks Chat Heads-lösning och gärna vill en liknande lösning för SMS då kanske man skall prova HoverChat. Med denna app kan man välja vilka personer man ofta kommunicerar med och så fort någon av dessa skickar ett meddelande till en så dyker personens nylle upp i en liten bubbla. Trycker man på denna bubbla kan man se meddelandet och svara direkt utan att behöva byta appfönster. Appen är gratis och kan hittas via länken nedan. Tumnagel
38.7°
0
Apple vill köpa japansk chip-tillverkare I alla fall om man får tro Reuters Enligt Reuters så kanske Apple kommer att köpa en stor del av japansk chip-tillverkare vid namn Renesas. Renesas tillvekrar ett viktigt chip som på något sätt används i iPhone i samband med dess skärm. Tyvärr går det ej så bra för Renesas så de har tänkt att sälja sina 55% av företaget chip-fabrik och tydligen så har Apple pratat med dem om att köpa dessa. De andra 45% av chip-divisionen ägs av sharp (25%) och Taiwan’s Powerchip. Anlytiker säger att troligen Sharp skulle sälja sin del till Apple om Apple frågade men det skulle ej behövas för att Apple skulle ha majoritet. Så varför skulle Apple köpa Renesas chip-division? Jo, det enkla svaret är så att ingen annan köper det då Apple är beroende av det chipet och gillar att ha bra kontroll på sina leverantörer. Tumnagel
37.8°
0
iOS Nytt spel idag: Monument Valley Traska runt i synvillor och vrid på omöjliga objekt I ustwox27s nya spel Monument Valley pusslar du fram en prinsessa igenom omöjliga objekt. Sådana här objekt skapades redan på 30-talet av Oscar Reutersvärd och senare av M. C. Escher vars konstverk spelet nog mest inspirerats av. Monument Valley är otroligt välgjort och vackert och bör avnjutas med hörlurar på. [iOS (28kr)] Tumnagel
40.9°
0
Nokia Lumia 630 och Lumia 635 Same same Igår kväll svensk tid öppnade Microsoft sin Build-konferens och då passade Nokia på att presentera lite nya lurar. Flaggskeppsmodellen Lumia 930 skrev vi om igår (se inlänkad artikel nedan) och här kommer lite om budgetmodellerna Lumia 630 och Lumia 635. Det handlar om i stort sett samma telefon med den skillnaden att Lumia 635 har LTE-stöd medan Lumia 630 kör 3G. Lumia 630 kommer också i två olika versioner där skillnaden är att en har stöd för dubbla SIM-kort. Telefonerna är försedda med en 4,5 tum stor skärm som har upplösningen 854x480 pixlar, en kamera på fem megapixlar, en quadcore Snapdragon 400-processor på 1,2Ghz från Qualcomm samt stöd för microSD-kort. De kommer givetvis att köra Windows Phone 8.1. Först ut på den svenska marknaden blir Lumia 630 med stöd för ett SIM-kort och den släpps antagligen redan i maj. Den kommer att kosta runt 1.500 kronor. Senare i sommar kommer även Lumia 635. Huruvida Lumia 630 med stöd för dubbla SIM-kort släpps på den svenska marknaden är i dagsläget okänt. Tumnagel
42.2°
0
iOS Håll koll på din shopping med Level Money Varnar om du handlar för mycket Level Money är en ny app som är tänkt att förhindra att användaren shoppar för mycket. Genom att koppla appen till sitt kreditkort och sedan ange hur mycket man max kan tänka sig att spendera varje dag kan appen varna om man överstiger denna summa. Appen är utvecklad av den 27-årige Jake Fuentes som fick idén till appen när han hade övertrasserat sitt konto efter en blöt kväll på krogen. I dagsläget fungerar Level Money bara för användare som har sitt kreditkort kopplat till en amerikansk bank men förhoppningsvis kanske det blir stöd även för svenska banker i framtiden. Eller så tar någon saken i egna händer och utvecklar en svensk klon av appen. Tumnagel
34.5°
0
Pebble uppdaterar sin iPhone-app Bugfix och nya appar Pebble uppdaterar idag sin iPhone-app till version 2.1.1 bara några dagar efter att de släppte 2.1. Anledningen var en bug i den förra versionen som de nu har fixat men de passade även på att släppa lite nya appar till app-butiken samt att du nu har möjligheten att skicka appar till vänner via email, Facebook, sms och Twitter. Tumnagel
37.0°
0
Lensbaby vill lansera iPhone-objektiv Vänder sig förstås till Kickstarter Lensbaby är kända för att tillverka kameraobjektiv som låter användaren välja en punkt i bilden som blir skarp och resten suddas ut mer och mer ju längre bort från den punkten man kommer. Nu har de dragit igång ett kickstarterprojekt för att se om detta kan vara något som iPhoneanvändare vill ta del av då de utvecklat en Lensbaby för just iPhone. Objektivet för iPhone går ej att vinkla men istället så har man en kamera-app som inte fångar allt sensorn gör så att man kan flytta den skarpa punkten digitalt istället. Objektivet monteras med hjälp av magneter och om man är sugen så kostar det 65 dollar med frakt om man är med och kickstartar objektivet. Tumnagel
31.8°
0
iOS Sample Kolla in och dela videoklipp Idag lanseras den svenskutvecklade appen Sample med vilken man kan kolla och dela videoklipp från YouTube och Vimeo. Sample påminner en hel del om Instagram med den lilla skillnaden att här är det inte du själv som fotar eller filmar utan med Sample så kan man dela samt kommentera videos från YouTube och Vimeo som man sedan kan dela med sina följare. Precis som med Instagram kan man givetvis följa sina vänner och andra för att kolla in vad de delar. Sample är gratis och hittas i App Store på länken nedan. Här nedan hittas även en demonstrationsvideo av appen. Tumnagel
36.8°
0
Cortana <3 Skype Ser lovande ut Här har vi ett klipp där Microsoft visar hur den virtuella assistenten i Windows Phone 8.1, Cortana, kommer fungera tillsammans med Skype. Tyvärr kommer detta inte vara tillägngligt så fort Windows Phone 8.1 släpps utan kommer börja fungera så fort Skype uppdaterar sin app inom några månader. Förutom denna Cortana-harmoni så kommer Windows Phone 8.1 även ha en Facetime-liknande funktion som gör att man kan konvertera vanliga telefonsamtal till Skype-samtal. Tumnagel
43.5°
0
WhatsApp-användare skickar många meddelanden 20 miljarder på ett dygn WhatsApp köptes nyligen av Facebook för väldigt mycket pengar och kanske var de värda det för brist på användare har de i alla fall inte. Företaget twittrade nämligen nyligen ut tweeten till höger där vi kan se hur deras dagsrekord ser ut just nu. Tydligen så skickades det här om dagen 20 miljarder meddelanden med WhatsApp på endast 24 timmar vilket inte är helt lite. Den stora frågan är väl, använder du WhatsApp? Tumnagel
38.3°
0
Blåtandshögtalare från Nokia Gullig För att matcha sina nya Lumia-lurar så har Nokia offenlitggjort en söt liten Blåtandshögtalare som klarar av att spela upp ljud i 15 timmar på en laddning. Trots att den inte är större än en hockeypuck så påstår Nokia att den har bra basljud. Prislappen ligger på 55 dollar och kommer finnas tillgänglig i alla möjliga färger när den väl släpps. Tumnagel
41.7°
0
iOS FTL: Faster Than Light har landat på App Store Prisad RTS känd från PC finns nu för iPaden Det i från Subset Games prisade PC-spelet FTL: Faster Than Light, som simulerar livet ombord på ett rymdskepp, finns nu att ladda hem för iPaden. Spelet innehåller även expansionen "FTL: Advanced Edition" vilken ger fler skepp, fiender, händelser och vapen. I spelet skall du alltså sköta ett rymdskepp och framföra viktig information till den allierade rymdflottan som befinner sig ljusår bort. Innan du når fram väntar många problem, problem som faktiskt går att lösa på flera olika sätt. Sen är ju spelet roguelike, vilket innebär att om du dör, så får du börja om från början i en galax som inte ser ut som den gamla. Nervkittlande! [iPad (75kr)] Tumnagel
40.7°
0
onsdag 2 april 2014 Samtliga Lumia-lurar med WP 8 får WP 8.1 Trevligt Stephen Elop intog scenen under Microsofts Build-konferens där han bekräftade att samtliga Lumia-modeller som kör Windows Phone 8 kommer få Windows Phone 8.1 när det väl släpps. Tumnagel
55.5°
0
Nokia presenterar Lumia 930 Flaggskeppet för Windows Phone 8.1 Nokia passade på att visa upp sin nya Windows Phone 8.1-telefon, Lumia 930, under Microsofts Build-konferens. Denna lur har en 5 tum stor AMOLED-skärm på 1080p med en pixeldensitet på ungefär 441 PPI. Processorn är en Snapdragon 800 på 2.2GHz, 2 GB RAM och 32 GB med internt minne. Kameran är en PureView-kamera på 20 megapixel. Leading the way once again in smartphone photographic technology, the Nokia Lumia 930 sports a 20-megapixel PureView camera, optical image stabilization (OIS) and ZEISS optics to achieve pin-sharp shots and the flexibility to zoom into any shot after you’ve taken it. A HD 1.2 MP wide-angle camera adorns the front. Någon gång till sommaren skall denna telefon leta sig hit för, sannolikt, mindre än 6 000 kronor. Nokia visade även upp två andra mellanklasslurar, Lumia 630 och Lumia 635, som båda är Windows Phone 8.1-telefoner med quad-core Snapdragon 400-processorer på 1.2GHz. Telefonerna kommer även innehålla träningsfunktioner via ett integrerat chip som drar väldigt lite ström. Dessa telefoner kommer dyka upp under maj månad någon gång. Tumnagel
67.4°
0
Microsoft demonstrerar Cortana Under sin Build-konferens. Precis som väntat så avslöjade Microsoft i dag sitt svar på Siri och Google Now, nämligen Cortana för Windows Phone 8.1. Cortana, nämnd efter den artificiella intelligensen i Halo-spelen, drivs av Bing och kommer ersätta systemets tidigare sökfunktioner. Med Cortana kan man via tal sätta påminnelser, skriva/läsa textmeddelande, söka, ringa samtal och en hel del till. Cortana kan även användas av tredjepartsprogram om användaren tillåter det. Men som läckta bilder visade så gestaltas Cortana av en pulserande ring och inte ett hologram dock är det röstskådespelaren Jen Taylor som även är rösten för karaktären i spelet. I klippet ovan kan man få sig en längre genomgång av Cortana och nedan kan man se ett klipp där folket från The Verge provar det. Tumnagel
51.3°
0
Amazon visar upp sin mikrokonsol Släpps i dag för 99 dollar Onlinebutiken Amazon presenterade i dag sin nya mikrokonsol Amazon Fire TV som man kan använda för att spela spel på men även självklart använda för att se film och tv-program på. Enheten har 2GB med minne, en quad-core processor, ett dedikerad GPU-chip samt WiFi. Enligt Amazon själva så är Amazon Fire TV tre gånger så kraftfull än enheter som Apple TV, Roku och Chromecast. Konsolen använder sig av en variant av Android som operativsystem och sägs vara ruskigt snabb i menyerna. Tydligen har flera spelstudios så som SEGA, Telltale Games, Disney, Ubisoft, EA och 2K Games olika spel på gång för konsolen. Under presentationen visade man bland annat upp en Amazon Fire TV-version av Minecraft och Asphalt 8. Amazon kommer även ta fram spel exklusiva för denna konsol så som Sev Zero vilket är ett Gears of War-liknande spel. En trailer för detta spel kan beskådas här och en samlingstrailer för fler spel från Amazon Game Studios kan beskådas nedan. I samband med konsolen visade man även kontrollen som vi redan fick se förra veckan via några läckta bilder. Denna kontroll kostar 40 dollar och kan köpas här. Amazon Fire TV kostar 99 dollar och kan köpas borta i USA från och med i dag. Tumnagel
51.8°
0
Läckta specifikationer för kommande Galaxy S5 mini Tyvärr ej lika kraftfull som Galaxy S5 Sajten Sammobile säger sig ha säkra källor som gett dem information om en kommande Samsungmobil med modellbeteckningen SM-G800. Telefonen som i folkmun kommer att heta Galaxy S5 mini kommer enligt deras källa att få följande specifikationer: 1,5 GB RAM-minne, 16 GB lagring, en 8-megapixelskamera, batteri på 2 100 mAh, en 4,5 tum stor skärm med 1280x720 pixlars upplösning samt en än så länge okänd processor. De pratar även om att telefonen kommer att få IP67-klassificering precis som storebror vilket innebär att den kommer stå emot lite regn och rusk. Någon gång i juni förväntar man sig att telefonen kommer att släppas. Tumnagel
31.3°
0
Android Humble Bundle 9 är här Donera pengar till olika bra saker och få mycket spel som tack För en valfri summa pengar kan du nu köpa 4-6 stycken spel för att spela på din dator eller på din Android. Dessa är: Broken Sword 2, ett klassiskt pusseläventyr i peka och klicka-genren. Bridge Constructor, en fysikpusslare om att bygga hållbara broar Type:Rider, transportera "två punkter" (:) igenom olika banor i denna pusslare. Ravensword: Shadowlands, ett stort actionäventyr. Om du betalar mer än gällande genomsnitt får du två spel till: Kingdom Rush, ett bra tornförsvarspel. Knights of Pen and Paper +1, ett roligt pixligt RPG. Som morot kan vi påminna att det alltid slängs in ett par till bra spel i över genomsnitts-dealen efter någon vecka. Och som vanligt är det du som styr vart du vill dina pengar skall gå, till utvecklarna, folket på Humble Bundle, Child’s Play, eller Electronic Frontier Foundation Tumnagel
38.6°
0
Fantastical nu för iPad Vettig kalenderapp för paddan Den fantastiskt trevliga kalenderappen Fantastical finns nu även för iPad. Versionen för Paddan är rätt lik iPhone-versionen men den är självklart mycket bättre på att ge en överblick av månaden på grund av den större skärmstoleken. Kalendern är inte helt billig med sin prislapp 109 kronor, men för att fira släppet har man temporärt sänkt priset till 75 kronor. Tumnagel
36.2°
0
iOS Nya svenska spel på App Store Heja Sverige igen! Här ett litet gäng svenska spel till som släppts till App Store senaste tiden. Har vi missat att skriva om ditt spel så hör av dig så vi kan kika på det och skriva om det nästa gång. Nu på lördag är det högskoleprovdags igen. Boboshi har omarbetat sin app, iHögskoleprov, en hel del så har du köpt den sedan tidigare så kan det vara dags att uppdatera den. Appen innehåller 2 400 övningsuppgifter inom XYZ, KVA, NOG, DTK, ORD, MEK och ELF och har 500 förklaringar till olika mattefrågor. iOS (38kr) | iOS (gratis) Tiny Car är ett litet enkelt bilspel där du skall hålla en liten bil på vägen. Styr gör du genom att tappa på vänster eller höger sida av skärmen. Inte alls dumt. iOS (gratis) | Se Trailer! I Tappy Blocks skall du hålla en fyrkant i luften så länge som möjligt genom att tappa/svepa den på skärmen. Slår den i "taket" släpps fler fyrkanter loss och slutet är nära. iOS (gratis) Flying Pug är inte helt olikt Flappy Bird och i spelet flyger du med hund och undviker ben istället. Lika vansinnigt svårt är det hur som helst också, och gratis. iPhone (gratis) Som sagts förut: Tips är mycket välkomna på nya svenska spel ni tycker vi skall skriva om. Det kan vara allt från stolt hemmasnickeri i ensamt majestät till lite större projekt med flera utvecklare. Tumnagel
36.7°
0
Xiaomi plagierar kickstarterprojekt Släpper programmerbar knapp för hörlursutgången Xiaomi är en mobiltillverkare på uppgång och de har fått bra med press runt om i världen vilket gjort att de har verkat vara en lite mer seriös tillverkare än många andra kinatillverkare som mestadels gör kloner. Nu kommer dock Xiaomi med just en klon och det av ett litet tillbehör som blev stort på Kickstarter förra sommaren. Kickstarterprojektet heter Pressy och är en liten hörlursplugg som gör om din hörlursutgång till en programmerbar knapp om du använder dig av Android. Det var en smart liten pryl som drog in hela 700 000 dollar trots att de bara frågade efter 40 000 dollar. De som stod bakom projektet visste att det skulle komma kloner och har meddelat tidigare att de kommer gå hårt åt de som klonar. Nu har då alltså Xiaomi gjort en klon på Pressy och det är svårt att se någon som helst skillnad mellan de två produkterna förutom om man tittar på priset då Xiaomi vill ha en dollar för sin medan Pressy som utvecklat den vill ha 27 dollar. Pressy har meddelat att de just nu funderar över hur de ska hantera situationen då de ej trodde att ett så stort företag som Xiaomi skulle kopiera deras pryl utan de hade förväntat sig just mindre okända aktörer. Tumnagel
26.9°
0
iOS/Android Nya svenska spel för mobilen Heja Sverige! Dags igen för ett gäng svenska spel som släppts tidigare i år på App Store och Google Play. Det kommer en del två på denna artikel med fler spel om ungefär en timme. Slam Dunk Basketball 2 missade vi att skriva om i februari när det släpptes men här har vi ett riktigt fint basketspel där du skall sätta bollar i korgen från olika avstånd i 1 mot 1 eller i turneringar med åtta spelare i. Grafiken är magnifik! iOS (gratis) | Google Play (gratis) | Se Trailer! För de som gillar Flappy Bird-aktiga spel så är Flying Horse ett spel som ger lite "mer". Olika svårighetsgrader, tjusigare grafik, achievements och topplistor gör flaxande hästen till ett lyxigare alternativ. iOS (gratis) | Google Play (gratis) | Se Trailer! Super Astrid flyger likt Fågel Flappy i en bana med hinder som Astrid inte vill krascha in i. Enkelt och snabbt! iOS (gratis) | Google Play (gratis) | Se Trailer! Illustrerad Vetenskap har släppt en ny app för oss vetgiriga. Quiz Battle 2 innehåller tusentals nya frågor och ny funktionalitet. En rolig sak med appen är att vi svenskar jämförs med våra nordiska grannar på frågorna. I första spelet låg vi bara trea. Dags att bli smartare! iOS (gratis) | Google Play (gratis) Sexmätare är en app som mäter rörelser och ljud och ger poäng efter hur mycket av dessa som produceras. En till fyra "spelare" kan delta samtidigt i fyra olika svårighetsgrader. iPhone (7kr) Som sagts förut: Tips är mycket välkomna på nya svenska spel ni tycker vi skall skriva om. Det kan vara allt från stolt hemmasnickeri i ensamt majestät till lite större projekt med flera utvecklare. Tumnagel
37.3°
0
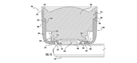
Objektivfattning i iPhone? Ännu ett patent som visar det Patent-bilden vi ser här är det andra patentet vi ser från Apple som visar någon form av objektivfattning för iPhone. Det visar på att Apple lagt ned lite tid på detta så kanske är det något vi får se i framtiden. Skillnaden mellan det förra patentet och detta patent var att det förra i princip bara var en magnetisk ring kring kameran medan detta visar en mer avancerad bajonettfattning. Patentet visar även en teknik som gör att objektivet hoppar av vid hårda stötar så att man ej skadar telefonen och fattningen. Vad tror ni om detta, vill du kunna byta objektiv på din telefon? Tumnagel
39.8°
0
Batteripaket till iPhone med tangentbordsuttag Dagens kombo? Från företaget Cerevo kommer det här batteripaketet till iPhone/iPad som man kallar för EneBrick. Batteripaketet fungerar dels som ett extrabatteri på 6000mAh till telefon/tablet, dels som ställ till telefon/tablet (se bild nedan) men det är även försett med en unik egenskap som gör att man kan koppla in ett USB-tangentbord i batteripaketet som sedan skickar vidare tangenttryckningarna på tangentbordet via Bluetooth till telefonen eller tableten. Det här är med andra ord ett tillbehör för alla er som vill använda ert USB-tangentbord med er iPhone istället för att köpa ett bluetooth-kompatibelt sådant. EneBrick släpps den här månaden och kommer att kosta runt 136 dollar. Tumnagel
32.6°
0
BlackBerry avslutar sitt samarbete med T-Mobile Har fått nog med operatörens anti-BlackBerry-kampanjer Jag har tidigare skrivit om bråket mellan T-Mobile och BlackBerry, ett bråk som nu verkar ha nått sitt slut. Tidigare så har T-Mobile valt att köra en kampanj där man kunde byta sin BlackBerry mot en iPhone och de var inte direkt snälla mot BlackBerry. Nu har därför BlackBerry valt att avsluta sitt samarbete med T-Mobile och kommer inte längre sälja sina telefoner via operatören. Lite häftigt är det att BlackBerrys VD vågar göra något sådant men frågan är dock vem som tjänar på detta. Här är vad deras VD sade om det hela: “BlackBerry has had a positive relationship with T-Mobile for many years. Regretfully, at this time, our strategies are not complementary and we must act in the best interest of our BlackBerry customers. We hope to work with T-Mobile again in the future when our business strategies are aligned,” Tumnagel
41.1°
0
Samsung drar in Google i fajten mot Apple Anser att funktionerna de blir stämda för är en del av Android I den senaste striden mellan Apple och Samsung så är det Apple som attackerar och Samsung som försöker att skydda sig. Senast detta hände så lyckades de ej skydda sig genom de motstämningar de försökte med så nu försöker sig Samsung på en annan taktik. Denna gång väljer den sydkoreanska elektronikjätten istället att försöka skylla ifrån sig på Google för att slippa ta fallet själva om Apple vinner denna gång. Samsungs advokat höll under rättegången upp en Galaxy Nexus, vilken är en av de tio enheter som Apple anser bryta mot deras patent denna gång, och sade följande ord: "the accused features on this phone were developed independently by some of the most sophisticated minds in the industry — the company up the road in Mountain View." Enkelt uttryckt så menar Samsung och dess advokater att de funktioner som Apple stämmer företaget för att ha snott är egentligen androidfunktioner utvecklade av Google. Det ska bli intressant att se vad Google har att säga om detta för frågan är om de vill bli indragna i fajten genom att ställa sig på Samsungs sida eller om de kommer att försöka hålla sig undan. Tumnagel
41.5°
0
iOS Fynda spel på App Store idag Double O Seven Joe Deverx27s Lone Wolf är ett spel som både är en spelbok och ett action RPG. Spelet är uppdelat i episoder och den första, Blood On The Snow, är vad som ingår i spelet när man startar. Fler episoder kommer att gå att köpa inne i spelet. iOS (gratis) | Se Trailer! Toca Band är en "leksak" för de lite yngre där man utforskar musik och uppträder med ett eget band! Man sätter ihop olika ljud, beats och rytmer för att kanske få en riktig hitlåt!? iOS (gratis) | Se Trailer! Stealth Inc. är Curves populära indiespel som sent förra året nådde iOS. I spelet, som är en plattformssmygare, är skuggor dina bästa vänner för att nå banans utgång. 7kr är priset just nu. iOS (7kr) | Se Trailer! Tumnagel
36.4°
0
tisdag 1 april 2014 iOS Hellraid: The Escape snart här till iOS Techlands lilla Hellraid i väntan på det stora Techland, som bland annat ligger bakom Death Island, och Shortbreak Studios kommer snart att släppa ett iOS-spel, Hellraid: The Escape, vilket utspelar sig i samma värld som Techlands kommande PC/konsolspel, Hellraid. Spelet är ett slags actionäventyr som blandar pussel och strider och det kommer inte innehålla några IAPs (wohoo!) och priset kommer att hamna på 22kr. Den 15e maj är släppdatumet. Tumnagel
37.6°
0
Är detta iPhone 6? Smygtagna bilder från Foxconn-fabriken Kan detta vara en bild på nästa generations iPhone? Enligt källan så kommer dessa bilder från Foxconn-fabriken och föreställer just en iPhone 6 som håller på att testas på olika sätt. Om detta nu stämmer så betyder det att vi precis som tidigare rykten pekat på får se en iPhone med ett skal som mer liknar iPad. Det betyder ett helt metallskal med rundade kanter och tydligen så ska det även innebära en ännu tunnare telefon. Att telefonen blir tunnare betyder dock troligen att kameran måste sticka ut lite grann, något vi kan se på dessa bilder. Tumnagel
43.7°
0
måndag 31 mars 2014 Snabbare Chrome i mobilen Det kan man få om man ändrar en liten grej En användare på Reddit bjuder på ett väldigt bra tips som gör att Chrome blir avsevärt mycket snabbare. Genom att gå till en inställning (chrome://flags/#max-tiles-for-interest-area) i Chrome kan man ändra den så webbläsaren utnyttjar mer RAM-minne (512) vilket då, i alla fall på min sunklur, ökade prestandan markant. Posten, som man kan hitta via länken nedan, innehåller även några andra hjälpsamma tips för hur man kan öka prestandan på Googles webbläsare. Dock gör ingen av dem lika markant skillnad som tipset ovan. Om detta tips även fungerar på iOS-versionen är oklart men någon som har en sådan och läser detta kanske kan bekräfta det i kommentarerna. Oliver skriver i kommentarerna att detta inte verkar fungera i Chrome på iOS. Tumnagel
48.5°
0
Håll koll på babyn med Samsung Galaxy S5 Funkar som en babymonitor I Samsungs senaste flaggskeppsmodell Galaxy S5 har man byggt in en funktion som gör att telefonen går att använda för att övervaka sitt spädbarn om man kopplar ihop telefonen med en Samsung Galaxy Gear-klocka. Genom att lämna telefonen i rummet barnet befinner sig i kan föräldern via sin Galaxy Gear-klocka hålla koll på om barnet sover eller gråter. Det hela fungerar genom att Galaxy S5:s mikrofon kan känna av om det förekommer ljud i rummet och om så är fallet skickas en signal till Galaxy Gear som då vibrerar. Det får dock påpekas att den här funktionen endast kommer att fungera medan telefon och klocka är sammankopplade via Bluetooth, något som gör att räckvidden inte blir särskilt lång. Tumnagel
38.3°
0
Doogee - nytt mobilmärke på svenska marknaden Lanserar tre lurar Idag får Sverige ett nytt mobiltelefonmärke i form av Doogee vars telefoner är framtagna och tillverkade av det kinesiska företaget KVD International. Vid lansering handlar det om tre stycken Android-lurar som kostar mellan cirka 1.000 och 2.000 kronor. Den billigaste modellen är Voyager (vänster på bilden ovan) som går för runt 1.000 kronor. Den är försedd med en fem tum stor skärm med okänd upplösning, fem megapixels kamera, en dualcore-processor, microSD-kortplats samt stöd för dubbla SIM-kort. Är man ute efter en lite mer stöttålig Android-lur så finns Doogee Titan (mitten på bilden ovan) som ska vara stöt- samt vattentålig. Den har en fyra tum stor skärm, dualcore-processor, stöd för dubbla SIM-kort men den verkar helt sakna kamera. 1.300 kronor får man ge för en Doogee Titan. Flagskeppsmodellen från Doogee är Doogee Turbo och i den hittas en fem tum stor skärm, en kamera på åtta megapixel, microSD-kortplats, 1GB RAM, quadcore-processor samt stöd för dubbla SIM-kort. Runt 2.000 får man ge för en sådan. Nedan kan ni kolla in en kort presentationsfilm om Doogee Turbo. Doogees telefoner släpps på den svenska marknaden i april och kommer initialt bara att säljas från Doogees svenska agent som ni hittar på länken nedan. Tumnagel
38.3°
0
HTC One har en "turboknapp" Kortar dock ner batteritiden HTC tillkännagav nyligen att den nya HTC One-telefonen som avslöjades förra veckan har en funktion som känner av benchmark-appar och som då slänger extra resurser till just dessa. HTC kallar denna funktion för "High Performance Mode" och om man vill så kan man aktivera den på egen hand dock kortar det ner batteritiden avsevärt. "For those with a need for speed, wex27ve provided a simple way to unleash this power by introducing a new High Performance Mode in the developer settings that can be enabled and disabled manually. The HTC One (M8) is optimized to provide the best balance of performance and battery life, but we believe in offering customer choice, as there may be times when the desire for performance outweighs the need for battery longevity." HTC nämnde att denna funktion inte finns till för att "fuska" sig genom benchmark-tester utan för att ge telefonen lite extra kräm vid tillfällen då det krävs. Tumnagel
39.3°
0
Läs böcker med Readly Tidningsapp utökar med böcker För ungefär ett år sedan lanserades den svenska tidningsappen Readly där man mot en fast månadskostnad kunde läsa alla tidningar i deras sortiment. Lite som Spotify fast för tidningar istället. Nu har Readly utvecklat sin tjänst till att även gälla böcker och för 99 kronor i månaden kommer man att kunna läsa böcker från de cirka 20 bokförlag som Readly samarbetar med. Bland förlagen som är anslutna till tjänsten märks bland annat Bonniers, Norstedts samt Natur & Kultur och det kommer att erbjudas böcker för vuxna, ungdomar och barn, fackböcker samt traditionell skönlitteratur. Vill du testa Readly så går det att göra det gratis under en månads tid här. Tumnagel
43.2°
0
Appar kraschar oftare på iOS än på Android Android nu stabilare än iOS enligt rapport Företaget Critterism har tagit fram en rapport där man påvisar att Android nu är en mer stabil plattform än iOS då appar kraschar mer sällan på Android än på iOS. Som synes i grafiken ovan så ligger kraschprocenten på 1,6% med senaste iOS-versionen, iOS 7.1, medan samma siffra för de senaste Android-versionerna, Kitkat, Ice Cream Sandwich samt JellyBean, i genomsnitt kraschar appar 0,7% av gångerna de körs. Går man längre bak i respektive OS-version så stiger kraschprocenten med närmare det dubbla. Det lönar sig med andra ord att alltid köra senaste versionen av operativsystemen. Tumnagel
65.8°
0
söndag 30 mars 2014 iOS Rovio släpper ord-spel för iOS I samarbete med Raketspel Rovio Stars och Raketspel presenterar ett nytt spel för iOS, Word Monsters. Ett roligt ord-spel för dig med snabba fingrar och kvickt sinne. Det går till så här: Man väljer ett tema, som kan vara allt från frukt, namn, saker du har i ditt kylskåp eller varför inte 80-tals låtar. När temat är valt så måste man tävla mot klockan och försöka hitta så många ord man kan. Orden ska hittas i rätt ordning för att man ska gå vidare i spelet. Det finns möjligheten att tävla mot vänner, i en liga eller mot sig själv. Precis som Rovios Angry Birds så får man 3 stjärnor om man klarar av ett tema. Man skapar också sin egna monster-avatar, som man kan välja färg, form och accessoarer till. Word Monsters är gratis och kan laddas ner till iOS här, Android versionen kommer inom kort. Tumnagel
41.0°
0
lördag 29 mars 2014 Telia läcker HTC One M8 mini Hejsan hoppsan Det verkar som den svenska teleoperatören Telia råkat läcka en mindre variant av den nya HTC-luren HTC One M8. På en lista med telefoner som stödjer HD Voice kunde man nämligen hitta M8 mini vilket ju antyder att HTC har en mini-version på gång. HTC har ju förminskat sina flaggskepp tidigare då med One Mini, så sannolikheten att detta kommer hända igen med den nya M8-modellen är ju rätt stor. Tumnagel
43.8°
0
fredag 28 mars 2014 Videogenomgång av Office för iPad Så här fungerar det Gizmodo har tagit sig en närmare titt på Microsofts Office för iPad som man presenterade igår och ovan kan ni kolla in en videogenomgång som visar det. Man kollar in Word, Excel samt PowerPoint i videon och det verkar som om man är rätt nöjda med vad Microsoft har åstadkommit i iPad-versionen av Office. Framför allt så verkar den betydligt mycket bättre än den halvmesyren av Office som fanns till iPhone en gång i tiden. Tumnagel
39.6°
0
iOS/Android Nya Captain America-spelet är nu släppt till mobilen Sköld och S.H.I.E.L.D. samarbetar För ett par dagar sedan hade biofilmen premiär. Idag släpptes Gamelofts fajtingspel baserat på filmen, Captain America: The Winter Soldier. I spelet utför du, Captain America, och ditt S.H.I.E.L.D.-team en massa olika uppdrag för att stoppa de onda superskurkar som hotar världen. Fajtas emot simpla gatuskurkar men också emot finskurkar som King Cobra, Taskmaster, Puff Adder och slutligen Winter Soldier. Ditt teams agenter går att uppgradera, likaså din vapenarsenal. Skulle detta inte räcka till kan du även kalla in Black Widow och Falcon som backup när det krisar. På multiplayer-fronten finns ett asynkront multiplayerläge. Man kan gå med i en klan och kämpa mot andra spelare och få fina belöningar i de tidsbegränsade utmaningar som anordnas. [Google Play (gratis)] [iOS (22kr)] Att Android-versionen är gratis beror på att man kan köpa spelet via IAP efter två levels om man vill fortsätta spela. Tumnagel
36.4°
0
Freedome - Surfa anonymt med mobilen Skyddar även telefonen från angrepp Det finska säkerhetsföretaget F-Secure har släppt en VPN-app som kallas för Freedome med vilken man kan surfa anonymt via sin iOS- eller Android-mobil. Förutom att dölja användarens ip-nummer så krypteras även trafiken, hindrar att man surfar in på osäkra sajter och spårning i form av cookies som lagras av diverse annonstjänster kommer att blockeras. I filmen ovan kan ni kolla in lite hur Freedome fungerar. Man kan ladda hem Freedome gratis och testa en vecka och vill man därefter fortsätta att använda tjänsten kostar den 38 kronor i månaden eller 229 kronor för ett år. Freedome till iOS hittas i App Store här och till Android på Google Play här. Tumnagel
48.8°
0
Uppdaterad Office för iPad är här Även för Android-plattor UPPDATERING Precis som utlovat så släpptes tabletversionen av Office natten till i dag och det kan hittas till iPad här och till Android här. --------------------------------------------------- Microsoft tillkännagav i dag att man under kvällen äntligen kommer släppa iPad-versionen av Office som då innehåller programmen Word, Excel, OWA och Powerpoint. Programmen är självklart anpassade för paddans större skärm och tack vare starka kopplingar till OneDrive kan man spara sina filer i molnet utan att de behöver ta upp en massa plats på enhetens minne. Office för iPad är gratis att prova men vill man göra något vettigt med det, så som att skapa eller ändra dokument, då får man betala Office 365-abonnemanget. En längre recension för Office till iPad kan hittas via länken nedan. Tumnagel
51.5°
0
torsdag 27 mars 2014 iOS/Android Star Wars: Assault Team är nu släppt Fajt! Disney Mobile har idag släppt Star Wars: Assault Team där du skall sätta ihop ett team av dina favoritkaraktärer ifrån Star Wars och utmana fiender och andra spelare runt om i galaxen. Teamets medlemmar går även att uppgradera så ditt team blir starkare ju mer du spelar. Spelet har också en hel del uppdrag att utföra med ditt team. [Google Play (gratis)] [iOS (gratis)] Tumnagel
33.9°
0
Flashback spelar in video och tar stillbilder samtidigt Ny iOS-app för den som vill blanda När Nikon lanserade Nikon 1 så lanserade de kameran med en funktion som jag mest skrattade åt. Det var en funktion som lät kameran fånga ett par sekunder film innan man tog en stillbild för att lägga ihop detta till en minivideo där man både ser lite om händelsen samt stillbilden. Nu kommer en liknande funktion till iOS via appen Flashback som spelar in video konstant och sparar de senaste fem sekunderna när du väl klickar på kameraknappen. Jag undrar fortfarande vem som tycker detta är ett bra medie att fånga minnen i men tydligen finns det folk som tycker det och om du är en av dessa så kostar denna app 15 kronor. Man ska även kunna göra lite bildbehandling samt klippa ihop flera klipp till en film om man vill sammanfatta exempelvis ett bröllop eller liknande Tumnagel
37.2°
0
Sony Z2 försenas Levererar ej förrän i maj Sugen på en Sony Z2? Tråkigt nog så verkar du i så fall få vänta ett tag. Sony går nu ut med att telefonen kommer att försenas tills i maj då efterfrågan varit för hög på telefonen. Tydligen är det så många personer som vill ha denna telefon att de behövt öka produktionen för att ha ett större grundlager till lansering och därför så skjuter man nu på datumet tills någon gång i maj. Tumnagel
30.8°
0
HTC BlinkFeed kommer till andra Android-telefoner Snart behöver man inte M8 för att köra BlinkFeed För några dagar sedan presenterade HTC sin senaste flaggskeppmodell HTC One M8 och den körde, förutom HTC:s egna gränssnitt HTC Sense 5.0, en mjukvara som man kallar för HTC BlinkFeed som pushar nyheter, statusuppdateringar från sociala medier och annat till telefonens startskärm. Det är i pressmaterialet för HTC One M8 man hittar följande informaton: "Following its popularity with HTC users, HTC will now make HTC BlinkFeed available to other Android devices, launching on the Google Play store soon." Exakt när man kan ladda ner BlinkFeed till andra androidtelefoner framgår dock inte. Ovan kan ni kolla in lite hur BlinkFeed funkar. Tumnagel
40.4°
0
iOS Flashout 2 har svävat in på App Store Upplyftande tyngdlös racing Anti Gravity Racers är en skön subgenre som med sina snabba farkoster och häftiga miljöer gillas av många. Flashout 2 är just en sådan racer och det är en efterföljare till Jujubees första spel Flashout 3D som kom 2012. Flashout 2 har fyra spellägen som karriär, "destruction", eliminering och "versus". Onlinespel finns såklart också och du kan uppgradera dina skepp för att bli bäst på de 10 banorna som finns. [iOS (22kr)] Tumnagel
36.5°
0
Nu dumpar ryska politiker sina iPads Går över till Android och Samsung istället Brittiska The Guardian skriver att anställda på ryska myndigheter nu byter ut sina tablets från Apples iPad till Galaxy Tab-plattor från Apples största konkurrent, som även är en av Apples största leverantörer, Samsung. Enligt Ryssland så anses de specialkonfigurerade tabletsen från Samsung hålla en högre säkerhet än vad iPad kan erbjuda. Den ryske kommunikationsminister Nikolai Nikiforov bekräftar att bytet ägde rum för inte särskilt länge sedan och säger till The Guardian: "Some of the information at government meetings is confidential in nature and these devices fully meet these demands and have gone through the strictest system of certification." Nikiforov säger samtidigt att bytet inte har något att göra med de sanktioner USA och EU nyligen införde mot Ryssland som ett svar på deras invasion av Ukraina. Tumnagel
49.2°
0
iOS Träffa fulla robotar i nya iOS-spelet CLARC Kul pusslare! CLARC är en städrobot och möjligtvis en kusin till en annan känd städrobot, WALL-E. Våran CLARC jobbar dock på planeten Mars där mycket har gått fel bland robotar och datorer i en fabrik. Mycket tyder på att det är det objudna rymdskeppet M.O.T.H.E.R.s fel att robotarna festar loss och fabrikens datorer är höga på något annat än ettor och nollor. CLARC är ett pusselspel med mycket actionmoment i. Över 100 pussel i 25 riktigt stora banor. Spelet har en annorlunda "tecknad" look jag verkligen gillar. [iOS (28kr)] Tumnagel
37.4°
0
Deezer och 3 i exklusivt samarbete När musiktjänsten hårdsatsar på den svenska marknaden Den franska musikstreaming-tjänsten Deezer hårdsatsar nu på den svenska marknaden och erbjuder tillsammans med operatören Tre sin tjänst till reducerat pris för Tre-kunder. Deezer är en Spotifyliknande tjänst med runt 30 miljoner låtar i sitt bibliotek. Tjänsten körs vida datorns webbläsare eller via appar för iOS-, Android-, Windows Phone- samt BlackBerry-telefoner. Deezer kostar egentligen 99 kronor i månaden men Tre-kunder kan nu få första månaden fri samt ett halvår till det reducerade priset 49 kronor i månaden. Därefter betalar Tre-kunder 79 kronor i månaden för Deezer. Deezer har även utvecklat ett verktyg som man kallar för Spotizr [länk] med vilket man enkelt kan konvertera och importera sina spellistor från Spotify till Deezer. Deezer har 35 miljoner användare, finns i 182 länder och säger själva att de är den största streaming-tjänsten i världen. Tumnagel
37.1°
0
iOS Spela timmar i streck i nya Barcode Kingdom Ta med dig spelet till affären och scanna loss! I Barcode Kingdom skall du bygga upp ett kungadöme med duktiga trupper. Här finns också 350 unika vapen du kan sätta i händerna på dina män. Mår dom inte bra eller behöver något extra inför fajten, ja då är det potions dom vill ha. Som du förmodligen redan anat, på grund av spelets namn, så handlar Barcode Kingdom om att du skall scanna in streckkoder i spelet. Detta ger dig trupper, vapen och potions. Men du vet inte vilka. Det är det som är nöjet i spelet. Att få en sjukt bra rustning eller ett rostigt svärd. Spelet har 100 uppdrag och underuppdrag samt uppdrag som inte alls är våldsamma som till exempel leveranser och gruvarbeten. Online kan du invadera andra kungadömen och sno deras guld. Självklart har spelet, under den korta tid det funnits ute, en massa hjälpsamma spelare som kommit fram till riktigt bra streckkoder man kan använda. Mer info om hur du gör detta kan du hitta här. [iOS (7kr)] Tumnagel
36.5°
0
Android Timehop släppt till till Android Kolla in vad du pysslade med för ett år sedan Timehop var en webbaserad tjänst som vi skrev om för lite mer än två år sedan. Nu verkar man ha skrotat webbversionen och helt satsat på en appbaserad version av tjänsten. Sedan tidigare finns det en Timehop-app till iOS och idag släpper man även en version till Android. Ansluter man appen till Facebook, Twitter, Instagram, Foursquare och/eller telefonens egna fotoalbum plockar Timehop upp bilder och statusuppdateringar som publicerades av dig på dessa tjänster för ett år sedan. Det går även att koppla sitt DropBox-konto till tjänsten och man kan installera en app på datorn så att alla bilder där även blir tillgängliga för Timehop. Antagligen kul för alla nostalgiker och throwback thursday-fans. Timehop för Android hittas gratis i Google Play här och skulle du vara intresserad av iOS-versionen finns den i App Store här. Tumnagel
36.0°
0
WTO beslutar att Kina bryter internationella handelsregler Deras exportskatt på Rare Earth-metaller ger Kina en monopolställning Igår så tog World Trade Organization ett beslut om att de anser att Kina bryter mot internationella handelsregler. Anledningen är att Kina lägger på enorma ”skatter” på sina REM-tillgångar (Rare Earth Metals är metaller som används till stor del i elektroniktillverkning) om de ska exporteras till andra länder. Då Kina nästan har monopol på dessa metaller så betyder det att om andra länder vill tillverka exempelvis mobiltelefoner så kommer dessa att kosta mycket mer än om man tillverkar de i Kina och då inte bara pågrund av lönekostnader. Kina säger att de måste göra såhär för att deras naturtillgångar ej ska ta slut samt att det spar på miljön om man inte fraktar dessa metaller långa vägar. Då sådana här export-begränsande åtgärder är förbjudna enligt WTO så väljer de nu att säga till Kina på skarpen. Kina har 60 dagar på sig att överklaga vilket är troligt att de gör men frågan är om de ens kommer att bry sig om WTO:s beslut då resten av världen är såpass beroende av Kina att några värre sanktioner känns otroligt. Tumnagel
40.6°
0
Nästa sida + Per månad 39 kr Betala löpande per månad. Ingen bindningstid. Starta prenumeration Per år 299 kr Enklast och billigast, bara 25 kronor i månaden. Betala löpande per år. Ingen bindningstid. Prova 14 dagar gratis innan du bestämmer dig. Starta gratis provperiod Engångsköp 349 kr Slipp återkommande betalningar, betala ett år i taget. Betala med kort eller Swish. Köp utan prenumeration