Teknik Motor Samhälle Spel Popkultur Fritid Tjock Tester Dagens fråga Tipsa! Skaffa Feber+
Hetaste
Senaste
Alla Heta Kalla Öppna i ny flik onsdag 6 maj 2015 fortsättning Jeremy Clarkson har kört nya Corvette Z06 På en bana med ett filmteam... Om vi lägger ihop Jeremy Clarkson, en ny Corvette Z06, en bana och ett filmteam, vad får vi då? Ett nytt bilprogram? Jeremy twittrade i går ut en bild (nedan) som berättar att något verkar vara i görningen. Och vem är det som står där i bakgrunden? Kan det vara Richard Hammond? Som salt på ägget verkar det även som att förra The Stig, Ben Collins, var på samma plats i går med den här filmbilen. Klippet ovan visar när Jeremy testade förra generationen Z06 i Top Gear. I took this today..... pic.twitter.com/7UOIeWpWZB— Jeremy Clarkson (@JeremyClarkson) 5 maj 2015 Tumnagel
74.1°
0
Volkswagen släpper app till Apple Watch Håll koll på bilen direkt på armen Volkswagen America har uppdaterat sin Car-net-app till iOS och gett denna stöd för Apple Watch vilket gör att man kan hålla koll på en del grejer som har med bilen att göra utan att behöva ta upp telefonen ur fickan. Car-net till Apple Watch kan bland annat hålla koll på var bilen befinner sig, hur mycket bränsle som finns tillgängligt, hur slitaget på vissa av bilens delar ser ut, låsa/låsa upp bilen samt hålla koll på om någon dörr eller tackluckan är öppen. Car-net är finns för tillfället tillgängligt på vissa av VW:s modeller från 2014 och samtliga modeller från 2015. Tumnagel
45.8°
0
Mercedes kramar ut det sista ur Geländewagen Ger den ett sista lyft Mercedes G-Klass, G-Wagen eller Geländewagen fyller inte mindre än 36 år i dag. Ingen ålder för en bilmodell säger Mercedes och fortsätter att spinna vidare på den genom att ge den ett litet ansiktslyft. Bilen ska ha fått upp till 16 % mer effekt, lägre bränsleförbrukning, bättre avgasrening och ett gäng nya lackalternativ. För att se förändringarna måste man dock vara skarpsynt. Det som ändrats är stötfångaren och nya 18-tummare i hjulhusen. På insidan får man en ny klädsel och en 11.4 tum stor skärm i mittkonsolen. Dieselversionen G 350 d får den nya effekten 245 hästar och 600 Nm, G 500 får samma dubbelturbomatade V8:a på 4.0 liter som sitter i Mercedes-AMG GT och en effekt på 422 hästar och 610 Nm. Värst är som vanligt AMG-versionerna och här finns det två att välja mellan - AMG G 63 och AMG G 65. Den förstnämnda har en V8:a på 5.5 liter som ger 571 hästar och 760 Nm. Monstret G 65 får en V12:a på 6.0 liter som ger hela 630 hästar och har ett vrid på 1 000 Nm. Det räcker för 0-100 km/h på 5.3 sekunder. Alla versioner utom denna får start/stopp-teknik som standard. Premiär för faceliften blir i sommar. Tumnagel
46.6°
0
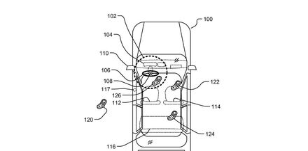
Styr bilens vindrutetorkare med ögonen Jaguar och Land Rover tar patent på ny eyetracking-teknik Jaguar och Land Rover har tagit patent på ett rätt smart sätt att kontrollera bilens bakre vindrutetorkare med hjälp av Eye Tracking. Tanken är att om chauffören anser att den bakre vindrutetorkaren behövs så sätts denna på som vanligt men istället för att gå kontinuerligt eller efter ett förutbestämt intervall så styrs vindrutetorkaren via chaufförens ögonrörelser. Då systemet kan känna av när användarens ögon börjar röra sig mot backspegeln kan den aktivera den bakre vindrutetorkaren som då förhoppningsvis hinner svepa bort vattnet från rutan precis innan användarens blick fästs vid backspegeln. Då man oftast tittar framåt när man kör bil så skulle system som det här antagligen kunna spara in lite pengar i form av mindre slitage på den bakre vindrutetorkaren. Tumnagel
39.3°
0
tisdag 5 maj 2015 Hur står sig nya Mercedes-Maybach S600 mot gamla Maybach 57S? Vad har hänt de senaste åren? Maybach dog, men återuppstod för ett tag sedan som Mercedes-Maybach. Nu har Dragtimes jämfört en "gammal" Maybach 57S mot nykomlingen Mercedes-Maybach S600 för att se hur modellen har utvecklats. Tumnagel
40.5°
0
Peugeot har slagit nytt rekord i snålkörning En 208 1,6 BlueHDI kom 215.2 mil på 43 liter diesel Det här med snålkörning är ganska så intressant och något nästan varenda biltillverkare trycker på är deras låga bränsleförbrukning. Vissa siffror känns nästan påhittade och det verkar nästan otroligt att en vanlig Svensson någonsin kommer att komma ner i det som sägs. För att visa att det med dagens motorer verkligen går att köra på riktigt lite bränsle satte Peugeot iväg med en 208 som var försedd med en 100 hästar stark 1,6-liters BlueHDI-motor under huven. På bara 43 liter diesel lyckades man komma hela 215.2 mil, vilket ger en snittförbrukning på bara 0.2 liter per mil. Siffrorna är också nytt rekord i bränsleförbrukning vid långdistanskörning. Rekordförsöket genomfördes under en 38 timmar lång körning på Peugeots testbana Belchamp. Tumnagel
54.0°
0
Rykte Trion som kan ta över Top Gear Sägs vara nära ett kontrakt Top Gear-snacket fortsätter och det senaste är att de tre originalen ersätts med nya ansikten. Den nya trion ska enligt rykten bestå av skådespelaren Philip Glenister, mångsysslaren Guy Martin och modellen Jodie Kidd. Om det blir dessa som skriver kontrakt väntas de dyka upp i rutan för en ny säsong tidigast nästa vår. Klippet ovan visar när Jodie Kidd var gäst i programmet för ett par år sedan. Tumnagel
-3.8°
0
måndag 4 maj 2015 Mer om bilarna i nya Bond-filmen Se Aston Martin DB10 och Jaguar C-X75 in action En av de viktigaste grejerna i en Bond-film är bilarna. I den kommande som heter Spectre får vi bland annat se en Aston Martin DB10 och en Jaguar C-X75 och i det här klippet får vi oss en närmare titt på dessa två. Tumnagel
45.0°
0
söndag 3 maj 2015 Snubbe har tagit fram Tesla-app till Apple Watch Verkar fungera bra Då Tesla ännu ej har någon app till Apple Watch bestämde sig app-utvecklaren Allen Wong för att ta fram en själv. I den här videon går han igenom och visar upp dess funktioner. Appen tog 3-4 dagar att ta fram och väntar nu på att bli godkänd av Apple innan den dyker upp i App Store. Bonus-Tesla nedan. Tumnagel
52.6°
0
Xcar testar Jaguar XE Hur står den sig mot sina motståndare? Alla biltillverkare vill ha något som konkurrerar med BMW:s 3-serie och den nya modellen XE är Jaguars tänkta kandidat för den uppgiften. I den här videon får vi se när Xcar tar sig en tur med bilen och försöker ta reda på om Jaggan har en chans. Tumnagel
39.0°
0
lördag 2 maj 2015 Det behövs mer än snygga linjer för att klå tyskarna Jag har kört Cadillac ATS Coupé Att Tyskland är duktiga på att leverera bra bilar det vet vi. Alla andra har som riktmärke att nå upp till samma nivå och en av de som försökt länge nu är Cadillac. Det har gått lite knackigt men amerikanarna ger inte upp. Den nya modellen ATS Coupé är deras vassaste motståndare hittills, men den är inte riktigt där än. Designmässigt har man äntligen hittat rätt och lyckats skapat något som sticker ut, men som vi alla vet är inte utseendet allt. Tumnagel
39.0°
0
Avicii frontar Volvos nya kampanj A New Beginning Nu står det klart att det är artisten Avicii som frontar Volvos nya kampanj som de har valt att kalla A New Beginning. Avicii, eller Tim Bergling som han egentligen heter, kommer bland annat att presentera en omarbetad version av Nina Simones klassiker Feeling Good som kommer att bli kampanjens officiella låt. "Volvo Cars varumärke är på väg uppåt, precis som Avicii, vars publik bara blir större och större. Vi tyckte att bästa sättet att fira vårt svenska arv och vår passion för livet var att tillsammans producera något speciellt som återspeglar vilka vi är och vad som är viktigt för oss." Låten med tillhörande musikvideo släpps den 8 maj. Tumnagel
57.7°
0
fredag 1 maj 2015 Ny toppversion för Volkswagen Passat TSI 280 GTR Vill man ha ett lite sportigare utseende på sin nya Passat väljer man till R-Line-paketet och detta är nu släppt till den senaste generation. Samtidigt rullar Volkswagen även ut ett nytt motoralternativ, som faktiskt matchar utseendet - TSI 280 GTR. Det här är en rapp toppversion med turbomatad bensinfyra på hela 280 hästar och 350 Nm, DSG-låda, fyrhjulsdrift och de båda R-Line-paketen som standard. GTR-versionen kommer både som sedan och kombi, börjar levereras i augusti och kostar från 424 900 kronor (sedan), 434 900 kronor (kombi). Beträffande R-Line så erbjuds exteriörpaketet till alla Masters-versioner, medan R-Line exteriör och interiör går att få till GT och GTS. Vad paketen innehåller och vad de kostar finns att läsa i pressmeddelandet nedan. Tumnagel
45.5°
0
torsdag 30 april 2015 Audi R8 föder ut en Audi RS 3 Dagens mest bisarra video? I höstas fick vi se en något bisarr reklamfilm från Mercedes där en lastbil av modellen Actros och en S63 AMG Coupé idkade älskog och tillsammans fick modellen Vito. Väldigt märkligt och inget man brukar se varje dag direkt. Nu verkar Audi ha hakat på bisarrheten med att bilar förökar sig, för här får vi nämligen se när en R8 föder en RS 3. Tumnagel
37.4°
0
onsdag 29 april 2015 Robotar flyttar bil Om man behöver flytta misstänkta fordon Autonomous Vehicle Emergency Recovery Tool (AVERT) är ett system som är utvecklat till poliser, räddningstjänst och andra som till exempel behöver flytta ett misstänkt fordon. Systemet består av en robot som kan scanna av sin omgivning samt fordonet och denna kan sedan ge instruktioner till andra robotar som då placerar sig vid fordonets däck, lyfter dessa några centimeter från gatan för att sedan flytta fordonet. I framtiden skulle man antagligen kunna använda AVERT eller liknande system för att parkera bilar i parkeringshus och liknande. Tumnagel
49.2°
0
Det här är vad praktikanterna hos Skoda har byggt En Fabia-pickup som kommer att ställas ut på Wörthersee Precis som vi har sett tidigare brukar Skoda ta in praktikanter för att bygga något som sedan visas upp på den årliga Wörthersee-träffen. Årets bidrag kallas för FUNstar, och det är en Skoda Fabia som byggts om till pickup av 23 stycken praktikanter i åldrarna 17 och 18 år. Under huven sitter en 1.2-liters TSI-motor på 121 hästar kopplad till en sjustegad DSG-låda. Från början ville man trycka ner en 1.8-litersmotor men denna visade sig vara för stor för att få plats. Förutom ny lack, lite gröna inslag och luftintag på huven har man sportat till interiören med nya stolar och ett ljudsystem på 1 400 watt. Fler bilder på bilen hittas på länken nedan. Tumnagel
52.2°
0
Bilar som är med i olyckor ska själva kunna ringa efter hjälp eCall är ett nytt EU-förslag EU-parlamentet har röstat igenom ett förslag som ska göra det möjligt för bilar att själva ringa upp och rapportera när de krockar eller är med om andra olyckor. Man kallar systemet för eCall och när bilen ringer upp 112 så kommer den att lämna information om vilken typ av fordon det handlar om, vilket bränsle som används samt när och var olyckan skedde. Den tjeckiska EU-ledamoten Olga Sehnalova som har lett förhandlingarna angående eCall säger: "When you cross a border you have a language problem and often do not even really know where you are. The information is transferred only at the moment a serious accident occurs and airbag sensors are set off. Then a standard set of information is sent to the rescue services." Nya bilar som säljs i Europa kommer att ha eCall installerat som standard från och med 31:a mars 2018 och man förväntar sig att utrustningen som måste installeras kommer att göra en bil ungefär 100 euro (925 kronor) dyrare. Tumnagel
66.7°
0
Polestar trimmar nu även Drive-E-motorer Får mer fart på de snålaste modellerna Polestar Performance breddar nu sin optimeringstjänst genom att även erbjuda sin kunskap till Volvos Drive-E-motorer. Christian Dahl som är vd för Polestar säger följande: "Den nya generationen är ett stort steg framåt. Genom att expandera våra optimeringar till drivlinan kan vi erbjuda en helt ny dimension av förbättrad körupplevelse för prestanda-orienterade Volvo-kunder." Bilar som utrustas med Polestars grejer får alla optimerad motorprestanda, gasrespons, växlingshastighet, växlingsprecision och off throttle-respons. Som vanligt behålls Volvos garanti. De första optimeringarna släpps den sista veckan i juni till T6, T5, D5 och D4-motorerna. Mer om vad man får finns att läsa i pressmeddelandet nedan. Tumnagel
51.6°
0
tisdag 28 april 2015 Leukemisjuke Michael får en tur i sitt drömåk En Bugatti Veyron 16.4 Grand Sport Vitesse Sjuårige leukemisjuke Michael älskar bilar och han har stenkoll på alla de senaste superbilarna som finns på marknaden. Hans absoluta drömbil är Bugatti Veyron 16.4 Grand Sport Vitesse. Make-A-Wish-stiftelsen som verkar för att uppfylla svårt sjuka barns önskningar såg till att Michael fick spana in lite feta bilar och de ordnade även så att han fick åka med i just en sådan Bugatti han älskar. Tumnagel
79.6°
0
Motor Trend testar Cadillac ATS-V Är den bättre än BWM M3? Cadillac ATS-V presenterades förra vintern och det har från början varit helt klart varför Cadillac tagit fram denna bil - för att klå ärkerivalen BMW M3. Motor Trend har testat bilen för att ta reda på om den lever upp till dess lömska plan. Tumnagel
37.6°
0
Första reklamfilmen för nya Mini John Cooper Works Låter trevligt I december förra året presenterades den senaste versionen av Mini John Cooper Works. Den där versionen som fått lite extra krut under huven och förfinats ytterligare av JCW. Den turbomatade fyran på 2.0 liter levererar här 231 hästar och 320 Nm och den kopplas antingen till en sexpetad manuell växellåda eller en sexstegad automat. 0-100 km/h ska gå på 6.1 sekunder med den sistnämnda. Nu får vi ta del av den första reklamfilmen för bilen, som förutom lite bilder på ekipaget bjuder på lite härligt motorljud. Tumnagel
39.1°
0
Nu levererar Audi bilen till dörren Hyrbilskoncept på prov i San Fransisco Audi har börjat testa en ny tjänst i San Fransisco som man kallar för Audi on demand. Kort så är det en hyrbilstjänst med en twist, de levererar bilen till där du är och du låser upp den med mobilen. Som man gör, i framtiden. Man bestämmer helt enkelt vilken bil man vill ha, vart man vill att den ska levereras och vart man tänker dumpa den. Man kan hyra från ett dygn upp till 28 dagar i taget och man kan välja mellan de flesta av Audis modeller; vill man ha en R8 går det bra, vill man ha en Q5:a med bilbarnstolar och skidbox går det bra. Alla modeller ska vara välutrustade, ha Quattro och full navigering. Men smakar det så kostar det, en A4 ska enligt skärmdumpen på iTunes gå loss på 155 dollar per dygn medan en R8 Spyder enligt The Verge ska kosta 1285 dollar per dygn. Tjänsten är som sagt i betaversion i San Fransisco just nu och kommer till fler städer i USA med tiden. Tumnagel
40.2°
0
måndag 27 april 2015 Richard Hammond löser tristessen med en åktur I en gammal Lagonda från 1931 Sedan Top Gear lades på is verkar det som att både Richard Hammond och James May ha riktigt tråkigt. De båda verkar sakna sitt jobb och försöker sysselsätta sig med diverse andra saker innan de vet vad som händer i framtiden. James har postat lite klipp på tuben när han lagar mat och Richard har vallat några får. Men nu får vi ett klipp från Richard där han faktiskt kör lite bil, en gammal brittisk Lagonda från 1931. Tumnagel
55.2°
0
Så fungerar förspännaren i ett säkerhetsbälte The Slow Mo Guys visar Gav och Dan som tillsammans bildar The Slow Mo visar här hur en förspännare till ett säkerhetsbälte fungerar i slow-motion. Tumnagel
43.8°
0
Volkswagen Golf R 400 blir verklighet Men den får inte 400 hästar För ungefär ett år sedan visade Volkswagen upp konceptbilen Golf R 400. Det var en ännu hetare version av vanliga R som hade fått hela 100 hästar extra. Nu bekräftas det att bilen kommer att sättas i produktion, och den får faktiskt ännu fler hästar än vad konceptbilen hade - 420 stycken närmare bestämt. Under huven sitter samma motor som i GTI och R-bilarna, det vill säga EA888 som den heter. Det är en fyra på 2.0 liter med turbo och som här alltså skrämts upp till hela 420 hästar. I konceptbilen som visades förra året handlade det om 400 hästar och det räckte för att ta bilen från 0-100 km/h på 3.9 sekunder och ge den en toppfart på 280 km/h. Till motorn kopplas en sexstegad DSG-låda. Vad produktionsbilen kommer att bjuda på är förutom effekten oklart för tillfället. Troligtvis visas den upp på bilmässan i Frankfurt i höst med en försäljningsstart strax därefter eller i början av nästa år. Tumnagel
61.5°
0
söndag 26 april 2015 Det är dags att sluta göra narr av Corvette Jag har äntligen kört C7 och jag är imponerad Det tog ett tag men nu har jag äntligen gjort det. Provkört nya Chevrolet Corvette alltså. När bilen släpptes kastade sig journalisterna över den för att utröna om Corvette fortfarande fick se sig slagen av tyskarna eller om de nu faktiskt hade något att komma med. Och till allas förvåning, och förtjusning, hade något revolutionerande hänt. Bilen var inte bara uppsnäppt på alla punkter, den slog även motståndet på fingrarna. Och det till ett pris som faktiskt inte krävde att man sålde sina organ. Jag önskar så att jag kunde säga något annat än det som redan är sagt, men det går helt enkelt inte - C7:an är för bra för det. Tumnagel
59.9°
0
lördag 25 april 2015 Man färdas som en kung i nya Cadillac Escalade Jag har kört den bästa suven Amerika har att erbjuda Allt är större i Amerika. Och ja, i detta fall stämmer det faktiskt. Escalade har alltid varit stor såklart, men det är inte så ofta man stöter på en här hemma i Svedala. Nu säljs den dock här och då måste man ju givetvis prova på hur det är att ratta det den stora familjen med lite tjockare plånbok kör där borta. Jag fick nycklarna till ett exemplar och efter ett dygn förstår jag varför bilen har fått den status den har. Tumnagel
37.4°
0
fredag 24 april 2015 Köp Supran Paul Walker kör i Fast & Furious Säljs snart på auktion Om inte Toyota Supra var känd för allmänheten innan så blev den garanterat det efter den första Fast & Furious-filmens intågande. Den var en av de första bilarna vi fick se Brian O’Conner (Paul Walker) brumma runt med och just detta exemplar kan nu faktiskt bli ditt. Supran som är från 1993 kommer att säljas via Mecum Auctions på deras Indy-event som de har i Indianapolis mellan den 12 och 17 maj. Bilen förväntas gå under klubban för mellan 150 000 och 200 000 dollar. Bilder på bilen hittas på länken. Bonus-Furious nedan. Tumnagel
38.6°
0
Top Gear-producent slutar Andy Wilman tackar för sig Turerna kring Top Gear är många nu, och det senaste är att producenten Andy Wilman tackar för sig och lämnar programmet. Redan för en månad sedan började det spridas rykten om att han skulle gå när ett email till de anställda spred sig på nätet. Det mailet handlade dock om de senaste händelserna och att alla inblandade nu skulle blicka framåt och gå vidare, men det hela feltolkades och Andy dementerade att han tänkte sluta. Nu blir det dock så ändå. För 15 år sedan höll Top Gear på att läggas ned och det var då Andy och Jeremy tillsammans återupplivade serien och gjorde den till den succé den har blivit. Som jag skrev i går har även James May sagt att han inte kommer att återvända till showen utan Jeremy Clarkson, vilket indirekt innebär att han också tackar för sig då det är högst otroligt att BBC kommer att anställa Jeremy igen. Tumnagel
47.0°
0
Premiärdatum för Furious 8 14 april, 2017 I går meddelade Vin Diesel att nästa film i Fast & Furious-filmserien har biopremiär den 14 april 2017. Diesel nämnde även att de kommer göra den bästa filmen man sett. Det är oklart vem som kommer stå för regin och vad den kommer handla om är oklart i skrivandets stund. Tumnagel
19.0°
0
torsdag 23 april 2015 Tyst drifting med en Tesla Model S Nobuteru Taniguchi sladdar I Japan anordnar man gärna driftingtävlingar där målet är att bjuda publiken på så feta och rykande sladdar som möjligt, helst till ett ylande motorvrål. Super GT-föraren Nobuteru Taniguchi hade dock med sig en Tesla Model S så hans uppvisning blev något tystare än vanligt. Tumnagel
61.2°
0
Amazon Prime-kunder med Audis får sina paket skickade till bilen Endast i Tyskland dock Tyska Amazon kommer dra igång ett test som ska göra det lättare för Prime-kunder att få sina paket från företaget. Kunden berättar var sin bil är parkerad, sedan kommer en DHL-leverantör att köra paketet till bilen och lägga dina varor i bagageutrymmet. När leverantören är på väg till din bil så skickas en engångskod som DHL-föraren kan använda för att få upp bakluckan. För kunna ta del av detta otroligt smidiga leveranssätt så behöver du vara Prime-kund samt äga en Audi. Första fasen kommer att gå av stapeln nästa månad och Prime-kunder med Audis som bor i Munchen kommer kunna testa det nya leveranssättet. Tumnagel
61.7°
0
Fullt ös med en Bentley Continental GT3-R Med Chris Harris bakom ratten Chris Harris har fått lägga vantarna på en Bentley Continental GT3-R och då vet ni vad som väntar - breda sladdar, gött snack och mycket information. Mer om bilen kan du läsa i den inlänkade artikeln nedan. Tumnagel
39.1°
0
Jeremy Clarkson lovar att göra ett nytt bilprogram När och hur är dock oklart Uppdaterat: James May säger i ett uttalande att det inte blir något Top Gear för hans del utan Jeremy. Top Gear som vi känner det är som ni säkert alla redan vet över, men det är inget som kommer få Jeremy Clarkson att ge upp allt som har med bilar att göra bara för det. I hans senaste uttalande lovar han att han kommer att göra en ny bilshow men att det då av naturliga skäl inte kommer att bli tillsammans med BBC. Hur den kommer att se ut är dock oklart för tillfället. I övrigt har BBC, som vi tidigare har skrivit om, bekräftat att man kommer att sända de tre sista avsnitten av Top Gear säsong 22, troligtvis någon gång i sommar. Dock kommer dessa vara utan studioklippen, som alltid spelas in precis innan det övriga materialet sänds. BBC berättar också att de kommer att köra vidare med Top Gear men att de ännu inte har hittat någon ersättare för Jeremy. Det är fortfarande oklart om James May och Richard Hammond kommer att vara med på detta tåg. Bonus-bilprogram nedan. Tumnagel
53.8°
0
onsdag 22 april 2015 Lamborghini Aventador SuperVeloce begränsas till 600 exemplar Skynda fynda! Stephan Winkelmann, vd för Lamborghini, berättar nu att man har satt en siffra på hur många utav värstingbilen Aventador LP740-4 SuperVeloce man kommer att bygga - 600 stycken. Det kanske inte låter som så många, men då får man också ha i åtanke att det är en bil som väldigt få personer kommer att kunna köpa. Föregångaren, Murciélago LP 670–4 SuperVeloce skulle ursprungligen bara byggas i 350 stycken exemplar, men det blev inte fler än 186 då man var tvungen att stänga ner produktionen och göra plats för den nya modellen Aventador. Så om du vill ha något riktigt exklusivt i din bilsamling är det Murciélagon du ska spara ihop till. Tumnagel
39.1°
0
Naken kolfiberversion av Donkervoort D8 GTO Bare Naked Carbon Edition Nederländska Donkervoort presenterar nu en specialversion av deras modell D8 GTO. Bilen får tilläggsnamnet Bare Naked Carbon Edition och det är en svart historia med kolfibertema. Det man har gjort är endast klarlacka kolfiberkarossen vilket i sin tur ger den ett råare stuk. Det här ska enligt tillverkaren bland annat visa bilens mörka sida och det har de lyckats med. Allt är verkligen i kolfiber - stolar, dörrar, skärmar och instrumentpanelen för att nämna några saker. Under det mörka skalet är det samma saker som tidigare, vilket innebär en turbomatad Audi-femma på 2.5 liter som ger 400 hästar och har ett vrid på 450 Nm. 0-100 km/h ska gå på tre sekunder blankt och toppfarten anges till 255 km/h. När specialversionen släpps och vad priset då kommer att vara framgår tyvärr inte för tillfället. Tumnagel
47.0°
0
Spana in Batmans nya åk Den här kommer Ben Affleck ratta i Batman v Superman: Dawn of Justice Tidigare har vi bara fått skymta den nya Batmobilen som kommer att finnas med i den kommande filmen Batman v Superman: Dawn of Justice men nu får vi en någorlunda bättre titt på hur den ser ut. Vad tycker ni om den? Filmen släpps i mars nästa år. Tumnagel
39.6°
0
Harry Metcalfe tar sig en titt på Lamborghini Huracán Bättre än Countach? Harry Metcalfe har haft besök av en Lamborghini Huracán och i det här klippet försöker han ta reda på hur mycket den skiljer sig från hans egna Countach. Tumnagel
42.3°
0
tisdag 21 april 2015 Parkeringsgarage på höjden Har plats för 16 bilar men tar samma plats som 2 På bara sju dagar smackar ett koreanskt företag upp ett parkeringsgarage som har plats för 16 stycken bilar men som inte tar upp mer plats än två vanliga parkeringsplatser. Deras idé är att bygga på höjden snarare än bredden. Inte så tokigt. Lösningen är inget nytt utan har funnits ända sedan 30-talet, och en video på hur det såg ut på den tiden finns på länken nedan. Tumnagel
69.5°
0
Galet koncept från Chevrolet FNR är en elbil som kör själv Det är inte bara produktionsbilar och kopior på bilmässan i Shanhai utan självklart även ett par koncept. Chevrolet står nog för det allra mest vågade med FNR Concept - en självkörande sak som ser ut att komma från rymden. Bilen är eldriven och tanken är alltså att du bara ska vara passagerare och att den ska köra dig dit du vill. På insidan finns fyra separata fåtöljer som går att rotera så att man sitter mot varandra om man exempelvis vill ha ett möte eller bara gillar att titta på sina medpassagerare. Tyvärr får vi inte reda på så mycket mer om FNR för tillfället. Bilder från mässgolvet finns på länken nedan. Tumnagel
45.8°
0
Sverigepremiär för Volkswagen Golf Alltrack och Golf Sportscombi R Dyker upp nästa månad I början på nästa månad är det Sverigepremiär för de nya Golf-versionerna Alltrack och Sportscombi R. Två kombibilar med olika fokus, en som gärna kör grusväg till stugan och en som gärna smiskar motorväg i hög hastighet. Alltrack erbjuds med två olika motorer - en ny turbomatad bensinfyra på 180 hästar och en turbodiesel som ger 184 hästar. Fyrhjulsdrift är standard oavsett motorval. För bensinversionen får man betala 269 900 kronor, dieseln är lite dyrare med sin prislapp på 291 900 kronor. Sportscombi R är kombiversionen av vanliga Golf R och den bjuder på fyrhjulsdrift och en rapp turbofyra på 2.0 liter som ger 300 hästar. Bilen har DSG-låda som standard och gör 0-100 km/h på 5.1 sekunder. Priset för den här börjar på 405 500 kronor. Tumnagel
41.1°
0
Roliga kopior på bilmässan i Shanghai Attack of the clones Det skulle vara att fara med osanning om man sa att Kina inte gillade att kopiera populära prylar, kläder och bilar. Det sistnämnda finns det en hel del av på bilmässan i Shanghai som pågår just nu och Auto Express visar här upp några av de roligaste och mest skamlösa exemplaren. Tumnagel
44.0°
0
Furious 7 drog in en miljard dollar på 17 dagar Nytt rekord Den sjunde filmen i Fast & Furious-serien, Furious 7, verkar ha gått omåttligt bra på bio och från Hollywood meddelas att filmen drog in en miljard dollar de första 17 dagarna den fanns tillgänglig på bio. Det ska vara den 20:e filmen genom tiderna som spelat in en miljard dollar och den som gjort det snabbast någonsin. Totalt toppar dock Avatar inkomstligan då denna har spelat in runt 2,8 miljarder dollar till dags dato. Det var 14 år sedan den första Fast & Furious-filmen dök upp men frågan är väl om det blir någon Furious 8 då huvudrollsinnehavaren Paul Walker dog tragiskt i en bilolycka 2013. Jo, det blir en Furious 8 också. Tumnagel
37.3°
0
Fredrik Sørlie är ute och sladdar igen Samma bil, men denna gång på snö I november förra året fick vi se när norrmannen Fredrik Sørlie på ett snyggt sätt driftade runt med sin Toyota Cressida på Ringen. Nu är han tillbaks i en ny film, men denna gången har asfalten bytts ut mot snö. Tumnagel
45.2°
0
måndag 20 april 2015 David Hasselhoff berättar lite om KITT Och om Knight Rider David Hasselhoff blickar bakåt i tiden tillsammans med Aficionauto Channel när han hoppar in bakom ratten på den världsberömda bilen KITT och berättar lite om serien vi alla älskar - Knight Rider. Tumnagel
46.4°
0
CarPlay kommer även till Porsche Nu kan vi alla andas ut! Apple fyller på i lagret med tillverkare som har stöd för CarPlay, den senaste i raden är lyxbilstillverkaren Porsche som är biltillverkare nummer 34 i ordningen som tillkännager stöd för CarPlay. Även tredjepartstillverkare som Parrot och Pioneer har stöd för CarPlay som nyss kom till Sverige. Tumnagel
39.0°
0
Volkswagen visar C Coupe GTE Concept En blandning mellan Passat och Phaeton Vid sidan av Sport Coupé Concept GTE som Volkswagen visade upp i början på mars presenteras nu C Coupe GTE Concept på Auto Shanghai i Kina. Den här sportiga fyrdörrarscoupén visar igen hur Volkswagen tänker med sitt framtida designspråk och om den hamnar i produktion blir det en vagn som lägger sig mellan dagens Passat och toppmodellen Phaeton. Konceptbilen mäter 5.07 meter på längden, 1.9 på bredden, 1.44 på höjden och har en hjulbas på 3.01 meter så det är en rejäl sak vi snackar om. Under skalet bor ett hybridsystem som består av en turbomatad bensinfyra på 2.0 liter som ger 210 hästar. Till den kopplas en elmotor på 124 hästar. Det kombinerade vridet anges till 500 Nm och all kraft går via en åttastegad automatlåda till alla fyra hjulen. Förbrukningen anges till 0.23 liter per mil och 50 gram CO2 per kilometer. På bara el ska man kunna köra i upp till fem mil. Planen är att C Coupe GTE Concept ska bli verklighet till nästa år och lanseringen kommer då till en början att ske i Kina. Tumnagel
47.6°
0
BMW visar några av funktionerna i nya 7-serien Den kan exempelvis köra in- och ut ur garaget själv Nya 7-serien från BMW är runt hörnet och för att hajpa inför presentationen släpper tillverkaren nu en video som visar upp några av bilens funktioner. Bland annat kommer den med en ganska så smart nyckel som med ett knapptryck kan locka ur bilen ur garaget, eller parkera den där när man kommit hem. Du behöver alltså inte ens sitta i bilen när detta sker, vilket är ganska coolt. Även om vi inte får se hur nya 7-serie ser ut i denna video läckte bilen ut i sin helhet redan i januari. Premiär blir det på bilmässan i Frankfurt i höst. Tumnagel
51.9°
0
Mercedes presenterar utmanare till BMW X4 GLC Coupé concept I dag öppnar Auto Shanghai i Kina och i Mercedes monter kommer bland annat den här nya konceptbilen att stå. Den kallas för GLC Coupé Concept och är en förhandsvisning på Mercedes svar på BMW X4. Konceptet mäter 4.27 meter på längden, 2 meter på bredden och 1.59 på höjden. Hjulbasen anges till 2.82 meter. Det är både längre och bredare än X4. Under huven sitter det en V6:a på 3.0 liter med dubbla turbo och den ger 367 hästar och har ett vrid på 520 Nm. Till den kopplas en niostegad automatlåda som i sin tur skickar kraften till alla fyra hjul. Nästa år förväntas produktionsversionen dyka upp. Tumnagel
38.8°
0
Volvo förvandlar XC90 till lounge Kastar ut passagerarstolen så att du kan sträcka på benen Tycker du inte att XC90 Excellence som vi fick se förra veckan är lyxig nog? På Auto Shanghai i helgen visade Volvo ytterligare en nivå av lyxighet i form av Lounge Console. Här har man plockat ur passagerarstolen så att den som sitter i baksätet kan sträcka ut benen rejält. Thomas Ingenlath som är Senior Vice President Design hos Volvo säger följande: "Vi började med att titta närmare på högre chefers livsstil. Med vår framtidsorienterade syn på form och funktion i premiumsegmentet, analyserade vi behoven och upplevelserna hos en person med egen chaufför och konstruerade sedan bilen runt honom eller henne i den anda som är målet för vårt varumärke. En viktig del av vårt tänkande var hur vi kunde utnyttja det befintliga interiörutrymmet på ett optimalt sätt, med en känsla av lyx. Genom att ta bort passagerarsätet kunde vi skapa ett öppet utrymme som ändrade interiörens dynamik på ett dramatiskt sätt, vilket ledde till ett fyrverkeri av nya idéer och möjligheter." Förutom mer plats för benen får man även ett arbetsbord och fack för förvaring. När man inte använder bordet kan man istället fälla upp detta och får då en 17 tum stor mediaskärm att använda för filmtittning eller annat. Lounge Console presenteras som ett koncept och det är oklart om det här kommer att bli ett tillval i framtiden. Tumnagel
76.1°
0
Jeremy Clarkson trodde att han hade cancer Berättar om tiden innan händelsen Som ni vet har det varit lite ståhej runt Top Gear och nu har Jeremy Clarkson berättat lite närmare vad som gjorde att han fick en knäpp och slog en av producenterna till Top Gear. Två dagar innan händelsen som det varit enorma skriverier om ska Clarkson ha fått ett besked om att han kanske hade cancer i tungan, något han inte direkt kunde kolla upp eftersom de spelade in Top Gear. Detta, i kombination med skilsmässa ska ha gjort att Jeremy inte riktigt var i topptrim. Men som han själv säger i intervjun... But everyone has stressful days, and they manage to cope better than I had. Just nu verkar Richard Hammond förresten vara lite uttråkad. I den tio minuter långa videon ovan får vi se vad han sysselsätter sig med just nu. Tumnagel
44.9°
0
lördag 18 april 2015 McLaren F1 möter McLaren P1 Old school vs new school Nu har Evo äntligen gjort det, ställt originalet mot framtiden - McLaren F1 mot McLaren P1. Två superbilar med över 20 års ålderskillnad, den ena världens mest extrema bil då, den andra världens mest extrema bil i dag. F1:an är från 1995 och den 39:e bilen McLaren byggde. Den har chassinummer 46 och ägare av F1:or fick möjligheten att köpa P1 med samma chassinummer när den släpptes, och det är precis vad ägaren till dessa bilar gjorde. Evo fick låna bilarna och åkte till södra Frankrike för att se vad som har hänt under åren, och till vår glädje hade de med sig en filmkamera. Tumnagel
48.4°
0
fredag 17 april 2015 Hyundai vill att bilen ska ta kontroll över mobilen under körning Blir säkrare så Den sydkoreanska biltillverkaren Hyundai har tagit patent på ett system som gör så att vissa av en mobiltelefons funktioner inte fungerar om telefonen befinner sig i närheten av förarsätet. Det innebär bland annat att bilföraren inte kommer att kunna SMS:a om bilen rullar medan eventuella passagerare fortsatt ska kunna använda sina mobiltelefoner som vanligt. Uppdateringar av till exempel Facebook-, Instagram, Twitter- och liknande flöden ska även dessa kunna styras av bilen så att chauffören har fullt fokus på trafiken och inget annat. Huruvida Hyundai faktiskt funderar på att bygga in sådana här system i sina bilar i framtiden finns det inga uppgifter om. Tumnagel
51.6°
0
Paret som älskar bilar Mr. and Mrs. Scion FR-S Justin har alltid varit en bilkille men det var inte hans tjej Ria när de först träffades. Hon blev dock mer och mer intresserad och när de båda behövde varsin bil nöjde de sig inte med vilka som helst - kravet var en sportig bil med bakhjulsdrift. Det slutade med att de skaffade varsin flång ny Scion FR-S som de har kittat på sina egna vis. Tumnagel
39.7°
0
R200 Non-Fiction är en Audi R8 byggd för att fira en klassisk Skoda Finns faktiskt på riktigt och börjar säljas nästa år I år fyller den klassiska rallybilen Skoda 130 RS 40 år och för att fira detta har ett gäng tjeckiska entusiaster tagit fram ett eget bygge baserat på en Audi R8 V8. R8:ans takform finns kvar men i övrigt ser bilen helt annorlunda ut. Nosen har fått två stora ögon i form av strålkastare från Bentley Mulsanne medan baken har lånat lampor från Lamborghini Gallardo. Bygget tog 18 månader att färdigställa. I januari nästa år är tanken att man ska dra igång en liten produktion om 24 stycken bilar och prislappen är satt till 255 000 euro per exemplar. Bilderna vi ser här är bara renderingar men bilen finns faktiskt på riktigt och står för närvarande utställd på DOX Center for Contemporary Art i Prag, bilder därifrån hittas på länken nedan. Tumnagel
37.8°
0
Apple CarPlay finns nu i Sverige Har nu stöd för 25 länder Apple har meddelat att man lägger till ytterligare fem länder bland de som har stöd för deras CarPlay, det vill säga integration med iOS i bilar. Förutom Sverige får nu även Danmark, Nederländerna, Nya Zeeland samt Ryssland stöd för CarPlay. Tidigare den här månaden fick även Brasilien, Kina, Indien, Thailand samt Turkiet CarPlay-stöd. Utav dessa fem länder är det dock bara Kina som har stöd för Apple Maps i CarPlay. Tumnagel
42.8°
0
torsdag 16 april 2015 Volkswagen visar Scirocco GTS i ny skrud Snäppet under R Förra året presenterade Volkswagen en faceliftad version av modellen Scirocco och nu är det dags för GTS-versionen i den senaste skruden att göra entré. Premiären äger rum på Shanghai Auto Show och det här är i princip en Golf GTI fast med en annan form. Under huven sitter samma turbomatade fyra på 2.0 liter som i GTI och den ger 220 hästar. 0-100 km/h ska med sexpetad manuell låda gå på 6.5 sekunder och toppfarten anges till 246 km/h. En sexstegad dubbelkopplingslåda finns som tillval. Förutom en ärtig motor får bilen ett R-Line-paket med lite roligare stötfångare runt om, svart grill, svarta backspegelskåpor, takspoiler, sidokjolar, 18-tumsfälgar och röda bromsok. Insidan går i svart och rött och man sitter i hyfsat skålade sportstolar. Vad nya Scirocco GTS kommer att kosta och när den lanseras är oklart för tillfället. Tumnagel
44.7°
0
Audi Prologue Avant Concept får Allroad-behandling Och mer effekt - 734 hästar I slutet på februari fick vi ta del av Audis nya konceptbil Prologue Avant. Nu kommer ytterligare en version på samma kärra - en förhöjd skogsmullevagn som på Audispråk betyder en Allroad. Men det är inte bara lite mer luft mellan marken och skrovet som gäller här, man har även skruvat upp effekten från tidigare 455 till 734 hästar. Under det yxiga skalet och bakom de 22 tum stora fälgarna sitter motorn som är en bensin-V8:a på 4.0 liter med dubbla turbo. Den kopplas till en elmotor och den totala effekten anges alltså till 734 hästar och 900 Nm. Självklart fördelas all denna kraft till alla fyra hjul och detta görs via en åttastegad automatlåda. 0-100 km/h ska gå på 3.5 sekunder och förbrukningen anges till 0.24 liter per mil. Premiären äger rum på Auto Shanghai 2015. Tumnagel
41.7°
0
Den finska elbilen Toroidion 1MW är här Koncept med 1 341 hästar För ett tag sedan fick vi en teaser på elbilen Toroidion 1MW - ett nytt koncept från Finland. I dag presenterades bilen på Top Marques i Monaco och så här ser den ut. Toroidion 1MW är ritad, utvecklad och tillverkad i Finland och bjuder på inte mindre än 1 341 elhästar. Tyvärr är informationen väldigt knapphändig för tillfället så vi får återkomma med mer specifikationer när det finns. Det finns planer på att sätta bilen i produktion, men först vill man se hur den tas emot. Vad tycker ni? Tumnagel
50.1°
0
Peugeot visar fyrhjulsdrivet koncept med 500 hästar Bygg! Den 22 april är det dags för bilmässan Auto Shanghai i Kina och där kommer Peugeot att visa upp en riktig smällkaramell - 308 R HYbrid. Det är en konceptversion på vanliga 308 byggd av Peugeot Sport där man har lagt till fyrhjulsdrift och en hybriddrivlina som bjuder på hela 500 hästar och 730 Nm. Under huven sitter en turbomatad bensinfyra på 1.6 liter som ger 270 hästar och 330 Nm. Till den kopplas en sexpetad manuell växellåda och drivningen sker på framhjulen. På framaxeln sitter en elmotor på 115 hästar och ytterligare en med samma specifikationer har man placerat på bakaxeln = fyrhjulsdrift. Viktfördelningen ska vara 60 procent fram och 40 bak. 0-100 km/h ska gå på fyra sekunder blankt. Det finns fyra olika körlägen - Hot Lap, Track, Road och ZEV. Det förstnämnda är det värsta läget där all effekt finns, det andra begränsar effekten till 400 hästar och 530 Nm, det tredje är mer sansade 300 hästar och 400 Nm och det sista det rena elläget. Vad tycker ni? Är 308 R HYbrid något Peugeot borde göra verklighet av? Tumnagel
53.2°
0
Nästa sida + Per månad 39 kr Betala löpande per månad. Ingen bindningstid. Starta prenumeration Per år 299 kr Enklast och billigast, bara 25 kronor i månaden. Betala löpande per år. Ingen bindningstid. Prova 14 dagar gratis innan du bestämmer dig. Starta gratis provperiod Engångsköp 349 kr Slipp återkommande betalningar, betala ett år i taget. Betala med kort eller Swish. Köp utan prenumeration