Teknik Motor Samhälle Spel Popkultur Fritid Tjock Tester Dagens fråga Tipsa! Skaffa Feber+
Hetaste
Senaste
Alla Heta Kalla Öppna i ny flik fredag 15 augusti 2014 fortsättning TV-tips Shark Week på Discovery startar i helgen Men håller sig kanske inte helt till verkligheten tyvärr Den här veckan har amerikanska Discovery Channel kört haj-veckan Shark Week och på söndag är det dags för svenska Discovery att kicka igång en vecka med hajar. För oss som gillar naturen och vilda djur är det givetvis en höjdpunkt men tyvärr verkar Discovery Channel nu för tiden mer fokusera på tittarsiffror än att faktiskt skildra hur verkligheten ser ut. Kritiken mot Discovery består främst i att de framställer hajar som ett mycket större hot mot människor än vad som är fallet och med program som "Monster Hammerhead" (en haj som oftast undviker människor som pesten), "Zombie Sharks", "Deadly Island - Shark Island", "Sharkageddon"och "Voodoo Sharks" (va fan?) är jag böjd att hålla med kritikerna. Åtskilliga marinbiologer och hajforskare tackar numera nej till att medverka i Discoverys Shark Week då de tycker att de har blivit felciterade och att Discovery inte längre bryr sig om hajarna utan mer fokuserar på att få höga tittarsiffror från tittare som inte har så bra koll på hajar. De senaste 500 åren har det skett runt 2.700 dokumenterade attacker från hajar mot människor var av närmare 500 slutat med dödlig utgång för den attackerade människan [wiki]. Samtidigt så dödar människan runt 11.500 hajar i timman(!), året runt. [länk]. Jag kommer personligen att kolla på Shark Week men givetvis med den här faktan i bakhuvudet och hoppas att fler gör så och hör av sig till Discovery Channel och ber dem bli lite seriösare i framtiden. Hela programmet för svenska Discovery Channels Shark Week hittas under "Läs mer". Tumnagel
4.9°
0
PlayStation Access pratar med Sean Murray Om No Man's Sky så klart Här har vi en 17 minuter lång videointervju där Hollie från PlayStation Access pratar med Sean Murray från Hello Games om det ambitiösa spelet No Manx27s Sky. Tumnagel
41.4°
0
Ferrari 250 GTO klubbades för över 38 miljoner dollar Nytt auktionsrekord En Ferrari 250 GTO Berlinetta från 1962 har slagit nytt världsrekord. Nyligen auktionerades den ut på Bonhams Quail Lodge Auction i Carmel, Kalifornien och slutsumman uppgick till smått otroliga 38 115 000 dollar. Det är ett par miljoner mer än den Mercedes-Benz W196 R F1 Racer från 1954 som förra året gick för 30 miljoner dollar. Vem som köpte bilen framgår inte. Tumnagel
44.2°
0
Google Voice Search blev genast mycket bättre Nu kan man söka på olika språk En riktigt frustrerande grej med Google Voice är att den inte han hantera flera olika språk samtidigt. Men det har det nu blivit ändring på då den senaste versionen av Google Voice Search ger användarna möjligheten att välja upp till fem standardspråk istället för bara ett. Detta gör ju appen avsevärt mycket mer användbar för alla inblandade. Tumnagel
51.8°
0
Elva minuter Assassin's Creed Unity Utvecklarna spelar Ett längre gameplay-klipp som visar Gamescom-demot för Assassinx27s Creed Unity. Tumnagel
47.7°
0
Fredagsdansen Polisdansen I dag är det fredag och då skall man ut och dansa. Tumnagel
49.8°
0
Nytt spel från Ikaruga-pappan på gång Mycket mer än så vet vi inte Den japanska spelutvecklaren Hiroshi Iuchi är sannolikt mest känd för ligga bakom Treasure-spelen Radiant Silvergun och Ikaruga. Tidigare i veckan blev det känt att han, tillammans med M2, har ett spel på gång för PlayStation 4 (sannolikt även för andra plattformar senare). Spelet kommer heta Ubusana och då man inte visat något från spelet ännu kan man ju räkna med att det är ett bra tag kvar innan det släpps. Tumnagel
39.0°
0
Sir David Attenborough pratar om fangirls copy/paste Någon har klippt och klistrat en egen "naturfilm" där den legendariska naturfilmprofilen Sir David Attenborough pratar om det här med fangirls. Tumnagel
71.4°
0
Arcade Fire spelar i ett sovrum Musikvideo för You Already Know Arcade Fire uppträder i ett rymligt sovrum med väggfigurer som kommer till liv i nya musikvideon för You Already Know från albumet Reflektor. Tumnagel
88kg
0
Nu kommer Uber till Göteborg på riktigt Taxi-tjänstens försök permanentas Förra veckan betatestade taxi-tjänsten Uber sin tjänst i Göteborg under Way out west-festivalen och tydligen blev man nöjda med resultatet för nu kommer Uber till Göteborg på riktigt. Man startar med sina "original-bilar" Uber Black och budgetalternativet Uber X finns än så länge inte tillgängligt. Startavgiften för en resa är 50 kronor och därefter kostar 8,50 kr per minut och 11,80 kr per kilometer. Uber säger själva att man är 8% billigare än Taxi Göteborg men det är inget vi har kollat upp. Göteborg blir den andra staden i Skandinavien där Uber lansera sin tjänst, sedan tidigare finns Uber i Stockholm och i städer i 40 andra länder runt om i världen. Tumnagel
51.7°
0
iOS/Android Arcane Soul hackar loss på monster Ett koreanskt RPG som nog kan passa en del Arcane Soul är ett nytt koreanskt Hackx27nx27Slash-RPG som nu släppts för både iOS och Android. Spelet är gratis men innehåller bara en valuta (som inte är alltför svår att jobba ihop), inga timers och de "saker" som går att låsa upp görs med guldmynt du hittar i spelet och inte via IAPs bara. IAPs finns såklart men går att undvika ganska bra! MFI-kontroller eller PS4-kontroller fungerar bra att använda (kan starkt rekommenderas!) och spelet kör på i fina 60fps. [iOS (gratis)] [Google Play (gratis)] Tumnagel
37.4°
0
Fixie i aluminium, nickel och koppar från SikSilk Coola material som blir snyggare med tiden Ett hett material att använda sig av just nu är koppar. Det har klädförsäljaren SikSilk tagit fasta på och när de nu presenterar deras första fixie är den i just koppar, aluminium och nickel. Gaffeln, sadelstolpen, styret och lite annat har plätterats med de snygga materialen och kommer med tiden bara att bli ännu trevligare. Fram sitter ett rejsigt velodromhjul och skulle man tröttna på att köra fixed är det bara att vända på bakhjulet så får man single speed istället. Cykeln byggs endast i en begränsad upplaga och kostar 2 000 pund. Tumnagel
113kg
0
Skyll inte på spriten Du vet vad du gör Det amerikanska Missouriuniversitetet har undersökt hur vi fungerar när vi blir berusade och kommit fram till att de flesta som är berusade är medvetna om de gör något "fel" men att de helt enkelt inte bryr sig lika mycket om det när de druckit alkohol. Man har kommit fram till detta genom en undersökning där man studerade tre grupper, berusade, nyktra och en grupp som inte visste om att de drack alkoholfria drinkar, och det visade sig att de som var berusade mycket väl visste att de hade begått något slags "fel" men att de helt enkelt inte brydde sig så mycket om det. Enligt rapporten kan det betyda att berusade personer helt enkelt är ärligare än nyktra och struntar/bortser i konsekvenserna av vad de gör när de är berusade. Tumnagel
74.4°
0
iOS Phoenix Wright försvarar på nytt på App Store Bevisligen är det så Nintendo 3DS-spelet Phoenix Wright: Ace Attorney - Dual Destinies dök igår upp på App Store. Det här är det femte spelet i huvudserien och det kom förra året till 3DS:en. Som tidigare skall spelaren undersöka brottsplatser och intervjua vittnen och senare i rättegångar korsförhöra och lägga fram bevis för att bevisa sin klients oskuld. Första fallet i spelet är gratis och gillar du det kan du betala runt hundringen för de resterande fyra. [iOS (gratis)] Tumnagel
37.1°
0
Nytt från Alina Devecerski Låten Armé Minns ni Alina Devecerski? Tjejen som 2012 slog igenom stort med låten "Flytta på dej". Nu är hon tillbaka och det med låten Armé som kommer att finnas med på den kommande EP:n "Gnista + Gas" som släpps den 29 september. Blir den här en lika stor succé som den förra hiten tror ni? Tumnagel
-17kg
0
Prequel till Motorsågsmassakern på gång Leatherface The Wrap rapporterar att Millennium Films utvecklar en prequel till Motorsågsmassakern kallad Leatherface. Nykomlingen Seth M. Sherwood har blivit anlitad som manusförfattare till historien som kommer att utforska originalets skräckikon närmare. Leatherface blir den åttonde delen i skräckfranchisen och produktionen startar i vinter. Tumnagel
82kg
0
Ny YouTube-design för tv-apparna Gör tubtittandet smidigare från tv-soffan YouTube har implementerat en ny design för sitt tv-gränssnitt som nu skall vara ännu bättre anpassad för tv-apparater. Den nya designen har sina likheter med videotjänstens mobila appar och denna nya design borde redan vara tillgänglig på Xbox-plattformar. Tumnagel
43.0°
0
Trailer för Revenge of the Green Dragons Martin Scorsese-producerad gängfilm En trailer och poster för den Martin Scorsese-producerade filmen Revenge of the Green Dragons har släppts. Filmen regisserades av Andrew Lau och Andrew Loo, och baseras på en New Yorker-artikel av Frederick Dannen som följde asiat-amerikanska gäng under 1980- och 90-talets New York. Handlngen följer två invandrarbröder, Sonny (Justin Chon) och Steven (Kevin Wu) som snabbt rör sig uppåt i rang, för att senare vändas emot varandra. Filmen har sin världspremiär på Toronto International Film Festival och når biografer i oktober. Om eller när den visas i Sverige är oklart. Tumnagel
161kg
0
Spana in Simon Atas galna kroppskontroll Sjukt! Simon Ata visar här upp vad han kan göra med sin kropp, och vissa saker känns i princip omöjliga att genomföra. Armhävningar utan att ha benen i marken borde ju inte vara möjligt tycker man, men för Simon är det det. Tumnagel
350kg
0
Bugatti och Parmigiani Fleurier visar nytt urverk Exklusivt Vid sidan om bilar tillverkar Bugatti även andra lyxiga saker - som klockor till exempel. Den senaste har de tagit fram tillsammans med Parmigiani Fleurier och precis som när det kommer till bilarna har den en rätt så salt prislapp - 430 000 dollar. Klockan som fått namnet Mythe är en av tre specialmodeller som tagits fram för att fira att det var 10 år sedan de båda företagen samarbetade för första gången. Den kommer att visas upp under Pebble Beach Concours de Elegance i Kalifornien nu till helgen. Mer om klockan på länken. Tumnagel
77kg
0
Den här hojen går på bacon Fett! Bacon kan man ha till allt tydligen. Motorcykeln vi ser på bilden här använder det exempelvis som bränsle. Mattillverkaren Hormel har byggt den tillsammans med CSE Engineering och i tanken häller man baconfett, sen kör man, doftar på avgaserna och ser glad ut. Målet med bygget är att ta sig från Austin i Texas till San Diego i Kalifornien för att delta i International Bacon Film Festival. Såklart. Tumnagel
161kg
0
Det här är Maserati Ghiblin du ska ha Och vill ha De med lite koll på bilar vet att Maserati har återupplivat modellbeteckningen Ghibli och lanserat ett småsyskon till Quattroporte. Men hur mycket gemensamt har den nya bilen med originalet egentligen? Klassikern är en coupé medan den nya är en sedan, och utseendemässigt är det ljusår mellan bilarna. Personligen håller jag originalet som lanserades 1967 högre än nyheten som inte känns lika märkvärdig. Ghibli var en direkt motståndare till Ferrari Daytona och Lamborghini Miura. Trots att den bara hade en V8:a och ingen V12:a sålde den bättre än båda rivalerna. Och då var även Maseratin dyrare. Motor Trend har provkört ett mycket fint exemplar och så här såg det ut. Tumnagel
100kg
0
Spana in åtta minuter från Dark Dungeons Film om farorna med Dungeons & Dragons Dark Dungeons är en indiefilm som handlar om två studenter som vill rädda alla förlorade själar som spelar det klassiska rollspelet Dungeons & Dragons. Men allt eftersom så börjar de lockas av de mörka krafterna som detta rollspel har och börjar snabbt falla för frestelsen. Här ovan kan man beskåda filmens första åtta minuter och om man vill se resten kan man köpa filmen för fem dollar via länken nedan. Tumnagel
38.4°
0
Veckans snabblänkar Ny vecka, nya länkar, ny skärmdump * Spela spelet på bilden * Video Game Novels Suck (Especially Their Sex Scenes) * How The Korean Video Game Industry Has Changed * Official Shadow of Mordor Story Trailer - Sauronx27s Servants * Until Dawn Gameplay * Ruffian Games announces Hollowpoint for PS4 * Testing: Oculus Rift DK2 with Elite: Dangerous + HOTAS * NPD: PS4 leads US in July, The Last of Us tops software * Roundtable: Xbox One vs. PS4 at Gamescom * Defiance Now Free-To-Play On PS3 * The Crew wonx27t release on PS3 and Wii U due to different "technical infrastructure" * Jim Ryan Explains Sony’s Stance on EA Access, Says PS4 Success is Important for the Industry Tumnagel
37.5°
0
Musikvideo för The Black Keys - Weight of Love Med supermodellen Lara Stone The Black Keys har delat med sig av sin nya video Weight of Love från albumet Turn Blue. Det hela är regisserat av Theo Wenner och supermodellen Lara Stone spelar ledaren av en kvinnosekt som utför märkliga gruppövningar nära sitt hem i en fyr. Tumnagel
90kg
0
Trailer för Cities: Skylines Nytt stadsbyggarspel I går kväll så offentliggjorde Paradox Interactive ett nytt stadsbyggarspel på Gamescom-mässan nere i Köln. Spelet heter Cities: Skylines och kommer släppas till Windows, Mac samt Linux under 2015. Spelet utvecklas av Cities in Motion-studion Colossal Order och kommer ge spelare möjligheten att skapa städer precis som de vill. Spelet kommer även ha ett robust stöd för moddar, en spelyta som motsvarar 36 kvadratkilometer och det går att spela offline. Tumnagel
71.0°
0
Mer gameplay från The Witcher 3: Wild Hunt Geralt fixar biffen CD Projekt Red har släppt ännu ett gameplay-klipp från The Witcher 3: Wild Hunt där man får följa Geralt när han försöka rädda något som heter Downwarren. "The war awoke an ancient power. An evil one that feeds on bloodshed. Nightmares haunt our nights and days". Will Geralt help solve the mystery of the Whispering Hillock and find out whatx27s killing villagers from Downwarren?" På tal om The Witcher 3: Wild Hunt så kan man nedan beskåda ännu mer gameplay från spelet. Tumnagel
49.6°
0
Trailer för The Babadook Monsterskräck Sagoboken som en ensamstående mamma läser för sin son har en förbannelse över sig och släpper lös ett fasansfullt monster. Skräckfilmen The Babadook är skriven och regisserad av Jennifer Kent och en trailer kan du se ovan. Tumnagel
97kg
0
Microsoft visar upp sin nya mediaspelare DLNA, .mkv och allt I går rapporterade vi att Xbox One skulle få sig en ny mediaspelare som bland annat sägs stödja .mkv-formatet. Nu har Microsofts Larry "Major Nelson" Hryb släppt ett videoklipp där han och Albert Penello pratar om samt visar upp just denna nya mediaspelare. Tumnagel
66.4°
0
torsdag 14 augusti 2014 Naughty Dog-animatör gör snygg Dante-kortfilm Bra jobbat. Naughty Dogs Senior Cinematic Animator Tal Peleg gillar spelet Dantex27s Inferno väldigt mycket. Till och med så mycket att han bemödat sig med att knåpa ihop den här lilla kortfilmen kallad "Dantex27s Redemption". Imponerande alltså! Tumnagel
51.2°
0
Rykte Gör Nintendo ett nytt "remaster"-spel? Majora's Mask? Förra året släppte Nintendo en HD-version av The Legend of Zelda till Wii U. Nu har det kommit ut ett rykte som säger att Nintendo har ytterligare en "remaster" på gång för ett av sina tidigare spel. Detta rykte kommer från en person som tidigare hade rätt kring spelet Devilx27s Thirds existens. You’re gonna love it, but it’s a Remaster. It’s perfect to fill gaps inthe line-up. Really, Big N [Nintendo] will have one game per month in 2015. Vad tror eller hoppas ni att det kan vara? Jag kan tänka mig att det kan vara Zelda: Majorax27s Mask till 3DS (då Ocarina of Time redan fått en 3D-remake på den konsolen) men om det är ett spel till Wii U så har jag ingen aning. Tumnagel
43.6°
0
Provspelat Dragon Age: Inquisition Nu med hopp-knapp Dragon Age: Inquisition hade mycket att bevisa för mig idag när jag fick spela det. Dess föregångare hade saltat jorden rätt ordentligt, och det var en uppförsbacke jag inte var helt säker det skulle lyckas överkomma. När jag fick börja spela var karaktärerna redan nivå 10, och de berättade att det var ca 10-12 timmar in i spelet. Området jag fick börja spela i var ett mörkt och regnigt träsk, inte helt olikt det som visades på EAs presskonferens. Innan vi började fick jag förklarat för mig att detta var ett av de mindre områdena i spelet, och att de största kunde rymma både hela Dragon Age: Origins och Dragon Age 2. Jag fick spela i 45 minuter men jag hann inte kartlägga särskilt mycket av det område jag hade blivit tilldelad. Faktiskt så hann jag inte ens till mitt första mål, då jag hade undersökt några övergivna hyddor och plockat blommor, som man gör. Jag fick spela på PC så grafiskt var det som väntat väldigt imponerande. Speciellt när det regnade. Däremot såg karaktärsmodellerna lite skeva ut i ansiktet, men detta var bara alfa-bygge så det kan ändra sig. Trots att jag fick spela på PC ville de väldigt gärna att jag skulle spela med handkontroll, detta var antagligen för att kunna täcka alla plattformar samtidigt. Tumnagel
41.1°
0
Leif Långt borta i Kalifornien finns SALT Optics och bland höstens solglasögonnyheter hittar vi Leif. Snyggt namn och snygg båge. En blandning av rund och pilot och med trendig plastdetalj på fronten. SALT är inte så lätt att hitta i Sverige, men i Stockholm ska det finnas tre butiker som säljer dem. Tumnagel
74kg
0
Gamescom Bilder från mässgolvet Galet mycket människor Idag öppnade mässgolvet upp för allmänheten på Gamescom i Köln och det var mängder av människor på plats. Några hade klätt ut sig i roliga kostymer medan andra mest ville testa de senaste spelen. Jag vandrade runt en stund och knäppte ett gäng bilder. En del av dem har dessutom förklarande text. Tumnagel
40.1°
0
Provspelat The Order: 1886 Det luktar bränt Igår så fick jag smyga in och provspela en tårtbit av The Order: 1886 i Sonys bås på Gamescom. Grafiskt ser The Order riktigt snyggt ut. Jag var skeptisk när jag såg det från E3 då jag tyckte att det såg ut som finputsad CG med ett gränssnitt påklistrat men det är riktigt vackert om än lite grått. Demot började med en tutorial över termitgeväret, ett semi-automatiskt gevär som skjuter kulor fyllda med termit som exploderar i ett moln. Molnet är oskadligt i sig men vapnets andra funktion skjuter ut ett signalskott som tänder eld på termitmolnet som brinner i någon sekund på svala 2400 grader celsius. Detta måste jag tyvärr säga, låter roligare än det är. Tumnagel
38.7°
0
Spelintryck från Gamescom Ori and the Blind Forest Klassiskt plattformsspel med skön stil Ett av spelen som jag fått testa idag är Ori and the Blind Forest. Det är utvecklat av indiestudion Moon Studios och kommer att komma till Xbox One och PC senare i höst. Det är ett plattformsspel i ganska så skön stil och storyn kretsar kring den lilla varelsen Ori. Ori tappas bort i skogen och adopteras då av en björnliknande mamma som uppfostrar Ori som sin egen son. Men så dyker en varelse kallad Kuro upp och rövar bort adoptivmamman vilket gör att Ori får klara sig själv. Så mycket mer om storyn är inte känt i dagsläget utan det får man utforska själv när spelet väl släpps. Vi som testade spelet fick spela en bana cirka tre timmar in i spelet. Så här långt hade Ori fått förmågan att dubbelhoppa men även en annan egenskap kallad bash. Med bash kan du grabba tag i projektiler och med hjälp av styrspaken styra i vilket håll du vill att Ori ska slangbellas iväg. Det gick också att byta riktning på projektiler med denna förmåga och på så vis lösa vissa pussel. Det var ganska knivigt att få till hoppen, särskilt när man tvungen att stanna i luften utan att nudda den spikförsedda marken. Dock kändes det rätt smidigt att styra Ori bara man kommer in i kontrollschemat. Förövrigt kändes spelet som ett väldigt klassiskt plattformsspel med ganska enkla pussel. Det som sticker ut allra mest är den mysiga grafiken som ser riktigt bra ut. Tumnagel
39.7°
0
Musikvideon till Mako - Our Story Det var på tiden En låt som gått varm i mina lurar är Makos Our Story. Jag har i princip lyssnat sönder den och den har funnits med bland mina spellistor länge, men först nu har den blivit med video. Tumnagel
75kg
0
Jag har brummat runt i Forza Horizon 2 Och det är tummen upp I måndags under efter Microsofts presskonferens fick jag möjlighet att testa Forza Horizon 2 och idag fick jag en lite närmare genomgång av vad som är nytt sedan det första spelet i Horizon-serien släpptes. Jag är inget jättestort fan av simulatorspel och har därför tidigare inte gillat Forza Motorsport-serien. Men så kom första Forza Horizon som visserligen har tämligen realistisk bilfysik men som kändes bra mycket roligare för mig då det inte bara gick ut på att köra race efter race. Det fanns en så stor frihet att bara kunna köra runt i den stora staden och lattja. Det gillade jag jättemycket med det spelet. I Forza Horizon 2 utlovar utvecklarna Playground Games en bra mycket större yta att åka runt på än tidigare. Spelet kommer utspela sig både i Nice i Frankrike och längst den italienska kusten. Precis som i det tidigare spelet kommer man kunna skaffa xp och skills genom att köra våghalsigt och snyggt. Även denna gången kretsar storyn i spelet kring en musikfestival och enligt snubben som pratade om spelet idag så läggs stort fokus på just musiken och det kommer finnas sju olika radiokanaler att lyssna på. Jag tyckte att det första spelet såg riktigt snyggt ut men nu när tvåan kommer till Xbox One så har de kunnat kräma på ordentligt på grafikmätaren. De har fixat en riktigt bra vädersimulation samt dygnsrytm och det dynamiska ljuset gör att spelet ser brutalt snyggt ut. Totalt kommer spelet innehålla 200 bilar och 700 olika events att göra i hela spelet. Vad gäller onlinebiten så kommer Driveatars från Forza Motorsport-serien att implementeras även här och ska det vara en helt sömnslös gräns mellan singleplayer och multiplayer. Med andra ord ingen väntetid i lobbys eller liknande när man startar upp ett onlinerace. Som jag nämnde i början fick jag göra en testspelning av spelet i måndags. Det jag kan säga är att mina första intryck av spelet är väldigt positiva. Jag tyckte styrningen kändes riktigt bra. Grafiken är också den oerhört vacker. Dock ska det påpekas att jag spelat alldeles för lite för att kunna göra någon slags helhetsbedömning av spelfysik eller innehåll. Jag har till exempel inte fått spela online eller mot andra spelare och jag har inte heller testat på alla olika spellägen och moment. Jag nöjer mig därför med att säga att mina första intryck är positiva och att jag tror att det finns potential i spelet att bli riktigt lyckat baserat på vad jag sett och hört om spelet hittills. Tumnagel
52.2°
0
Släppdatum för Warlords of Draenor 13 november Blizzard offentliggjorde i dag släppdatumet för den kommande World of Warcraft-expansionen Warlords of Draenor. Datumet som gäller är den 13 november och i samband med den nyheten släppte man även öppningsfilmen för spelet. Warlords of Draenor kommer öka nivåtaket till 100 och bjuda på nya zoner som man kan härja i. Tumnagel
71.7°
0
The Stig hoppar bungyjump Med en F1-bil Varför hoppar The Stig bungyjump med en F1-bil från Lotus? För att han kan såklart. Tumnagel
60.5°
0
Legobitar du kan äta Gjorda av choklad Lego är kul och choklad är gott så varför inte kombinera de båda och skapa något fantastiskt? Det är precis det som designern och illustratören Akihiro Mizuuchi har gjort. Dessa vackra små kuber är nämligen gjorda av choklad och när man byggt ihop sitt konstverk är det bara att sätta tänderna i det. Ett av tillfällena i livet där man faktiskt får leka med maten. Tumnagel
180kg
0
Supermassive Games berättar om skräckspelet Until Dawn Move är ute, DualShock 4 är inne Idag fick jag gå på en visning av Until Dawn där Executive Producer Pete Samuels och Executive Creative Director Will Byles på Supermassive Games berättade om hur de slopade det förra spelet väl efter att det hade visats upp för allmänheten. Helst sa de att vi helst skulle glömma att det gamla spelet fanns överhuvudtaget. Det nya Until Dawn är ett skräckspel byggt i Killzone: Shadowfall-motorn och är utvecklat helt för PS4. Faktum är att de har spelat in all dialog och scener på nytt och slängt det gamla. Trots att de genom generationsbytet har förlorat Playstation Move har de fortsatt utvecklat spelet med mycket rörelsetänk tack vare DualShock 4 och dess rörelseteknik. Tumnagel
41.1°
0
Blind snubbe sätter nytt hastighetsrekord I Nissan GT-R med 1 200 hästar Mike Newman är blind och har flera gånger tidigare slagit hastighetsrekord för just blinda. Nu har han slagit sitt egna rekord från förra året med råge. Då kom han upp i 186 mph (299 km/h) medan han nyligen klockades för hela 200.9 mph (323.32 km/h). Rekordet sattes i en trimmad Nissan GT-R med 1 200 hästar på flygfältet Elvington i Yorkshire. Tumnagel
42.5°
0
Tom Hanks släpper skrivmaskins-app till iPad Hanx Writer Skådespelaren Tom Hanks har tidigare sagt att han föredrar att skriva på en traditionell skrivmaskin hellre än en dator eller tablet men nu verkar det som om han ändå har kommit lite närmare 2000-talet då han släpper sin egen skrivmaskins-app "Hanx Writer" till iPad. Appen uppför sig någorlunda som en traditionell skrivmaskin med klickljud när man trycker på tangenterna, "pappret" rör sig uppåt när man radbryter och man måste sätta i ett nytt "papper" när man skrivit till sidans slut. Backspace/radera knappen verkar man dock ha implementerat så någon tippex-funktion hittas inte i Hanx Writer. Vill du känna dig lite retro/hipster så kan du ladda hem Hanx Writer till iPad gratis på länken nedan. Launching now: The Hanx Writer. Make a typewriter out of your Ipad. With crisp typeface, bold style and best of all the sound of typing ...— Tom Hanks (@tomhanks) August 14, 2014 Tumnagel
49.3°
0
Vill du följa med oss till IFA-mässan? Berätta vad du vill rapportera om! Vi fick en rolig idé och nu hjälper Sony Mobile oss att förverkliga den. Det är lite snabba puckar men vi hoppas att några av ni fantastiska Feber-läsare vill och kan följa med oss på den här resan. Om några veckor, tre närmare bestämt, startar IFA-mässan. Det är en gigantisk techmässa i Berlin som bjuder på en hel del nyheter och massor med prylar - så många att vi inte kan täcka in allt det där roliga och annorlunda själva. Självklart kommer vi från redaktionen att åka ner men vi vill att du ska följa med och hjälpa oss hitta det där roliga och annorlunda. Upplägget är så här: - Vi reser från Arlanda antingen 2:a eller 3 september. Vi betalar flyget (men du måste ta dig till Arlanda själv). - Ni bor i Berlin i en lägenhet som vi fixar och betalar tills ni åker hem lördag 6 september. - Vi ordnar så att ni kommer in på mässan, som öppnar för allmänheten först 5 september, och i mån av plats och intresse så att ni kan gå på presskonferenser. - Ni rapporterar om roliga / konstiga / fantastiska / underbara saker ni hittar på mässan till andra Feber-besökare. Ungefär 2-4 inlägg om dagen (eller ett lite längre) samt en kort videosammanfattning (vi filmar) om dagen på ungefär en minut. - Ni får en Sony Xperia Z2 att dokumentera med. - Det kan hända att det blir en fest eller två... Det finns självklart inget krav på att ni ska rapportera något om Sony Mobile. Ni är fria människor som berättar vad ni vill berätta. Så hur gör man för att få komma med? - Se till att kunna lämna landet mellan 2 och 6 september och gräv fram passet. Kamma dig om det behövs. - Fundera på vad du skulle vilja bevaka / hitta / leta efter på mässan och berätta detta + kort om dig själv bland kommentarerna här nedan. Du måste vara minst 18 år gammal och tar med dig din egen dator och kamera om du vill det - annars kan du ju plåta med Z2:an. Feber och Sony Mobile bestämmer vilka som får åka. Maximalt fyra personer får åka, det kan bli färre. Vi bestämmer helt enkelt. Vi vill ha din motivering senast 16 augusti klockan 13.00. Tumnagel
56.7°
0
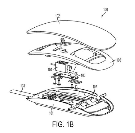
Apple-patent visar mus som vibrerar SFW Här har vi ett Apple-patent som nyligen blivit godkänt och därför även möjligt för allmänheten att beskåda. Patentet visar en mus som kan känna av hur hårt man trycker samt vibrera för att ge användaren signaler om vad muspekaren gör. Exempelvis så skulle denna mus kunna vibrera när man för muspekaren över en ikon eller när man håller ned musknappen för att på så sätt berätta för användaren vad som pågår. Tumnagel
44.8°
0
Kortfilm om en varelse gjord av ballonger Ömtålig och ensam rör sig en varelse gjord av ballonger genom LA för hitta sällskap. Kortfilmen är regisserad av Greg Jard. Tumnagel
87kg
0
Motorola bjuder in till lanseringsevent Telefoner, Moto 360, och Blåtandsheadset Motorola har skickat ut inbjudningar till den amerikanska pressen att komma och ta del av deras lanseringsevent. På själva inbjudan i sig kan man se fyra stycken ikoner, en telefon med ett X på, en annan telefon med ett G på, en klocka samt något som ser ut att vara ett blåtandsheadset. Eventet kommer att hållas den fjärde september i Chicago, samtidigt som IFA mässan pågår i Berlin. Det är oklart om deras nya produkter kommer att finnas på plats i Berlin, men vi kommer att finnas där vilket som. Tumnagel
56.4°
0
Svenska speltoppen vecka 32 The Last of Us Remastered kvar i topp Multiformat 1.The Last of Us Remastered (PS4) 2.Minecraft (PS3) 3.Minecraft (360) 4.FIFA 14 (PS3) 5.FIFA 14 (360) 6.Battlefield 4 (PS3) 7.The Sims 3 (PC) 8.Mario Kart 8 (WiiU) 9.Skate 3 (360) 10.Battlefield 4 (PC) 11.Grand Theft Auto V (PS3) 12.Grand Theft Auto V (360) 13.The Sims 3: Semesterparadis (PC) 14.Call of Duty: Ghosts (PS3) 15.Lego Marvel Super Heroes (360) 16.Lego Marvel Super Heroes (PS3) 17.Battlefield 4 (360) 18.FIFA 14 (PS4) 19.Gran Turismo 6 (PS3) 20.Watch Dogs (PS4) Tumnagel
44.1°
0
Kojima pratar Silent Hills Skitskraj skall man bli Tidigare i veckan blev det känt att Metal Gear-pappan Hideo Kojima, tillsammans med filmregissören Guillermo del Toro, har ett nytt Silent Hill-spel på gång. Spelet offentliggjordes på ett ganska fenomenalt sätt, nämligen via en interaktiv teaser som man kan hitta på PSN. I en intervju så nämnde Hideo att han och Guillermo hade som mål att skapa ett spel skulle få spelare att kissa på sig. Tydligen räckte inte det utan de bestämde sig för att försöka göra det ännu mer skrämmande, så pass att spelarna skulle skita på sig istället. "The one thing that I can say about Silent Hills, and this is something Ix27ve been discussing with Guillermo del Toro as well, is that originally we were thinking of making a game that would make you pee your pants, but at this point wex27ve changed our minds, and now wex27re aiming for a game that will make you shit your pants," Det är fortfarnde oklart när detta spel väl kommer släppas men en minimal försmak kan man som sagt få om man laddar ner den interaktiva teasern P.T. på PSN. Tumnagel
48.1°
0
British Airways lanserar djurkanal på sina flyg Hundar och katter ska få passagerarna att slappna av Flygbolaget British Airways har nu lagt till den nya kanalen "Paws and Relax" i programutbudet som man visar på sina flygningar. Paws and Relax är en kanal som helt fokuserar på gulliga kattungar samt hundvalpar och tanken är att detta ska få passagerna att slappna av under flygningen. Richard Dx27Cruze, ansvarig för tv-underhållningen på British Airways, säger: "Paws and Relax TV came when we were doing some research into different types of content that will help our customers to relax and enjoy their flight and we discovered some scientific research that proves watching images of cute animals can actually lower your heart rate and reduce stress levels." Bland programmen som kommer att visas på Paws and Relax hittas bland annat "Simon’s Cat", "Secret Life of Cats" samt "America’s Cutest Dog". Paws and Relax kommer att börja visas på British Airways flyg i september. Tumnagel
39.6°
0
Pilot tappade sin armprotes under landning Blev lite hård landning Det har nu blivit känt att en pilot som skulle landa ett flygplan från flygbolaget FlyBe på nordirländska Belfast City Airport den 12:e februari i år råkade tappa sin armprotes i samband med att planet skulle landa. Då man var så tätt in på landning så ansåg piloten inte att han skulle hinna förklara landningsproceduren för sin andrepilot så istället fick han landa planet med en arm. Det ska ha blivit en lite hård landning men enligt uppgifter ska ingen av de 47 passagerarna eller flygplanet ha tagit någon skada vid landningen. Den 46-årige piloten, som FlyBe beskriver som en av sina mest erfarna piloter, säger att han i framtiden ska kontrollera sin protes än mer inför landningar samt bli bättre på att informera sin andrepilot. Tumnagel
45.9°
0
iOS Origin8 ger oss nya torn att skjuta med Sentinel 4 släpptes idag Det mycket populära tornförsvarsspelet Sentinel är tillbaks med en fjärde del där kriget flyttats till en värld där fienden är smartare och mer dödlig än förut. Då är det tur att Sentinel 4 har fått lite nya bättre torn att bygga. [iOS (38kr)] Tumnagel
36.4°
0
War Thunder får Oculus Rift-stöd Och Project Morpheus Gaijin Entertainment kommer slänga in stöd för virtuell verklighetsglasögon i sitt free-to-play-spel War Thunder. Det blir stöd för både Project Morpheus och Oculus Rift vilket innebär att både konsol- samt PC-versionen får ta del av detta. När detta är implementerat kommer spelare kunna titta runt i spelets olika fordon vilket ju är lite tufft. Tumnagel
47.3°
0
Ny satellit ska fota jorden i HD Kan urskilja föremål under 50 cm i diameter Här om dagens så skickades en ny satellit vid namn Worldview-3 upp till rymden och denna kommer inom kort att börja leverera högupplösta bilder av jordens yta. Satelliten kommer att kunna ta foton men en betydligt högra upplösning än tidigare kommersiella satelliter någonsin har gjort. Att detta blir den första i sitt slag beror till viss på en lagändring i USA som gör att de äntligen tillåter kommersiella satelliter att fotografera jorden i hög upplösning. Upplösningen på denna kamera ska vara så hög att man ska kunna urskilja föremål som är mindre än 50 centimeter i diameter. Bilderna från denna satellit kommer troligen att användas av Google och Microsoft med flera för olika karttjänster. Den ska dock även kunna vara en tillgång för forskning av olika slag då den exempelvis ska kunna räkna antal djur på vissa ytor och annat smart som idag måste göras med flygplan. Tumnagel
59.1°
0
En titt på Evolve 4 vs 1 Här har vi ett klipp där några av utvecklarna bakom Evolve visar hur det kan gå till när man spelar spelet. Evolve släpps till Windows, PlayStation 4 och Xbox One under början av 2015. Tumnagel
44.8°
0
NSFW VICE-reportage om Islamiska staten Varning för extremt starka bilder Det pågår en ganska så läskig konflikt nere i Mellanöstern just nu där den väpnade jihadistiske salafistgruppen IS breder ut sig i både Irak och Syrien. Som vanligt när det sker konflikter världen över så är folk från VICE på plats rapporterar. Här har vi just en sådan rapport där man får se och höra vad som händer där nere. Reportaget är intressant, riktigt läskigt och innehåller starkare bilder än många andra VICE-reportage så en STOR varning bör utfärdas för just detta. Tumnagel
51.3°
0
MediaMarkt drar ut på 3D-skrivarturné Skriv ut dig själv! I slutet av maj erbjöd hemelektronikkedjan MediaMarkt sina kunder att testa på att scanna in och skriva ut en 3D-figur av sig själv i ett av sina varuhus i Stockholm och detta är något man nu kommer att satsa hårdare på. Nu till helgen (16-17 augusti) kommer man att kunna scanna in och skriva ut sig själv i MediaMarkts butiker i Stockholm (Heron City, Barkarby, Gallerian, Nacka, Länna och Södertälje) och därefter kommer MediaMarkt att ge sig ut på sverige-turné med 3D-skrivarna till sina andra butiker runt om i landet. Ni hittar hela turnéplanen under "Läs mer". För den minsta modellen som är sex centimeter stor får man ge cirka 500 kronor medan den 10 centimeter stora versionen som jag håller i handen på bilden ovan och som syns i närbild på bilden nedan går för cirka 700 kronor. Den största och dyraste modellen är på 35 centimeter och vill man ha den så får man langa upp närmare 7.000 kronor. Tumnagel
46.9°
0
Intel visar vad DirectX 12 gör för prestandan i spel Demo med Surface Pro 3 ökade prestandan med 74 % När Microsoft tillkännagav DirectX 12 så fick vi reda på att de kommer följa efter AMD och Mantle med att minska overhead för CPUn och låta grafikkortet göra mer av jobbet. Nu säger Intel att detta även kommer ge stora fördelar för enheter som måste hålla värmeutvecklingen nere som till exempel tablets. Att sänka utnyttjandet av processorn ger utrymme för öka kraften i grafiken och användare kommer kunna dra bättre nytta av både GPUn och CPUn. Intels Andrew Lauritzen demonstrerade under SIGGRAPH vilka förbättringar man kan få genom att använda en Surface Pro 3 och ett specialskrivet mjukvarudemo. Demot renderar en scen med 50 000 fullt dynamiska och unika asteroider och kan växla mellan DX11 och DX12 läge med en knapptryckning. Demot visar också strömförbrukningen av CPUn och GPUn i en graf längst ned till höger. När demot körs i DX11-läge så klarar Surface Pro 3 endast av att klämma ut 19 FPS och grafen visar att CPUn tar upp en stor del av strömförbrukningen. När man växlar till DX12-läge däremot så används grafiken mycket mer och frame rate går upp till hela 33 FPS. Med lite enkel matematik så kan man se att det blir en ökning med 74 % i prestanda. Lauritzen förklarar att många missuppfattat en del och säger att när processorn blir strömsnålare så kan detta användas för att öka prestandan i en applikation även om den inte körs till mestadels på processorn. Tumnagel
53.4°
0
Smartklockor ska hjälpa parkinsons-patienter Ska registrera hur de mår Smartklockor och smarta armband som kontrollerar hur vi mår är antagligen något som kommer att slå igenom på bred front de kommande åren då bland andra Apple med sitt HealthKit och Google med Google Fit presenterat sådana lösningar i år. Ett lite mer konkret exempel som redan verkar vara igång är ett samarbete mellan Intel och Michael J Fox Foundation där man använder Intels Basis-klockor för att kontinuerligt registrera hur patienter med Parkinsons sjukdom mår. Klockorna ska ha möjlighet att registrera 300 olika datapunkter i sekunden vilket resulterar i 1GB data om dagen som läkare och forskare sedan kan analysera för att avgöra vilka faktorer som gör att patienten mår mer eller mindre bra. Försöken är än så länge i ett tidigt skede men man kommer senare även att utveckla en app där patienten själv kan ange hur den mår och vad den pysslar med. Detta tillsammans med datan från smartklockan kan sedan antagligen ge en ännu bättre bild av hur sjukdomen fungerar. Runt fem miljoner människor i världen tros vara drabbade av Parkinsons, en neurologisk sjukdom som kännetecknas av rörelseproblem, stelhet och skakningar. Det är företrädesvis äldre människor som drabbas av sjukdomen men den kan även drabba yngre och man vet än idag inte exakt varför vissa människor drabbas av sjukdomen. Tumnagel
42.2°
0
Nästa sida + Per månad 39 kr Betala löpande per månad. Ingen bindningstid. Starta prenumeration Per år 299 kr Enklast och billigast, bara 25 kronor i månaden. Betala löpande per år. Ingen bindningstid. Prova 14 dagar gratis innan du bestämmer dig. Starta gratis provperiod Engångsköp 349 kr Slipp återkommande betalningar, betala ett år i taget. Betala med kort eller Swish. Köp utan prenumeration