Teknik Motor Samhälle Spel Popkultur Fritid Tjock Tester Dagens fråga Tipsa! Skaffa Feber+
Hetaste
Senaste
torsdag 20 februari 2014 Focus blockerar distraherande webbplatser Om man nu vill det Focus blockerar distraherande webbplatser Mac-appen Focus ser till att man spenderar mer tid på att vara produktiv och mindre tid på 9gag. I appen skriver man helt enkelt in vilka sidor man anser man inte bör besöka om man vill få något gjort. Om man sedan försöker besöka någon av dessa sidor får man istället ett motiverande citat som påminner en om att man bör fortsätta jobba istället för att titta på kattklipp. Appen lägger sig i menyfältet och med en enkel knapptryckning kan man aktivera det när man känner att man vill få något gjort. Men med samma knapptryckning kan man även stänga av programmet så det gäller ju att man trots allt fortfarande har lite självkontroll.Appen är gratis och kan laddas ner via länken nedan. heyfocus.com Mac, Mjukvara, Focus, Mac
38.5° 0 Frode Wikesjö Frode Wikesjö
tors. 20 feb 2014, 13:56
Elon Musk bekräftar möte med Apple Men inte vad de pratade om Elon Musk bekräftar möte med Apple Foto: jurvetson Vi skrev här om dagen om att det gått ett rykte att Elon Musk (grundaren av bl.a. Tesla) samt Adrian Perica från Apple hade träffats för att prata lite. Nu har Elon Musk bekräftat detta i en intervju med Bloomberg men exakt vad som sades är förstås hemligt.Precis som vi skrev då så är väl den galnaste tanken att Apple vill köpa Tesla men det är dock något som inte verkar så troligt då Elon i intervjun påpekar att han ej tänkt sälja just nu. Andra idéer är samarbete för mjukvaran i bilen eller kanske gemensam utveckling av nya batterier. theverge.com Mac, Rykten, elon musk, apple, tesla 40.2° 0 Gordon Andersson Gordon Andersson
tors. 20 feb 2014, 11:07
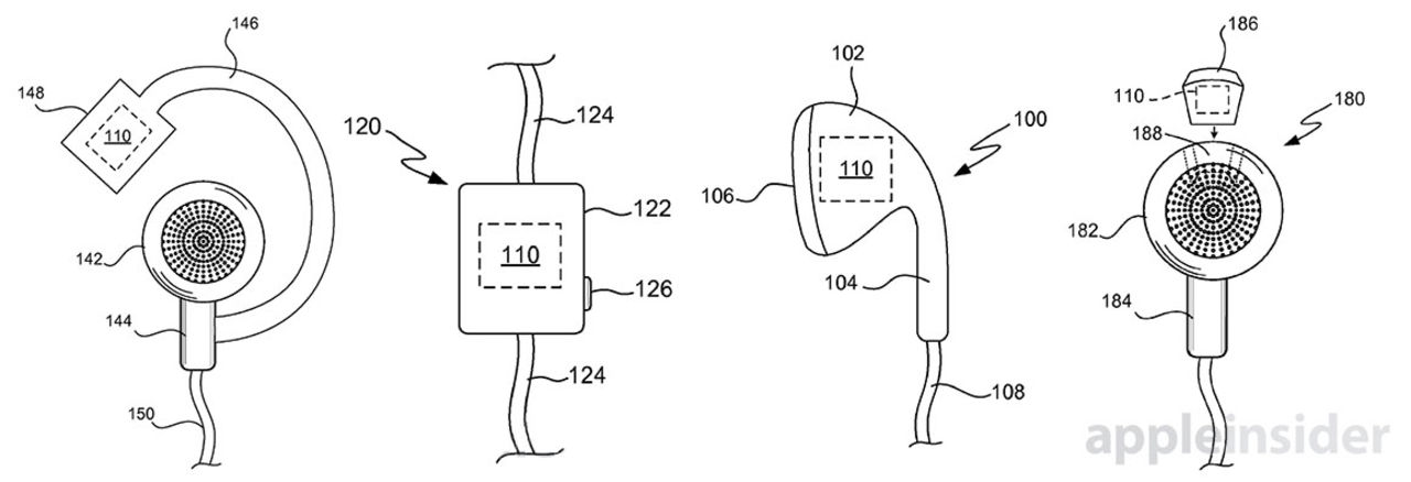
Apple utvecklar hörlurar med inbyggda sensorer Lite som The Dash vi skrev om förra veckan Apple utvecklar hörlurar med inbyggda sensorer Apple har precis fått ett patent från 2008 beviljat och det patentet visar ett par hörlurar som rent tekniskt låter ganska lika de lurar jag skrev om här om veckan som nu Kickstartas igång. Patentet rör alltså ett par hörlurar med inbyggda sensorer som kan läsa av användarens puls, temperatur, svettning med mera. Detta för att sedan kunna ge feedback direkt via hörlurarna samt logga informationen i träningsappar.Nu ska tilläggas att detta endast är ett patent så om det dyker upp i en produkt eller ej är oklart. Det följer dock de rykten om att Apple vill satsa mer på hälsa och liknande. techcrunch.com Mac, Tillbehör, patent, hörlurar, dash, kickstarter, apple, hälsa, motion, träning
42.2° 0 Gordon Andersson Gordon Andersson
tis. 18 feb 2014, 15:52
Apple och Tesla träffades i höstas Men vad pratade de om? Apple och Tesla träffades i höstas Foto: OnInnovation Söndagens tunnaste story har nog varit den om att Adrian Perica från Apple, som är ansvarig för uppköp av företag, och Elon Musk som är CEO för Tesla ska ha träffats. Att de har träffats verkar vara bekräftat men vad man pratade om går bara att gissa.Den vildaste tanken är att Apple vill köpa Tesla. En annan linje är att Apple vill samarbeta med Tesla om batterier som de båda två är mycket beroende av. Eller så behövde de två herrarna bara äta lunch. mashable.com Mac, Övrigt, apple, tesla, uppköp 45.9° 0 Roger Åberg Roger Åberg
mån. 17 feb 2014, 01:01
Boot Camp uppdateras Nu kan du installera Windows i 64-bitar Boot Camp uppdateras Foto: familymwr Även om man gillar Mac så kan det ibland vara så att man måste köra Windows, kanske på grund av att jobbets rapportsystem bara fungerar i Windows eller att Wizards of the Coast vägrar programmera en Mac-klient för MTGO.Vid sådana tillfällen så är det skönt att man kan dual boota och faktiskt ha Windows installerat på sin Mac utöver OS X. För de som lever med ett sådant här problem så kommer nu den trevliga nyheten att Boot Camp nu uppdaterats för att stödja 64-bitarversionerna av Windows 7, windows 8 samt Windows 8.1. support.apple.com Mac, Mjukvara, boot camp, mac, windows, uppdatering
43.2° 0 Gordon Andersson Gordon Andersson
tors. 13 feb 2014, 16:13
Nästa sida Teknik Internet Mac Mobil PC Pryl Vetenskap Motor Bilar Motorcyklar Båtar Eldrivet Lastbilar Samhälle AI Ekonomi Brott Hälsa Spel Xbox Playstation Nintendo Brädspel Popkultur Film TV-serier Trailers Om Feber Redaktionen Tipsa Annonsera Statistik Feber+ + Per månad 39 kr Betala löpande per månad. Ingen bindningstid. Starta prenumeration Per år 299 kr Enklast och billigast, bara 25 kronor i månaden. Betala löpande per år. Ingen bindningstid. Prova 14 dagar gratis innan du bestämmer dig. Starta gratis provperiod Engångsköp 349 kr Slipp återkommande betalningar, betala ett år i taget. Betala med kort eller Swish. Köp utan prenumeration