Teknik Motor Samhälle Spel Popkultur Fritid Tjock Tester Dagens fråga Tipsa! Skaffa Feber+
Hetaste
Senaste
Alla Heta Kalla Öppna i ny flik torsdag 9 september 2010 fortsättning Skärmdumpar på WebOS 2.0 beta Ger lite hintar om vad som kommer WebOS är något som det ryktas att HP ska köra i sina tablets nu efter att företaget köpt upp Palm och det verkar stämma mycket bra då det nyligen läckt ut några bilder på WebOS 2.0 på nätet. Bilderna visar att det kommer ske integration av datamolnsbaserade tjänster som Google Docs, Dropbox och liknande direkt i operativsystemet. Vad Apples MobileMe gör där är det dock ingen som vet och skapar lite förvirring. En annan förbättring som kommer med WebOS 2.0 är att man kan välja vilka applikationer som ska var standard i systemet där man kan ändra listan efter vad man själv tycker att man behöver. Det gör att när man trycker på en länk eller en fil så öppnas det program man själv vill använda. Det finns också inbyggd stöd för VPN-system och inkluderar IPSEC-skyddade VPNC-anslutningar och Ciscos AnyConnect. Vi hittar också sociala nätverk som Facebook och LinkedIn samt fotolagringstjänster som Photobucket. Tumnagel
36.8°
0
onsdag 8 september 2010 GeForce GT 420 gör snabbvisit på Nvidias hemsida Togs ner ganska snabbt Nu när Nvidia lanserat de mobila kretsarna av Fermi så kan varianter för stationära datorer inte vara långt borta. Vi har redan hört det ryktas om en hel del modeller som ska komma men det dröjer ett litet tag till. En av de varianter som ska komma ut från Nvidia är GeForce GT 420 och av någon anledning så dök den upp på företagets hemsida. I likhet med tidigare budgetvarianter av GeForce 200-serien så kommer detta att vara en OEM-variant, vilket betyder att du inte kan köpa kortet löst i handeln. Den nya varianten försvann dock lika fort som den kom upp men bilden hann i alla fall att kopieras av en del webbsidor på nätet. Från den kan vi se att det rör sig om en lågprofilsvariant, precis som Radeon HD 6300-kortet, men denna har dock inte passiv kylare utan det sitter en liten fläkt på kortet. Specifikationerna av kortet säger DirectX 11 med 48 stream-processorer, ett 128-bitars minnesgränssnitt med 2 GB av DDR3-minne klockat till 900 MHz. Frågan är dock om det verkligen handlar om 2 GB minne för en budgetvariant? Hursomhelst så ska kortet dra 50 W men GPUn kan köras ganska varm, upp till maximalt 105 C. Nvidias sida finns fortfarande cachad hos Google så om man skyndar sig på kan man fortfarande se den. Tumnagel
37.2°
0
Asus släpper Geode-baserad Eee PC Asus Eee PC 1201K Är du på jakt efter en netbook som inte innehåller Atom så har Asus nyligen lanserat ett alternativ till den enorma mängd av Atom-baserade netbooks som redan finns på marknaden. Det är ett tillägg i Eee PC-produktlinjen och det handlar om Asus Eee PC 1201K. Som produktnamnet avslöjar så handlar det om en netbook-variant där skärmen ligger på en storlek av 12" och den har en upplösning på 1366x768 pixlar. Så till det som är lite speciellt med datorn och det är att den drivs av en av AMDs Geode-processorer som körs vid 1,4 GHz, närmare bestämt Geode NX 1750. Den kopplas med 1 GB RAM-minne och operativsystemet som körs är Windows XP, vilket visar på att processorns prestanda inte är i topp. Det kan också förstås från det ursprungliga användingsområdet för Geode-processorn då den designats för att användas i embedded produkter. Processorn sitter i Socket A och tillverkas med 130 nm-processen, vilket gör att den inte är så strömsnål. Den har en TDP på 25 W och drar i snitt omkring 14 W, vilket är betydligt mer än Atom N270s 2,5 W TDP. Med tanke på detta är det lite svårt att se varför Asus valt just den här processorn då det sänker batteritiden ganska mycket av systemet, ner till endast två timmar, samtidigt som processorn är slöare än moderna alternativ. Enda förklaringen är att Asus kommit över en stor mängd Geode-processorer billigt och behöver göra sig av med dem. Tumnagel
37.0°
0
AMD ''Caicos'' Radeon HD 6300 Fler bilder på ännu icke släppta grafikkort Igår fick vi se en ganska dålig bild på vad som antagligen blir det nya Radeon HD 6870-kortet som väntas släppas nu under hösten, antagligen oktober eller november. Igår liksom idag så är det återigen Chiphell som kommer med bilder på ännu ett nytt grafikkort ur Radeon HD 6000-serien som inte släppts än. Den här gången handlar det om ett kort som går under kodnamnet "Caicos" och det ska vara budgetvarianten i AMDs nya grafikkortserie. Det blir alltså Radeon HD 6300, vilket ska ersätta den tidigare Radeon HD 5400-serien. Kretskortet tillsammans med kylaren är troligen det som kommer bli referensdesignen för den Radeon HD 6300-serien och precis som tidigare budgetvarianter så kräver kortet endast passiv kylning. Just den här modellen är också ett lågprofilskort och kylflänsen täcker både GPUn och de minneschip som sitter på kortet. Tillsammans med bilderna på kretskortet så får vi också en bild som visar information från GPU-Z. Den avslöjar dock inte så mycket men berättar dock att det verkligen handlar om Caicos då identifikationsnumret är 6779 som i Catalyst-drivrutinerna kan utläsas som Caicos. Tumnagel
37.4°
0
Video på Internet Explorer 9 Beta Kolla lite inför nästa vecka Nästa vecka släpps Microsofts webbläsaren Internet Explorer 9 i Beta-version till allmänheten och här är en läckt video som visar lite av vad som komma skall. Utseendemässigt har den inte förändrat sig särskilt mycket sedan IE8 men jag antar att prestandan har uppgraderats rejält. Den 15:e september kan du alltså ladda ner och kolla in själv om Internet Explorer 9 lever upp till dina förväntningar. Tumnagel
37.3°
0
Origin PCs Big O Mix av PC och Xbox 360 Det nystartade företaget Origin PC har släppt något lite originellt och det är en mix mellan en PC och en Xbox 360, vilket väl ändå måste vara den första kombinationen av det här slaget som dykt upp på marknaden. Produkten från Origin PC kallas för Big O som alltså kombinerar en vattenkyld PC med en vattenkyld Xbox 360, eller med ett annat ord skulle man kunna säga "lyx". Dessutom kan de båda separata systemen köras samtidigt i den här lådan, vilket är ett plus. När det gäller konfigurationer av systemet så finns det ett par basvarianter att välja på som sedan kan byggas ut efter behov. Summan man får betala är dock ganska stor och för 7700 dollar får man en Core i7 930 överklockad till 4 GHz som sitter på ett Rampage III Extreme-moderkort. Förutom processorn får man också dubbla GeForce GTX 480-grafikkort och 6 GB RAM-minne fårn Corsair. Som lagringsmedia hittar vi två stycken 50 GB OCZ SSDs i RAID 0 och alltihop drivs av ett nätaggregat på 1500 W. Vill man lyxa till det ordentligt så finns det även en version för 17 000 dollar med bland annat två nätaggregat och ännu häftigare specifikationer än ovan. Följ länken nedan för fler bilder och information. Tumnagel
37.2°
0
tisdag 7 september 2010 Presentationsbilder på GeForce GTS 450 Specifikatoiner och referensdesign bekräftade Vi har sett lite bilder på Nvidias GeForce GTS 450 redan men vi har inte sett några officiella bilder som kommer från företaget utan det har varit två kort från tillverkarpartners. Den kinesiska webbsidan IT168 har nu dock visat upp några presentationsbilder som verkar komma direkt från Nvidia som visar både specifikationer och en bild på referensdesignen. Specifikationerna stämmer med allt det vi har hört tidigare, vilket alltså betyder att kortet kommer ha 192 CUDA cores, 1 GB GDDR5 via en 128-bitars minnesbuss. Klockfrekvenserna kommer att ligga på 783/1566/900 MHz (core/shader/memory). Bilderna visar också att referensdesignen kommer vara väldigt lik den av GTX 460, vilket även den senaste bilden på GTS 450 från Manli var. På utsidan av kortet kommer vi hitta en 6-pin PCI Express-kontakt och kortet ska dra upp till 106 W, vilket är ungefär två tredjedelar av vad GTX 460 drar. Nvidia tänker släppa GeForce GTS 450 i det segment som GeForce GTS 250 nu innehar, vilket förr var under 200 dollar för att sedan bli under 160 dollar. Den främsta målgruppen är de som behöver ett lättsamt grafikkort för LAN-parties men som ändå kan erbjuda hyfsat prestanda upp till 1680x1050 med 4xAA. Ett exakt pris för det nya kortet nämns dock inte. Tumnagel
36.9°
0
Intel kan ta med USB 3.0 i Sandy Brige trots allt Vi vet mer nästa vecka under IDF Det har varit en del vändor med USB 3.0s vara och icke vara i chipsets från olika tillverkare och speciellt när det gäller Intel. AMD planerar snart att integrera USB 3.0 i framtida chipset-plattformen men annat är det hos konkurrenten. Tidigare har det sagt att Intel helt skulle skippa USB 3.0 i den nya Sandy Bridge-plattformen men nu kommer ett rykte som säger något helt annat. Southbridge i Sandy Bridge-plattformen går under kodnamnet Cougar Point och ska komplettera processorn, vilken nu integrerar northbridge. Ryktet hos Digitimes säger nu att Intel ändå ska integrera en USB 3.0-kontroller i Cougar Points referensdesign och ska tillkännage detta under höstens IDF-konferens som hålls under nästa vecka mellan 13-15 september. Detta kommer från den kinesisktalande tidningen Commercial Times. Intel har tidigare sagt att man ska vänta med USB 3.0 i företagets plattformar och det har spekulerats i att de inte vill göra standarden för stor på marknaden då företaget planerar att släppa ett konkurrerande gränssnitt som de själva kallar för Light Peak. Det gränssnittet har beskrivits som "den sista kabeln du någonsin kommer att behöva" och bygger på optisk teknik för att kunna ansluta alla sorters enheter med varandra. Tumnagel
37.4°
0
VIA planerar quadcore-processor Kommer mot slutet av nästa år Många hoppas på att ARM ska utveckla en Atom-dödare och skifta marknaden från Intel men det finns fler i processormarknaden att hoppas på. Ett av dessa företag är till exempel VIA som nyligen har visat planer på att släppa en quadcore-processor. Enligt obekräftade källor så tänker företaget efter att de lanserat en netbook med en dualcore Nano-processor även lansera en quadcore-variant mot slutet av nästa år. En sak som gör det hela ytterligare något intressantare är att VIA även planerar ett nytt chipset, VN11, vilket nämligen ska innehålla stöd för DirectX 11. Dualcore-varianten av Nano tillverkas tillsammans med TSMC med en 40 nm-process och ligger på 2 GHz med en 1333 MHz buss och har 2 MB L2-cache. Den väntas bli en bra konkurrent till Atom i netbook-sektorn. Om nu VIA kan lansera en quadcore-variant med liknande specifikationer kan de plocka stora delar av server-marknaden då vi sett ett ökat intresse i flerkärniga lågströmsprocessorer. VIA skulle kunna behöva lite hjälp i nuläget av ett tillägg som en lågströms quadcore-processor. Företaget rapporterade att de går med förlust under första halvan av 2010 med hela 45 miljoner dollar, vilket alltså är mer än vad de gick i förlust med under samma period förra året. Tumnagel
37.3°
0
Bild på AMDs nya ''Cayman'' prototyp Blir förmodligen Radeon HD 6870 Det var väl bara en fråga om tid innan en bild på ett grafikkort från den icke ännu lanserade Radeon HD 6000-serien skulle dyka upp på nätet. Under gårdagen så dök det upp en bild på kortet som går under kodnamnet "Cayman" och just det här kortet ryktas ha tillägget XT. Bilden kunde hittas på det kinesiska forumet chiphell men man måste vara inloggad för att kunna se den. Tech Report var dock snälla och la upp bilden på sin sida och går säkert att hitta på andra webbsidor på nätet nu. Kortet på bilden kommer antagligen att få modellnumret Radeon HD 6870 när det släpps då det har ungefär samma storlek som det tidigare Radeon HD 5870. Kylaren ser dock lite mer komplex ut än tidigare men går i samma färgtema, svart med röda inslag. På baksidan kan vi se två DVI-portar, en HDMI-port samt två mini-DP portar. När det gäller specifikationer av kortet så är det fortfarande okänt till största del. Det enda vi vet kommer vara säkert är att GPUn kommer tillverkas med 40 nm-processen, alltså samma process som används för att tillverka dagens Radeon HD 5000-serie. Tumnagel
37.5°
0
måndag 6 september 2010 ARM tar fram en 2,5 GHz processor Cortex A9 baserad på 28 nm-processen ARM utvecklar processorer som sitter i många mobila lösningar idag och kommer även att driva många av de kommande tablets som tillkännagetts från diverse tillverkare. Företaget tillkännagav sent under förra veckan att de nu lyckats ta fram en 28 nm version av sin Cortex A9-processor, vilket i sin tur för med sig stora förändringar för specifikationerna. Detaljerna omkring den nya version av Cortex A9-processorn är fortfarande få men PC Perspective rapporterar att processorn byggs tillsammans med GlobalFoundries tack vare ett partnerskap som tidigare ingåtts under året. Det handlar om en dualcore-processor och klockfrekvenserna börjar vid 2,0 GHz och kan gå ända upp till imponerande 2,5 GHz för en mobil processor. ARM introducerar också något som de kallar för "voltage overdrive", vilket antas vara något liknande Turbo Boost som Intel introducerade i och med de nya Core i-processorerna. Med den funktionen så ska den nya Cortex A9-varianten kunna nå upp till 2,8 GHz men det är oklart om det ska gälla för en eller för båda kärnorna i processorn. Inget har sagts ännu om när processorerna kommer börja massproduceras men det här säger ändå lite om vilket motstånd som Intel har på den mobila marknaden med företagets Atom-plattformar riktade mot tablets och mobiltelefoner. Tumnagel
37.9°
0
HP och Hynix teamar upp Ska utveckla memristor ihop Vi har hört en del om Memristor-teknologin under det senaste året och nu har HP beslutat sig att gå samman med Hynix för att utveckla teknologin och föra ut den på massmarknaden. HP kommer alltså att tillsammans med Hynix tillverka memory resistors, vilket memristor egentligen står för. De har potential att i framtiden helt ersätta flash-minnen som vi använder idag. I HPs pressmeddelande kan man läsa att memristor kräver mindre ström och är samtidigt snabbare än SSD-lösningar som finns idag. Memristor tillhör den icke-flyktiga delen av lagringsmedium, vilket betyder att när man stänger av strömförsörjningen så behåller den datan som är lagrad på enheten. Den här teknologin kan bland annat leda till mycket snabbare boot-tider för PC-datorer men man kan även stänga av en dator helt och behålla all information som man höll på med istället för att gå in i något strömsparläge. Kapaciteter kan också bli riktigt höga och ett flashminne som idag innehåller 16 GB skulle med memristor få motsvarande 100 GB med ett chip på samma storlek, ungefär en kvadratcentimeter. HP talar också om något de kallar för ReRAM, alltså en kombination av lagringsmedia och systemminne för PC-datorer. Tumnagel
38.0°
0
AMD visar Ontario APU vid IFA Första bilderna på första Fusion-chipet Under IFA-mässan nu senast så visade AMD upp vad som kommer bli den första Fusion-processorn baserad på Bobcat, nämligen Ontario. AMD kallar egentligen Fusion-processorerna för APU:er, vilket betyder att CPU och GPU kommer att sitta i samma kiselkapsel. Som vi vet sedan tidigare så kommer GPUn i Ontario att vara DirectX 11-kompatibel och hela APUn riktar sig mot netbooks och ultraportabla enheter men även tablets. Själva processorns fysiska storlek är ungefär samma som ett 1 Euro mynt och precis som Intels Atom så används ett ball-grid array (BGA) för att fästa processorn på moderkortet. Den har dock ingen integrerad heatspreader (IHS). AMD sade nu också chipet ger samma mainstream-prestanda på mindre än hälften av ytan jämfört med tidigare processorer. Det har tidigare också pratats en del om hur mycket Ontario kommer att dra och företaget ger nu en siffra på 9 W för hela APUn. Det också pratades under IFA om ytterligare en variant av Ontario som kallas Zacate. Den kommer att vara något kraftigare och ska dra 18 W och den skulle kunna vara kraftig nog att konkurrera med Intels CULV-processorer. Tumnagel
37.3°
0
Nvidia avslöjar nya 400M grafikkretsar Kommer finnas i bärbara dator lagom till jul Precis som ryktet under förra veckan avslöjade så har Nvidia nu lanserat nya grafikkortsmodeller för bärbara datorer baserade på den nya Fermi-arkitekturen. Det är nog också på tiden att företaget gjorde en lansering då endast den högst presterande GeForce GTX 480M funnits på marknaden fram tills nu. Nvidia säger i sitt pressmeddelande att de nya korten kommer att fungera med Optimus-teknologin, en teknologi som företaget lanserade tidigare under året för att minska strömförbrukningen i bärbara datorer när högpresterande grafikapplikationer inte används. Totalt kommer det sju stycken nya modeller till bärbara datorer, vilket inkludera GeForce GTX 470M och 460M samt GeForce GT 445M, 435M, 425M, 420M och 415M. Alla av de nya modellerna har stöd för DirectX 11 och bygger som sagt på den senaste grafikarkitekturen, Fermi. Ska man säga någonting om prestandan av de nya mobila grafikkretsarna så säger Nvidia att de nya 400M-baserade grafikprocessorerna kan leverera upp till 10 gånger mer prestanda i StarCraft II som den tidigare generationen. De nya grafikmodellerna från Nvidia bör finnas i system lagom till julhandeln. Tumnagel
37.5°
0
AMD vill minska antalet klistermärken på bärbara datorer Gör det valbart att använda företagets klistermärken En liten småsak med bärbara datorer som man kan irritera sig på ibland är alla de klisterlappar som sitter på stödet nedtill under tangentbordet. Man kan tycka att de är lite onödiga och AMD lovar nu att göra någonting åt saken. AMD planerar nämligen, enligt en artikel hos New York Times, att göra sig av med många av de klistermärken som sitter på bärbara datorer. De kommer dessutom att göra en ändring till de klistermärken som används idag, nämligen att det ska vara lättare att ta bort dem och att de inte ska lämna några märken efter sig när de är borta. Ändringen kommer att ske under 2011 och det ska vara valbart för datortillverkare att använda företagets klistermärken eller inte. Skulle en tillverkare välja att inte använda klistermärkena från AMD så kommer de fortfarande att få samma peng för marknadsföring som om de skulle använda klistermärkena. För att ge ett exempel på hur irriterande det kan vara med klistermärkena har Tech Report lagt upp en bild på vänstra sidan av den dator de nyligen recenserade, Toshiba T235D. De säger dock att högersidan var ännu värre med ett stort klistermärke med specifikationer samt bland annat ett skype nära strömknappen. Tumnagel
41.2°
0
fredag 3 september 2010 Tech Report tar en närmare titt på Orochi Dissekerar bilderna av kärnan AMD visade nyligen upp bilder på kärnan av den kommande Bulldozer-baserade processorn Orochi, vilket ska bli företagets flaggskepp under 2011. Processorn baseras på 32 nm-processen och bilden visar vad som verkar vara dyra Bulldozer-moduler. Varje modul kommer att innehålla två integer cores och delad flyttalsberäkningsenhet, vilket gör att operativsystem kommer känna av 2 trådar per modul. AMD säger att varje modul ska vara 80 % så snabb som två riktiga kärnor. Tech Report har tagit en närmare titt på bilderna och upptäckt att de två övre kärnorna har mer L2-cache än de undre. Det verkar alltså som att den här Orochi-processorn har två vanliga Bulldozer-moduler och två utökade. Frågan är bara hur modulerna är utökade? AMD kan ha lagt till extra integerlogik, extra flyttalsberäkningslogik, eller rentav båda två? Kan det till och med vara så att de ger tre trådar per modul och därmed en Orochi-processor med 10 trådar totalt? Tumnagel
37.5°
0
MSI WindBox III Nu med Core 2 Duo Skulle du känna att din nuvarande nettop inte räcker till riktigt så har MSI nyligen uppdaterat sin variant, WindBox. MSI ger den nya nettopen namnet WindBox III och inuti sitter nu Core 2 Duo-baserad hårdvara där det tidigare suttit en Atom-baserad plattform. Den bygger dock fortfarande på en fläktlös design så den kommer inte låta mer än tidigare modeller. Designen har nu också blivit lite flexiblare och man kan enkelt byta minne och hårddisk samt att den kommer med två mini-PCIe portar där man kan koppla till diverse extra enheter utöver de inbyggda Wi-Fi 802.11 b/g/n och Blåtandsmodulerna. När det gäller kontakter så sitter WindBox III på bland annat sex stycken USB 2.0-portar och en vardera av DVI, VGA och HDMI-portar. Precis som tidigare så går enheten att fästas på baksidan av LCD-skärmar för att inte ta upp extra skrivbordsyta. Det nämns dock ingenting om pris eller när enheten kommer att släppas på marknaden. Tumnagel
37.3°
0
Manli GeForce GTS 450 Skulle kunna vara Nvidias referensdesign Ännu har inga bilder på Nvidias GeForce GTS 450-kort läckt ut, mer än några schematiska bilder på kretskortet och en och annan bild på tidiga exemplar av GPUn. Inga bilder på referensdesignen och hur kylaren har dykt upp men den turkiska sidan DonanimHaber.com kan ha lite hintar om hur den kan se ut. Senast vi hörde något om GeForce GTS 450 var tidigare under veckan då det handlade om en variant från Asus, vilken inte skulle basera sig på referensdesignen från Nvidia eftersom kretskortet var något längre. De bilder som dock dykt upp hos DonanimHaber.com visar på en modell som troligen skulle kunna vara referensdesignen. Det är ett GeForce GTS 450-kort den kinesiska tillverkaren Manli som bilderna visar och ser till utsidan nästan identiskt med GeForce GTX 460s referensdesign, förutom att det har ett grönt kretskort. Kortet ligger i alla fall på referensspecifikationerna när det gäller klockfrekvenser, 789/1566/900 MHz (core/CUDA core/memory), och har en 128-bitars minnesbuss. Priset av kortet rapporteras ligga på 130 dollar. Tumnagel
37.2°
0
torsdag 2 september 2010 Nvidia vill kombinera GPU och southbridge till Sandy Bridge Första "chipsetet" på länge? Nvidia har inte tagit fram några nya chipsets på länge och anledningen till det ligger till största delen i att de inte haft licens att tillverka chipsets för Intels senaste processorer. Det är också anledningen till varför Ion 2 blev ett dedikerat grafikkort och inte ett chipset i likhet med den första Ion-plattformen. Nu rapporterar dock Digitimes att grafikkortstillverkaren vill göra ett nytt försök genom att kombinera southbridge och GPU för att reducera produktionskostnader för PC-tillverkare och skapa potentiellt mindre och lättare enheter. Detta är ett resultat av de rättsliga processer som pågått mellan Nvidia, Intel och FTC men Digitimes källor säger dock att samtal mellan Nvidia och Intel antagligen inte kommer ske inom den närmaste framtiden. För att kringå licensproblem vill då Nvidia försöka sig på att detta genom att kombinera GPU och southbridge till Sandy Bridge-arkitekturen där CPU och northbridge sitter samman. Nvidia beräknar att företagets lösning skulle vara billigare för moderkortstillverkare jämfört med om de använder Intels egna southbridge-lösning, Cougar Point. Tumnagel
37.3°
0
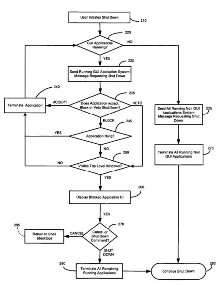
Microsoft patenterar att stänga ner ett operativsystem Får det att se väldigt komplicerat ut Under augusti månad år 2005 så lämnade Microsoft in en ansökan för ett patent som rörde ett effektivare sätt att stänga ner operativsystemet Windows, såväl som andra operativsystem vilket inkluderar Mac OS X. Det berör bland annat att man kan köra över program som annars håller operativsystemet från att starta om. Funktionen har funnits ett tag nu i Windows och är mer känd som den lilla skärm som dyker upp som listar program som körs innan du stänger ner operativet. Där kan användaren uppmanas att spara data i program som körs innan man ska stänga ner Windows. Microsoft beskriver hela processen i ett schema och får det att se väldigt komplicerat ut. Det inkluderar bland annat att operativsystemet får kommandot att stänga ner och automatiskt avsluta applikationer i det grafiska användargränssnittet (GUI) som håller tillbaks kommandot. Patentet ansöktes alltså tre månader innan när Vista skulle släppas till företag och därför nämns endast Windows XP i patentet. Tumnagel
36.8°
0
Gigabyte säljer suspekta HD 5670 1GB HyperMemory-kort Marknadsförs som 1 GB GDDR5-modeller Gigabyte är ändå ett ganska respektabelt företag men nu kommer information från ett taiwanesiskt forum att företaget ändå håller på med skumma försäljningsmetoder. Det berör en produkt som marknadsförs som ett Radeon HD 5670 med 1 GB GDDR5-minne, när det i verkligheten endast innehåller 512 MB minne. Produkten har fått namnet GV-R567HM-1GI och baserar sig alltså på Radeon HD 5670. På boxens utsida står det att grafikkortet ska ha 1 GB GDDR5-minne med ATI HyperMemory teknologi. Vad exakt HyperMemory är eller hur mycket minne som egentligen sitter på kortet står det ingenting om på boxens framsida. HyperMemory är en väldigt gammal teknik som ATI använder på budgetvarianter för att öka den tillgängliga minneskapaciteten för grafikkortet från datorsystemets RAM. Nvidia har en liknande teknologi kallat TurboCache. Så i verkligheten rör det sig alltså om ett GV-567D5-512I som märkts om samtidigt som den faktiska minneskapaciteten inte avslöjas på lådan. Så se upp om ni stöter på Radeon HD 5670-modeller som är något billigare än vanligt. Tumnagel
35.7°
0
onsdag 1 september 2010 ASUS GeForce GTS 450 DirectCu siktat på nätet Specifikationerna stämmer med ryktet Nvidia har ännu inte lanserat GeForce GTS 450 ännu men den har ändå dykt upp hos en onlinebutik i Bulgarien. Det är Asus första modell av kortet som har produktnamnet Asus ENGTS450 DirectCu och från bilderna att döma så handlar det om ett långt kretskort med företagets populära DirectCu-kylare. DirectCu-kylaren är en variant som Asus använt tidigare till grafikkort som legat i övre delen av mainstreamsegmentet och det högpresterande segmentet. Den förekommer både i företagets Radeon-serie såväl som GeForce-produkter. Av det lilla man kan se så ser kortet ut att ha en vardera av DVI, VGA och HDMI-kontakter samt en SLI-kontakt för att koppla ihop det med andra GeForce GTS 450-kort. Asus hävdar att kortet ska köras 20 % svalare och 35 % tystare än Nvidias referensdesign. Specifikationerna som listas är samma som de som dök upp i samband med rykten tidigare under sommaren. Det betyder en 40 nm grafikkärna, 192 CUDA-kärnor, 1 GB GDDR5-minne via en 128-bitars minnesbuss samt klockfrekvenser av 783/1566/900 MHz (GPUn/Shader/Minne). Priset av det listade kortet ligger på 145 Euro, vilket dock inte inkluderar skatter. Tumnagel
37.4°
0
Årets stora läsarundersökning! Vi vill veta vem du är! Vi försöker göra en läsarundersökning varje år så att vi (och våra annonsörer för den delen) vet vilka ni är egentligen. En hel del information får vi från Google Analytics, men inte allt. I år är det en fråga som jag är oerhört spänd på att veta svaret på, den om vilket telefonmärke som ni föredrar. Senaste undersökningen gjordes för drygt ett år sedan och jag anar att utfallet kommer att ha ändrats en del... Om du vill se vad alla andra Feber-läsare har svarat så gå in på länken nedan! Tumnagel
37.2°
0
AMD designar billigare DP-DVI adapter Sänker kostnaden med mer än hälften mot tidigare Ett litet problem med AMDs nya flerskärmsteknologi i Radeon HD 5000-serien har varit att de flesta korten baserar sig på DisplayPort kontakter, vilket har gjort att man i många fall varit tvungen att använda sig av en DisplayPort-DVI adapter som tidigare varit ganska dyr. Nu tänker AMD dock göra något åt saken och tar initiativet att designa en egen aktiv adapter. Företaget har nu släppt en referensdesign på en DisplayPort-DVI adapter så att man nu enklare ska kunna använda den inbyggda Eyefinityfunktionen i företagets grafikkort där upp till 6 skärmar kan användas till samma grafikkort. Aktiva adaptrar har fram tills nu legat på omkring 100 dollar, vilket är ganska saftigt då du måste ha en till varje skärm du vill koppla in som inte har inbyggd DisplayPort. Att adaptern är aktiv betyder att videosignalen bibehåller sin kvalité såväl som andra funktioner. Det har funnits vissa passiva adaptrar men det har visat sig inte fungera något vidare eftersom grafikkorten inte levererar DVI-signaler utan måste konverteras. Priset AMD förväntar sig av de nya adaptrarna ligger på omkring 30 dollar, alltså mindre än hälften av tidigare adaptrar på marknaden. Det finns dock en begränsning och de klarar inte av mer än en upplösning av 1920x1200 vid 60 Hz. Tumnagel
38.0°
0
Intel sänker kraftigt priset av Core i7-950 Släpper också ny Core i3-processor Helt utan någon förvarning så bestämde sig Intel för att sänka priset av den tidigare introducerade Core i7 950-processorn med nästan hälften. Core i7 950 har tidigare legat över 5000 kr men har nu sjunkigt till strax under 3000 kr, vilket man ändå får säga är en rejäl sänkning och borde vara en glad nyhet till de som fortfarande funderar på att bygga ett system med Intels LGA 1366-baserade moderkort. Samtidigt passar Intel på att introducera en ny processor i budgetsegmentet av de Nehalem-baserade processorerna, vilket alltså betyder en ny modell i Core i3-serien. Det handlar om Core i3 560 som nu blir den högst presterande processorn i serien med en klockfrekvens på 3,33 GHz. Processorn ligger dock på samma pris som den tidigare lanserade Core i3 550-processorn så man kan vänta sig att de lägre presterande varianterna snart kommer falla något i pris. Förutom denna så släppte Intel också några lågpresterande processorer i Pentium och Celeron-serierna, alla för ett pris under 100 dollar. Tumnagel
39.5°
0
Arctic släpper Accelero Xtreme Plus Har stöd för GF100-baserade grafikkort från Nvidia Arctic Cooling, ett företag som specialiserar sig på att kyla datorkomponenter, har tidigare varit väldigt populära med sin produktserie Accelero i diverse utföranden. Nu är det dags för ett tillägg i serien för Nvidias senaste GeForce GTX 400-grafikkort. Företaget har introducerat Accelero Xtreme Plus VGA-kylaren, vilken i stort sett bygger på samma design som den tidigare Accelero Xtreme men har nu också stöd för GF100-baserade Nvidia-grafikkort. Det betyder alltså att den kan byta ut originalkylaren och kan fästas på GeForce GTX 480, 470 och 465. Kylaren behåller dock monteringshål så att den även kan anpassas till tidigare varianter av grafikkort. Kylflänsen är designad för att klara av en belastning av upp till 250 W från grafikkortet. Den består av en kopparbas som har kontakt med GPUn och därifrån sprider sig sedan fem värmerör till aluminiumfenor som kyls av tre stycken 92 mm-fläktar. Fläktarna kan köras vid hastigheter mellan 800-2000 rpm och Arctic Cooling har även specialdesignat lösningen så att ljudet från fläktarna ska minska något. Arctic Accelero Xtreme Plus ska finnas tillgängligt redan nu och ska ligga på ett pris omkring 55 Euro. Tumnagel
37.0°
0
tisdag 31 augusti 2010 Extra strömadapter till bärbara datorer från Sandberg För både bilen och hemmet Jag har återigen fått chansen att testa nya produkter från Sandberg och den här gången gäller det extra strömadaptrar till bärbara datorer. Som vanligt handlar det om högkvalitativa produkter till ett rimligt pris. Sandberg har lanserat fyra nya modeller, två 40 W adaptrar riktade mot netbooks och två 90 W adaptrar som riktar sig mot övriga modeller. Det som skiljer de två modellerna åt inom varje segment är att den ena är för hemmet, eller eventuella resmål, och den andra är till för att användas i bilen. Om vi börjar att titta på den "normala" varianten för hemmet så kan den förses med 110-240 V, vilket gör att man kan använda den i stort sett varsomhelst i världen. Man kan också ställa in vilken spänning som adaptern ska mata ut efter vilken enhet den ska driva. Inställningar finns för 12, 15-20 och 24 V som görs genom att trycka på en knapp på själva strömkuben. Vilken spänning som valts visas sedan med fina röda siffror från en liten display. Skulle man dra ur kontakten och koppla in adaptern igen så kommer den ihåg vilken spänning som användes senast. Till detta hittar man sidan ett antal olika huvuden som kan bytas ut på adaptern för att passa den modell du kör. Dessutom finns det ett USB-uttag på strömkuben för att driva enheter som körs från en USB-port. Adaptern som är tänkt att användas i bilen skiljer sig något från adaptern för hemmet. Självklart är input-spänningen olika och kan förses med 12-24 V DC. Utspänningen väljs dock genom att fästa rätt huvud på sladden men detta står dock tydligt på sidan av varje huvud. Det senare gäller också för 40 W adaptern för hemmet riktad mot netbooks. Ska man hitta några nackdelar med produkterna så kan jag nog tycka att sladden på modellen gjord för hemmet är något för kort och avståndet mellan datorn och strömkuben kunde varit längre. Tumnagel
36.9°
0
Fler GeForce 400-kort på väg Avslöjas i senaste drivrutinerna När nya drivrutiner släppts till grafikkort så kan det ibland finnas med "överflödig" information, såsom produktnamn eller kodnamn på nya varianter som ännu icke lanserts. Förra gången det hände var så sent som förra veckan då kodnamn för AMDs nya Radeon HD 6000-serie kunde utläsas från 10.8-versionen av Catalyst-drivrutinerna. Den här gången är det Nvidias tur att släppa sådan information och den följer med de senaste versionen av ForceWare-drivrutinerna, 259.47. Där kan man hitta produktnamn som GeForce GTS 455 och 450. Lite längre ner i listan för grafikkort till stationära datorer hittar vi också GeForce GT 440, 430 samt 420. På den mobila sidan finns totalt sju varianter varav två är GTX 400M och de återstående fem är GT 400M. Allt som allt handlar det alltså om 12 produkter som ännu inte har släppts. Det betyder alltså att Nvidia förbereder en ganska saftig lansering i den mobila sektorn eftersom det enda DirectX 11-chipet som lanserats hittills är GTX 480M. AMD har dock redan en hel produktlinje ute på marknaden, vilken tillkännagavs för nästan åtta månader sedan. Tumnagel
37.1°
0
Benchmark av Radeon HD 6870 genomförd i Kina Visar på stark förmåga till tessellation En kinesisk webbsida har återigen varit först med nya prestandasiffror och tester av ännu icke lanserade produkter. Det handlar om de kommande Radeon HD 6800-seriens HD 6870-kort och det verkar minst sagt någonting att se fram emot. i 3DMark Vantage får vi se siffror av Z12092 och P24499 samtidigt som Crysis inbyggda benchmark ger en frame rate på 43,55 fps vid en upplösning av 1920x1200 och inställningarna satta på "Very High" samt 4x AA. Unigine Heaven ger en poäng av 922 med extreme tessellation. Ger man den här informationen lite perspektiv så ligger resultaten över vad man kan förvänta sig av ett GeForce GTX 480, vilket ligger omkring 900 i Unigine Heaven. Ett Radeon HD 5870 ligger omkring 500. Eftersom Unigine Heaven testet bygger mycket på tessellation kan man tänka sig att Radeon HD 6800-serien fått kraftigare motor för detta, precis som Nvidia gjorde med Fermi. Med tanke på att AMD verkar ha en helt ny serie på gång så kan det blir tufft för Nvidia framöver om de inte har nya produkter planerade inom en snart framtid. Än så länge har det inte kommit några rykten om detta och företaget är fortfarande farten med att lansera mainstream och budget-varianter av Fermi-arkitekturen. Tumnagel
37.5°
0
Lucidlogix introducerar ny arkitektur för grafikkort Tillverkare kan nu sätta hydralogix-chipet direkt på grafikkortet LucidLogix fortsätter att utveckla produkter omkring sin grafikteknologi som kan koppla samman flera grafikkort för ökad prestanda. Företaget har nu tagit fram en ny arkitektur för grafikkort som de kallar för UNITY för HYDRALOGIX engine, tidigare känd som HYDRA. Den nya arkitekturen låter grafikkortstillverkare kombinera hydralogix 200-chipet med en gpu från Nvidia eller AMD, vilket gör att man får en väldigt flexibel lösning för att koppla in många grafikkort på ett moderkort, samtidigt som kostnaden inte blir hög. Detta gör att spelare får fler möjligheter att utöka sina datorsystem med olika grafikkort, oberoende av moderkortets konfiguration. Jon Peddie Research säger att marknaden för flergrafikkortssystem har växt även under den tiden då ekonomin gick trögt. Lucidlogix nya arkitektur ger ytterligare expansionsmöjligheter till OEM:er, ODM:er såväl som konsmenter och borde driva väl prissatta, högpresterande spelsystem ännu bättre. Lucidlogix Unity-arkitektur finns redan nu tillgängliga för grafikkortstillverkare och kort bör dyka upp under julsäsongen i år för under 199 dollar. Tumnagel
37.2°
0
måndag 30 augusti 2010 Fujitsu släpper Lifebook AH530 GFX Kommer ha externt grafikkort med 1 GB grafikminne Externa grafikkort för bärbara datorer är inte så vanlig men det finns ju en del lösningar. De flesta har varit dedikerade till endast en modell som till exempel den externa docka som Gigabyte släppte under förra året till M1305, vilken innehöll ett GeForce GT 220. I likhet med detta har Fujitsu nu tillkännagett en ny bärbar dator som också kommer att ha extern grafik tillgänglig. Modellen heter Lifebook AH530 GFX och det externa grafikkortet är ett ATI Mobility Radeon HD 550v med 1 GB grafikminne, men det nämns ingenting om hur det ska kopplas in till datorn. Inuti datorn sitter det annars en Intel Core i3/i5/i7-processor tillsammans med upp till 8 GB RAM och en hårddisk på upp till 500 GB utrymme. Vi hittar också en optisk läsare, Blu-ray eller DVD, Wi-Fi b/g/n, Blåtand 2.1, tre USB 2.0-portar samt en VGA och en HDMI-port. Modellen ska släppas i dagarna men inget pris har ännu tillkännagivits. Tumnagel
37.1°
0
AMD tänker plocka bort ATI som märke Nu är det i stort sett klart Ett rykte dök upp för litesedan att AMD kanske skulle göra sig av med sitt grafikkortsmärke, ATI, och istället marknadsföra alla produkter under märket AMD. Nu har nya logotyper dykt upp för kommande produkter och de kommer endast att ha "Radeon"-märkte då ATI försvinner helt och hållet, vilket ett märke som har funnits i 25 år. Den nya logotypen ska tilltala både de som spelar datorspel och som köper de dyrare grafikkorten samtidigt som vanliga konsumenter, vilka är potentiella köpare av prestandalösningar som ökar hastigheten i deras applikationer. Att ATI försvinner markerar AMDs intention att ena produktlinjer inom företaget. Med detta vill företaget också lägga mer fokus på de kommande produkterna inom Fusion-produktlinjen, där man smälter samman CPU och GPU till en produkt. Märket kommer nog dock att saknas av de som tidigare köpt högpresterande produkter då det förknippas med hög kvalité, prestanda osv. Vissa personer, som vill vara anonyma, som redan sett de nya logotyperna tycker dock att det inte gör så mycket. En sade till och med att han inte tänkte på att ATI egentligen skulle stå bredvid Radeon. Tumnagel
37.5°
0
Tester av Sandy Bridge CPU och GPU Core i5-2400 har mycket högre grafikprestanda än tidigare integrerade lösningar Sandy Bridge kommer inte släppas på ungefär ett halvår men det hindrar tydligen inte att prestandatester med den nya plattformen körs redan nu. AnandTech har lyckats få tag i ett tidigt testexemplar och kört lite tester. Processorn heter tydligen Core i5-2400 och är en quadcore-variant där kärnorna ligger på 3,1 GHz och hela processorn har 6 MB L3-cache. TurboBoost var dock inte aktiverat i det här testexemplaret men det rapporteras att en slutgiltig produkt ska kunna komma upp i 3,4 GHz med TurboBoost. Det gick dock ganska bra i testerna även utan TurboBoost när Anandtech tog processorn på en benchmarkstur. Just den här processorn var 23 % snabbare än Intels Core i5-760, vilket antagligen är den processorn som Core i5-2400 kommer ersätta när den släpps. Dessutom så drar den 10 W mindre under belastning. Eftersom Sandy Bridge kommer ha integrerad grafik så testades givetvis grafikkärnan också. Vid låga upplösningar och inställningarna ställda på "low" i spel så var prestandan likvärdig med Radeon HD 5450. Det kanske inte är så imponerande men det är i alla fall en rejäl höjning av prestandan jämfört med tidigare integrerade grafiklösningar från Intel. Tumnagel
37.4°
0
Viking Modular lanserar SATADIMM Sätt en SSD i din minnesplats Visst har vi sett SSD-liknande produkter baserade på minnedsmoduler men då har det handlat om vanliga DDR eller DDR2-moduler som kopplats in på ett speciellt sett. Viking Modular kommer nu med en ny produkt som gör att du kan dra nytta av icke använda minnesplatser på ditt moderkort. Viking Modular kallar sin skapelse för SATADIMM och baserar sig alltså på DRAM-moduler som ska kunna ockupera icke använda minnesplatser på ditt moderkort. De agerar sedan som en vanlig SSD och hastigheterna verkar ganska lovande, 260 MB/s i både läs och skrivhastighet. Datan överförs dock inte via minnesgränssnittet utan SATADIMM-modulerna tar endast ström där. De måste fortfarande kopplas med en SATA-kabel till portarna på moderkortet för att kunna användas som en vanlig SSD. Det ser dock ut att vara en bra lösning för de som vill trimma ner utrymmet i sina datorlådor ännu mer men tyvärr finns modulerna bara tillgängliga för företag och OEM:er just nu. Företaget har också en annan trevlig lösning, vilken de kallar för SATA CUBE som ger en väldigt liten formfaktor då minneschipen staplas på varandra. Kapaciteten ligger på 4 GB till 256 GB och är som kan ses på en av bilderna till höger mycket mindre än till och med en 1,8" enhet. Tumnagel
37.7°
0
söndag 29 augusti 2010 Få Ubuntu att se ut som Windows 7 En lösning för de som kanske inte är redo att gå över helt Det finns säkert en och annan som sitter och fundera på att byta operativsystem från Windows till någon av de linux-baserade distributionerna men kanske inte är redo att ta steget fullt ut. Här finns en liten lösning som kanske kan hjälpa en del på vägen i övergången. På sidan Linuxtrends skriver man om en möjlighet att få en av de väldigt populära Linux-varianterna, Ubuntu, att se ut som Windows 7. De skriver att det är ett bra sätt att få igång gamla datorer där man mest ska surfa, läsa email, skriva dokument eller strömma musik och videor till. Det hela går till så att man installerar ett Windows 7-liknande GNOME-tema ovanpå en vanlig installation av Ubuntu 10.04. Det här skulle också kunna fungera med andra Linux-varianter med GNOME och som har alla nödvändiga paket som behövs. Om ni följer länken längst ned hittar ni en guide över hur man installerar detta i ubuntu. Det här ger ju dock inte möjligheten att köra Windows-baserade program men det kan också hjälpas litegrann genom att installera WINE eller en betalvariant som gör i stort sett samma sak, Crossover Linux. Tumnagel
36.9°
0
fredag 27 augusti 2010 Stereo-3D behöver tid på sig för att påverka spelmarknaden ID Softwares VD säger sitt VDn för ID Software, vilka är väldigt kända för spel som Doom och Quake, sade nyligen att stereo-3D teknologin måste bli billigare för att den ska kunna ha en inverkan på spelindustrin. Innan detta sker är det inte många utvecklare som kommer att köra S3D i sina spel. Todd Hollenshead, ID Softwares VD, erkänner dock att S3D skulle tillföra mycket för spelupplevelsen och förbättrar utseendet av spelen. Att man ska behöva använda glasögon ser han dock som en stor nackdel och medför besvär. Han säger att han blev lite irriterad att ha på sig glasögon under en film på två timmar och började få ont i näsan mot slutet. Om man spelar spel och rör på huvudet så kan de dessutom bli osyncade, vilket är ett stort problem. Den största nackdelen just nu är dock att tekniken är dyr och att det inte finns mycket material. Det känns dock lite som moment 22. Utvecklarna vill att tekniken ska bli billigare så att de kan använda dem men om det inte finns något material att titta så kommer ingen köpa tekniken, vilket gör att den blir billigare. Tumnagel
37.4°
0
Commodore USA tillkännager PC64 Gamla C64-skalet med Atom-processorn inut Commodore verkar vara ett märke som aldrig dör och har försökt sig på en hel del comebacks under åren. Nu är det dags för Commodore USA att återigen lansera en ny produkt och den liknar den gamla C64-modellen. Det handlar om en väldigt upphottad modell av den gamla datorn där man bytt ut de interna delarna mot en av Intels senaste processorer, Atom 525, med stöd för DDR3-minne, vilket man också tryckt in 4 GB av. Inuti hittar man också en 1 TB hårddisk och en optisk läsare och för grafiken står Nvidias ION 2.plattform. På utsidan sitter en HDMI samt DVI-port för att koppla till externa skärmar, vilket är något helt annat än att koppla den till en gammeldags tjockTV. Datorn har dock en exakt kopia av det gamla C64-chassit, vilket även inkluderar tangentbordet. Jag tror säkert att den här kommer sälja i ett antal exemplar till de som vill bli lite nostalgiska men ännu har ingenting sagts om pris men datorn ska släppas på marknaden till jul. Tumnagel
40.9°
0
Nyaste Catalyst-drivrutinen avslöjar nya kodnamn Ser ut att bli många olika varianter AMD släppte nyligen en uppdatering till Catalyst-drivrutinerna till företaget grafikkort men förutom bättre prestanda så följde det med någonting helt annat. I informationen till de nya drivrutinerna, vilka nu är uppe i version 10.8, kunde man utläsa detaljer om den kommande Radeon HD 6000-serien. Enligt VR-Zone så kan man hitta kodnamnen på en större delen av ännu icke lanserade produkter. Bland kodnamnen hittar vi Cayman, Antilles, Blackcomb, Barts, Whistler, Onega, Turks, Seymour, Caicos, samt Caspian. Några av varianterna följs av tilläggen GL XT, GL Pro, GL, XT, LP, samt Pro och framför alla kodnamnen så står det "NI", vilket skulle kunna stå för Northern Islands men det verkar dock lite konstigt eftersom de kommande korten går under kodnamnet Southern Islands. VR-Zone spekulerar också omkring betydelsen av kodnamnen. GL skulle till exempel kunna stå för FirePro-kort riktade mot arbetsstationer medan LP kan betyda Low-Power. Hursomhelst så handlar det om många kodnamn vilket betyder att den nya serien kommer innehålla många varianter, från budget till högpresterande. Tumnagel
37.2°
0
torsdag 26 augusti 2010 ViewSonic planerar dual-boot tablet Windows och Android Viewsonic gick under förra året över till fler segment än bara monitorer för PC-datorer med bland annat lansering av bärbara datorer. Nu tänker företaget utöka sitt sortiment med tablets och ska släppa vad företaget kallar en iPadkiller, nämligen en 10" tablet med dualboot. Enheten har dock ännu inte tillkännagetts men företaget har bekräftat att en prototyp ska finnas tillgänglig under IFA-konferensen i Berlin under september. Vilken processor som används har inte heller avslöjats men antagligen rör det sig om Atom. Som jag nämnde ovan så tänker företaget lägga in två operativsystem i sin tablet och det rör sig om Android och ett från Microsoft. Om Viewsonics pressmeddelande stämmer och operativsystemet från Microsoft inte rör sig om en ARM-variant av Windows CE så blir det här antagligen den första tableten med en x86-kompatibel variant av Android. Då återstår bara frågan om den kommer få officiellt stöd från google. Även om Android är open-source så har Google olika licensavtal med olika kunder. Alla kan använda grundvarianten av operativsystemet men tillgång till Android Market kostar alltid extra. Släpper du dessutom en enhet med till exempel Google Maps och andra applikationer så kostar det ännu mer. Tumnagel
37.5°
0
ARM öppnar för virtualisering Ger hårdvarustöd i nya Cortex A "Eagle" ARM fortsätter att sätta tryck på Intel och med nästa chip riktat mot servermarknaden, vilket går under kodnamnet Eagle, kanske Intel behöver börja oroa sig på allvar. ARM är ju mest kända för att ta fram lösningar för portabla och embedded marknaderna med kännetecken som hög prestanda per watt. Företaget har aldrig riktigt riktat sig mot stationära eller servermarknaderna där Intel ligger på topp. Den nya ARM Cortex A-processorn ser dock ut att ändra på detta och kommer dessutom med en teknologi som nästan är ett måste idag, nämligen stöd för virtualisering i hårdvaran. ARM tar alltså fram ett eget svar på Intels VT-teknologi och ska konkurrera i lågströmsservermarknaden. En av ledarna inom virtualisering, VMWare, har redan sagt att de ska utveckla hypervisor-mjukvara för Coretx A, vilket kan få Intel att behöva börja oroa sig för konkurrentens framsteg och intåg på servermarknaden. Detta kan också leda till att vi kan få tablets och slates som kan köra flera operativsystem samtidigt genom virtualisering. ARM har dock ännu inte tillkännagett när Eagle kommer att släppas men en representant från företaget har sagt att det kommer ske väldigt, väldigt snart. Tumnagel
37.3°
0
Gigabyte introducerar passivt kyld HD 5770 Gigabyte HD 5770 Silent Cell Nyligen har jag pratat en hel del om specialvarianter av AMDs Radeon HD 5770 och nu är det Gigabytes tur att lansera en lite unik modell. Gigabyte tänker nämligen släppa en passivt kyld variant av Radeon HD 5770, vilken de kallar för Gigabyte HD 5770 Silent Cell och har den officiella produktbeteckningen GV-R577SL-1GD. Företaget använder sig av en helt egen design som inte bygger på referensdesignen och tillverkas med Gigabytes Ultra Durable VGA-teknologi som bygger på högpresterande komponenter. Kylaren är också väldigt stor, vilket kan förstås om den ska orka med att kyla grafikprocessorn. Den sträcker sig över hela kortet samt att den även går upp en bit ovanför kortet vid bakre änden. Värmen sprids genom kylflänsen med fyra stycken 6mm tjocka värmerör. Förutom den egendesignade kylaren så är resterande specifikationer detsamma som andra Radeon HD 5770-kort baserade på referensdesignen. Det betyder att grafikkärnan ligger på 850 MHz och minnet på 1200 MHz, vilket förövrigt har en kapacitet på 1 GB. Gigabyte nämner dock ingenting om priset av den nya varianten. Tumnagel
37.9°
0
Acer tror inte på iPad-yran Marknadsandelarna kommer ligga under 20 % enligt företagets VD Som det är idag så har iPad i stort sett monopol på tablet-marknaden på grund av bristen på konkurrenter och tidiga användare har inte mycket annat val än att köpa en iPad. VDn för en av världens största PC-tillverkare, Acer Group, tror dock att läget kommer ändras inom kort när alternativ väl kommer ut på marknaden JT Wang sade i en intervju med den kinesiska tidningen Economic Daily News att Googles Android-plattform behöver lite tid för att utvecklingen ska bli klar för att kunna ta sig in på tablet-marknaden. Givet det faktum att det finns tiotals företag som stödjer Android så kommer det finnas mängder av olika tablets och smartphones när allting är klart och då kommer det vara svårt för Apple att konkurrera med dem. Wang tror att till och med 20-30 % globala marknadsandelar är för optimistiskt efter att Android, MeeGo, WebOS och Windows-baserade tablets lanserats på marknaden. Apples starka sida är att konkurrera i små men snabbt växande delar av marknader. Det syns då deras marknadsandelar i dator och telefon-segmenten är små med den digitala spelaren ipod säljer väldigt bra. Acer själva planerar att släppa en Android-baserad tablet sent under 2010 eller tidigt under 2011. Tumnagel
37.0°
0
onsdag 25 augusti 2010 Firefox 4.0 beta 4 bygger in stöd för Direct2D Grafikkortet kan nu ta hand om grafikaccelereringen Vi har tidigare fått veta att flera webbläsare ska få hjälp att accelerera grafiken med hjälp av hårdvaran och under arbetets gång med Firefox 4.0, vilken nu ligger i beta, så kommer Direct2D att implementeras. Acceleration med Direct2D i hårdvaran kommer att fungera under Windows, precis som i Internet Explorer 9. Mozilla har dock stängt av funktionen som default men att aktivera den krävs inte mycket jobb. Om du känner för att testa den nya funktionen så är allt du behöver göra att ladda hem den nya betan och installera. Du bör dock ta en backup på profilen om du redan använder en tidigare version av Firefox. Sedan är det bara att starta igång, gå till about:config sidan och ändra två inställningar, vilka ni hittar i länken längst ned i inlägget. Efter att funktionen aktiverats så kommer grafikkort att stå för renderingen. När hårdvaruacceleration av grafiken aktiverats så kommer det hela antagligen att gå en hel del snabbare och det märks speciellt i demon som till exempel Microsofts Canvas Zoom och Mozillas live photo resizer. De demon som finns för Internet Explorer 9 fungerar även utmärkt i Firefox 4.0 beta 4. Tumnagel
38.8°
0
Gigabyte uppdaterar sin netbook Tablet PC Gigabyte T1005M får nya Atom N550 Jag skrev under gårdagen om att Intel släppt sin nya dualcore Atom-processor, N550, och att en hel rad nya modeller har släppts från diverse tillverkare. Gigabyte är inget undantag och företaget har uppdaterat sin Tablet PC-modell med den nya processorn i en produkt som får produktnamnet GA-T1005M tablet PC. I likhet med de tidigare modellerna så ligger skärmstorleken på 10,1" med en upplösning av 1366x768 pixlar, vilket jag måste säga är mycket trevligare än den vanliga netbook-upplösningen av 1024x600 pixlar och är något jag ofta påpekar. Som vi hörde igår så körs Atom N550-processorns två kärnor vid 1,5 GHz, alltså något lägre än N450-processorn 1,66 GHz. Inuti Gigabytes nya Tablet PC sitter också 2 GB DRR3-minne samt en 320 GB hårdisk och grafiken drivs av Intels GMA 3150-chip. I datorn finns också uppkopplingsmöjligheter som Wi-Fi b/g/n, gigabit ethernet, blåtand 2.1 samt plats för 3.5G HSDPA. Vi hittar också ett antal USB-protar, en kortläsare och en ExpressCard-port samt en webbkamera på 1,3 Mpixel. Batteriet är ett 6-cells batteri men det nämns ingenting om batteritiden. Vikten ligger på 1,48 kg inklusive batteriet och hela paketet kommer att säljas för omkring 800 dollar. Tumnagel
37.3°
0
Intel hoppas stort på Medfield Tror att den blir bättre än ARMs lösningar Intel avslöjade nyligen att de öppnar ett forskninglab tillsammans med Nokia angående nästa generations ultramobila plattform, Medfield, vilken företaget hävdar ska dra mindre ström än till och med lösningar från konkurrenten ARM. Intel säger att med Moorestown så ligger de jämsides med ARM i standby-förbrukning men Medfield kommer ta hem det när det gäller aktiv förbrukning också, samtidigt som den ska ha bättre prestanda. Intels processorer har stora fördelar jämfört med ARM-baserade lösningar redan som det är nu när det gäller prestanda men drar dock mer ström i x86-baserade plattformar i handhållna produkter. Intels CTO, Justin Rattner, sade att han förväntar sig att företaget kommer dra ifrån efter nästa plattform, eftersom de har ett fundemantalt teknologiskt övertag. Enligt Nokia så är en lång batteritid den viktigaste kvalitén i mobiltelefoner och givet det faktum de arbetar med Intel att utveckla operativsystemet MeeGo samtidigt som de licensierat teknologi från Intel så ser det ut som att världens största mobiltelefontillverkare faktiskt tror på Intels kommande plattform med sänkt strömförbrukning och hög prestanda. Tumnagel
37.1°
0
AMD berättar mer om Bobcat och Bulldozer Kommer nästa år AMD har länge pratat om företagets rival till Atom och Xeon, nämligen Bobcat respektive Bulldozer, men de har ännu inte släppts på marknaden. De kommer inte att lanseras förrän under 2011 så allt vi har att hålla tillgodo med i nuläget är lite presentationsbilder från AMD. Om vi börjar med Bobcat så är det en processor som riktar sig mot netbook/ultratunna marknaden. AMD säger att processorn ska ha en prestanda av omkring 90 % av dagens K8-baserade mainstream-processorer men kräver bara hälften så stor yta och ligger på en bråkdel av strömförbrukningen. Bobcat kommer också bli kärnan i Ontario, AMDs första Fusion-processor. Processorn ska även kunna köras på under 1 W genom att sänka klockfrekvensen och spänningen och det gör att den även kan komma att lanseras i enheter med en mindre formfaktor som till exempel MIDs. När det gäller Bulldozer så har den också en framtid i produktlinjen Fusion men den kommer först att släppas som en vanlig processor utan inbyggd grafikkärna riktad mot servrar och högpresterande konsumentsystem. AMD försöker sig också på en ny tillämpning av multithreading och kallar det "itx27s multithreading done right". De första Opteron-chipen baserade på Bulldozer går under kodnamnet Interlagos och kommer ha 16 kärnor. Den kommer dyka upp någon gång under nästa år och utlovar omkring 50 % bättre prestanda än det nuvarande Magny-Cours baserade flaggskeppet. Tumnagel
37.0°
0
tisdag 24 augusti 2010 Inget Steam för Linux trots allt I alla fall inte i nuläget Tidigare under sommaren kom det nyheter om att Steam höll på att ta fram en klient för Steam till Linux-plattformen. Detta var dock ingen officiell information utan var något som härleddes från bitar av koden i Steam. Nu säger dock Valces Doug Lombardi i en intervju med GamesIndustry.biz att företaget inte arbetar med någon klient för Linux och det är något som inte går att tolka på annat sätt. Doug frågades om detta och svarade att företaget inte utvecklar någon klient just nu. Så, det ser ut som att vi får vänta ännu ett tag innan det dyker upp en dedikerad klient för Linux på Valves spelplattform Steam. Att göra en klient för Linux innebär säkert mer jobb än att bara modifiera den version som släppts för OS X. Även om de två har samma rötter så körs OS X på en väldigt begränsad mängd hårdvara. En Linux-klient skulle även behöva testas på väldigt många distributioner förutom hårdvarukonfigurationer. Nu har jag inte testat det själv men det kanske skulle vara möjligt att köra Steam genom Wine. Om någon av våra läsare har testat detta får ni gärna skriva en kommentar. Tumnagel
36.5°
0
Intel släpper dualcore Atom N550 Netbook-modeller släpps också från alla stora tillverkare Intel tog ett nytt steg framåt på netbookmarknaden under gårdagen och lanserade sin dualcore-variant av Pineview Atom-processorn. Atom har blivit ett lågströmsalternativ till Celeron-M processorerna, vilka var de som användes i de ursprungliga netbooksen från Asus Eee PC-linje. I och med gårdagens introduktion så släpptes också en hel rada med nya modeller av netbooks baserade på den nya Atom N550-processorn. De båda kärnorna i Atom N550-processorn ligger på 1,5 GHz och har stöd för DDR3-minne. Enligt Intel ska netbooks från de flesta stora tillverkare släppas, vilket inkluderar bland annat Asus, Acer, Lenovo och MSI. Från Acer hittar vi till exempel Acer Aspire One D255 och Asus släpper Eee PC 1015PN. Netbooks har ju funnits ute ett tag nu så jag tänkte passa på och fråga våra läsare här på feber vad ni har för åsikter om segmentet. Finns det fortfarande användsingsområden för netbooks eller tror ni att de snart kommer att försvinna från marknaden? Lämna gärna kommentarer, ordet är fritt! Tumnagel
37.4°
0
GeForce GT 430 är på väg Det billigaste Fermi-kortet kommer släppas inom några veckor Om det finns någon sanning bakom de rykten som spritts under sommaren så kommer Nvidia att släppa en hel del mainstream och budgetvarianter baserad på den nya grafikarkitekturen Fermi. Fudzilla är en sida som brukar skriva mycket om rykten och här kommer det senaste. Ryktet säger att Nvidia planerar att släppa ett nytt kort om några veckor och det blir GeForce GT 430. Kortet kommer att ligga på klockfrekvenser av 700 MHz för GPUn och 900 MHz för minnet. Grafikminnet kommer att kopplas via en 128-bitars buss. Storleken på GPUn kommer att vara 29x29 mm. Fudzilla säger att de ännu inte kunnat avgöra om kortet kommer att släppas på konsumentmarknaden eller om det endast kommer bli en OEM-produkt och skickas med färdiga datorpaket. Det ser dock ut som att det här kortet blir det billigaste av de som baserar sig på Fermi-arkitekturen Tidigare har vi sett rykten om GeForce GTS 450, 445 och 440, vilka ska drivas av GF106-chipet. När det gäller GeForcr GTS 450 så ryktas det om att det ska släppas någon gång i mitten på september. Tumnagel
37.3°
0
Stamp är en ny billig tabletprototyp från Indien Ska kosta omkring 50 dollar Det verkar som att Indien verkligen är på när det gäller det här med tablets. För det första så har vi företaget Notion Ink, vilka utvecklar tableten Adam, vilken vi nyligen fick se pris på och vilka olika modeller som ska komma. För det andra så har landets egen regering tagit fram ett initiativ för att uveckla en tablet, vilken går under namnet Sakshat, som ska kosta under 30 dollar. Här kommer ett tredje alternativ från Indien och det är en produkt som kallar sig för Stamp. Den utvecklas av AllGo Embedded Systems och även Stamp ser ut att få ett ganska lockande pris jämfört med många konkurrenter på marknaden, nämligen 50 dollar. Stamp ska köras med operativsystemet Android, närmare bestäms Android 2.1, vilket betyder att den borde klara av uppspelning av MPEG-4/H.264 video och att den får stöd för utökad lagring via USB. Vi får också Wi-Fi samt FM Radio som funktion. Den här produkten verkar inte vara del av något statligt initativ, vilket betyder att den antagligen kommer dyka upp på massmarknaden och inte bara vara tillgänglig för studenter i Indien, liknande Sakshat. Efter hoppet hittar ni en video av tableten Stamp. Tumnagel
37.3°
0
måndag 23 augusti 2010 Flera Windows-program innehåller en kritisk bugg Måste patchas separat En bugg som bedöms kritisk som upptäcktes för ungefär fyra månader sedan existerar fortfarande i omkring 40 mjukvaror för Windows. Detta påstår HD Moore, chief security officer vid Rapid 7 och skapare av open-source programmet Metasploit. Det handlar som vanligt om en svaghet som kan tillåta en hackare att ta kontroll över en dator och infektera dem med malware. Den här gången är det dock upp till varje tillverkare bakom mjukvarorna att släppa en patch då det måste göras separat för varje program. Apples iTunes fick dock en patch redan för buggen för fyra månader sedan. Moore skrev på twitter under förra veckan, "The cat is out of the bag, this issue affects about 40 different apps, including the Windows shell". Han lämnade också en länk där man kunde läsa om svagheten i iTunes, vilken numera inte finns kvar. Rapid7 bekräftade sedan att svagheten finns i ett antal program för Windows som hittades av en slump när de undersökte en annan patch som Microsoft släppte den 2:a augusti i år. Moore nämner dock inte vilka program det gäller och gick heller inte in i detalj på sårbarheten i programmen. Tumnagel
36.9°
0
Lite rykten om Radeon HD 6000-serien Nytt dual-GPU kort samt förbättrad Eyefinity-funktoin AMD ska lansera sin nya grafikkortserie under hösten, vilken går under kodnamnet "Southern Islands". Exakt vad detta innebär är ännu inte känt när det gäller prestanda eller vilka nya funktioner de kommer föra med sig. Prestandan av Radeon HD 6000-serien bör i alla fall vara bättre än Radeon HD 5000-serien men AMD kommer nog inte införa många nya funktioner i de nya korten. Det ryktas om att ingenjörerna istället fokuserar på att göra korten effektivare och fortsätter bygga på samma arkitektur som Evergreen, istället för att börja om helt från början. Den kinesiska webbsidan Cnbeta rapporterar om att Southern Islands-korten kommer innehålla en förbättrad version av Eyefinity samt en mer avancerad Universal Video Decoder, även kallad UVD. Det ryktas också om att AMD planerar att tillverka ett nytt flagskepp som ska ersätta Radeon HD 5970 på toppen. Kortet kommer precis som HD 5970 att bestå av två grafikprocessorer på samma kretskort. Strömförbrukningen av Southern Islands grafikprocessorer sägs vara lägre än de i Radeon HD 5000-serien och det nya flagskeppet ska dra under 300 W. Tumnagel
38.0°
0
AMD slopar 3DNow! Funktionen är överflödig i dagsläget AMD har under en längre tid kört med en konkurrerande teknologi till Intels MMX, vilken de kallat för 3DNow!. Företaget uppger nu dock att den tolv år långa perioden snart är över och teknologin kommer inte att inkluderas i framtida processorer. 3DNow! var alltså något som infördes under 90-talet och var en förbättrad version av Intels MMX instruktionsset som AMD utvecklade för att ge SIMD-instruktioner i hårdvara för enkla vektorprocessningsuppgifter. Teknologin dök först upp i och med AMD K6-2 serien och applikationer som hade stöd för 3DNow! kunde dra nytta av hastighetsökningar av omkring två till fyra gånger i vissa fall. Detta rörde sig ofta om grafikintensiva beräkningar. Detta ledde till att 3DNow! blev ganska populär bland spelutvecklare. Sedan AMDs processorer fått stöd för SSE så har dock 3DNow! blivit överflödig och AMD tar nu bort funktionen från sina processorer, vilket också gör att de inte kräver lika stor yta som tidigare. Två delar av teknologin kommer dock att finnas kvar och det är två funktioner som kallas för PREFETCH och PREFETCHW. Tumnagel
37.0°
0
XFX släpper singleslot Radeon HD 5770 En variant har 5 mini DisplayPort-kontakter Radeon HD 5700-serien har varit ett väldigt populärt grafikkort i AMDs senaste grafikkortsserie och är det fortfarande såhär 10 månader efter sin lansering. Grafikkortsserien bygger på Juniper-grafikchipet och det börjar dyka upp fler och fler unika designer av kortet. Ett företag som stått för många av dem är PowerColor, vilket jag skrivit om tidigare. Ett annat företag som nu släpper en speciell modell av Radeon HD 5770 är XFX. I likhet med PowerColors tidigare modell så har XFX senaste variant också en kyllösning som endast kräver en kortplats på moderkortet. XFX säger att deras kyllösning är 23,5 dB tystare än konkurrerande dualslot-kort. Dessutom så säger företaget att kortet har 15 % större yta av värmerören än den normala kylaren som ofta återfinns på HD 5770-kort. Det nämns dock ingenting om hur stor yta på själva kylflänsen är. Kortet kommer med 1 GB GDDR5-minne och beroende på vilken användning du tror dig komma ha av kortet så finns det två konfigurationer av utgångar för skärmar. Den ena består av två DVI-portar samt en mini DisplayPort medan den andra består enbart av fem mini DisplayPort-kontakter. Båda korten har stöd för Eyefinity vilket gör att du kan koppla in upp till tre respektive fem skärmar. Varianten med fem mini DisplayPort-kontakter verkar dock inte finnas till salu ännu men standardvarianten får du ge 180 dollar för, alltså något dyrare än dualslot-modeller. Tumnagel
37.1°
0
NAND-flash minne blir billigare Snart nere i 1 dollar per gigabyte igen Något jag tror de flesta vill ha i sin dator är en SSD för att snabba upp de flesta processer. Något som dock hindrar detta är det höga priset av enheterna men det kan komma att ändras under höstens gång. Priserna på NAND-flash minne har bara stigit under två års tid men mot slutet av 2010 ser det ut att komma tillbaks till nivån av 1 dollar per gigabyte, vilket anses vara en nyckel till att öka spridningen av SSDs på marknaden. Analytikerfirman iSuppli tror dock att sänkningen kan komma för sent för att rädda den redan kämpande SSD-marknaden. När NAND-flash minne föll under 1 dollar per gigabyte för första gången under 2008 så trodde många att det skulle vara startskottet för övergången till SSDs. Priset steg dock på grund av stark efterfrågan och låg produktionsnivå, vilket i sin tur begränsade SSDs till användning inom servrar och datacenter och fick inte den stora spridning man hoppats på. För att kunna konkurrera bra med mekaniska hårddiskar måste en 100 GB SDD ner till 50 dollar och det betyder att NAND-flash minne måste ner med 40 % i pris till 2012. Tumnagel
37.8°
0
fredag 20 augusti 2010 PowerColor släpper lågprofils Radeon HD 5750 Först ut på marknaden PowerColor har nu varit framme igen och släppt ytterligare en lite speciell modell av AMDs grafikkort och den här gången gäller det Radeon HD 5750. Företaget blir först med att släppa en lågprofilsmodell av kortet på marknaden och produkten har fått det ganska självklara produktnamnet PowerColor HD5750 Low Profile Edition. Den riktar sig mot HTPC-maskiner eller andra system där det är ont om plats, precis som alla andra lågprofilskort. PowerColor HD5750 Low Profile Edition sitter på två fläktar och en kylfläns som täcker hela kortet, vilket gör att det kyler GPUn, minnet och MOSFET samtidigt. Det gör dock att kortet fortfarande tar upp två kortplatser på moderkortet. PowerColor säger att de använder komponenter med hög kvalité, vilket inkluderar Dr. MOS och solid state kondensatorer. Kortet kommer ligga klockat på 700 MHz för GPUn och 1150 MHz för minnet, vilket i praktiken blir 4,6 GHz tack vare GDDR5. Utgångar på kortet består av HDMI, DVI och VGA och självklart kan det spotta ut Full HD-video, annars hade det inte varit värt att nämna som kort för en HTPC. Tumnagel
37.5°
0
Fusion-io dubblar kapaciteten av ioMemory PCIe-modulen Kan nu ha upp till 1,28 TB lagringsutrymme Fusion-io var först ut med att släppa en SSD baserad på PCIe-gränssnittet och de har nu tillkännagivit ännu en enhet baserad på samma teknologi. Den nya enheten innehåller MLC NAND flash som tillverkas med 30 nm-processen och den dubblar kapaciteten, vilken nu kan gå upp till 1,28 TB på ett enda PCIe-kort. Fusion-ios nästa generation av ioMemory moduler kan användas tillsammans med företagets nyligen lanserade ioMemory virtual storage layer (ioMemory VSL) och prestandan ligger då på nästan 300 000 IOPS samtidigt som att processorn behöver arbeta mindre än andra lösningar på marknaden. Fusion-io listar en del fördelar med sin produkt som kan ses nedan: *Guarantees data integrity in the event of power loss; *No failure-prone batteries or super-capacitors needed to protect in-flight data; *Fusionx27s self-healing Flashback protection that offers Fusionx27s proprietary, RAID-like chip-level redundancy; *Existing ioMemory deployments are field upgradable. Tumnagel
37.4°
0
torsdag 19 augusti 2010 Huang snackar Tegra och chipsets Framtiden är ARM men chipsets kommer nog inte tillbaka Det var ett tag sedan nu som Nvidias VD, Jen-Hsun Huang, uttalade sig överhuvudtaget men han gjorde nyligen en intervju med CNet News där han pratade om bland annat framtiden för Tegra och chipsets. När Huang pratade om CPU:er så sade han att företagets satsning ligger i ARM-baserade enheter och att det är deras strategi. Han sade att ARM är den snabbast växande processorarkitekturen idag och har dessutom bäst stöd för Android just nu. Android är dessutom världens snabbast växande operativsystem på marknaden så de två passar väldigt bra ihop. Huang sade också att deras roll i FTCs undersökningar var liten och han förklarade att kommissionen inriktar sig på anklagelser om Intels monopolistiska beteende medan Nvidias egna bråk med Intel rör sig om avtalsfrågor. Intels förhandlingar med FTC inkluderar dock frågor relaterade till chipset och angående detta sade Huang till CNet att Nvidias har lagt utvecklingen av chipsets bakom sig. "Skadan är redan gjord. Vi har stått utan en chipsetproduktion i över ett år och även om det löser sig nu så kommer vi inte sätta in de tusen ingenjörer vi en gång hade jobbandes med chipset". Tumnagel
37.0°
0
Toshiba visar prototyp på ny hårddisk Kallas för bit-patterned media Förra veckan föreslog Seagate att framtiden för hårddiskar kommer vara HAMR-teknologin. Nu har företaget också tillsammans med Hitachi och Western Digital gått samman för att forska kring framtida lagringsteknologier. Under tiden så har Toshiba nått ett genombrott alldeles själva och PC World rapporterar att företaget tagit fram ett bit-patterned media som förändrar lite i hur data lagras på på en hårddisk. I dagens hårddiskar ligger ett magnetisk material spritt på ytan av plattorna i hårddisken och datan lagras över flera hundra magnetiska kort. Man har nu dock kommit till gränsen för vad den teknologin klarar av. Bit-patterned media delar upp ytan i flera magnetiska bitar där varje består av endast ett fåtal magnetiska korn. Data lagras sedan i dessa magnetiska bitar och en bit kan hålla en bit av data. Bit-patterned media är dock inte helt nytt men det här är första gången som bitarna ligger på ett ordnat sätt. Toshibas prototyp ger en lagringsdensitet av 2,5 Tb per kvadrattum och är flera gånger tätare än dagens hårddiskar. Vi kan vänta oss hårddiskar av den här typen ungefär omkring år 2013, enligt Toshiba. Det är dock oklart om de första massproducerade diskarna kommer ha samma lagringsdensitet men den kommer i alla fall att vara större än dagens hårddiskar som väntas maxa ut omkring 1 Tb per kvadrattum. Tumnagel
37.6°
0
Intel köper säkerhetsföretaget McAfee Storaffär Processortillverkaren Intel kommer att köpa säkerhetsföretaget McAfee som för den breda massan antagligen mest är känt för sina antivirusprogram. Affären är godkänd av de bägge företagens styrelser och köpeskillingen ligger på 7,68 miljarder dollar vilket motsvarar ungefär 57 miljarder kronor. McAfee kommer att verka som ett helägt dotterbolag till Intel och med det här köpet så antar jag att Intel kommer att fokusera ännu hårdare på säkerhet i sina system. Med kompetensen man får från McAfee kommer vi säkerligen att få se ett säkerhetstänk som ligger hårt knutet till hårdvaran och som förhoppningsvis kan leda till att vi användare inte drabbas av lika mycket skadliga applikationer på mjukvarunivå. Tumnagel
37.0°
0
Nästa sida + Per månad 39 kr Betala löpande per månad. Ingen bindningstid. Starta prenumeration Per år 299 kr Enklast och billigast, bara 25 kronor i månaden. Betala löpande per år. Ingen bindningstid. Prova 14 dagar gratis innan du bestämmer dig. Starta gratis provperiod Engångsköp 349 kr Slipp återkommande betalningar, betala ett år i taget. Betala med kort eller Swish. Köp utan prenumeration